Alan Carter
Marx: A Radical Critique

Introduction: 1. From a Radical Point of View
1.1 The Schools of Marxist Thought
1.3 The Libertarian Communist Vision
History: 2. Karl Marx’s Theory of History: A Critique
2.2 Consciousness and the Economic Base
2.4 Further Aspects of Marx’s Theory of Revolution
2.6 The Social Implications of Technology
2.7 Developing the Historical Schema
2.8 The Sources of Marx’s Errors
Economics: 3. Crisis, Value and Profit
3.1 Marx’s Labour Theory of Value
3.3 Crises, Monopolization and Automation
3.4 An Alternative Theory of Value
3.5 Monopolies and the Complement Theory
3.6 The Complement Theory Further Refined
3.7 The Importance of Monopolization
Sociology: 4. Class, Class Struggle and Class Consciousness
4.2 A Single-feature Specification of ‘class’
4.4 Further Issues Raised by Roemer’s Account
4.5 A Multiple-feature Specification of ‘class’
4.8 Lukacs and Class Consciousness
Politics: 5. The State and Society
5.1 Hegel’s Influence on Marx’s Theory of the State
5.2 Some Objections to Marx’s Theory
5.4 Lenin’s Authoritarian Centralism
5.5 Qualifications on Lenin’s Authoritarianism Considered
5.6 Bakunin’s Critique of Marx
5.7 Summation of Marx’s Philosophical Errors
5.8 A Contribution to the Critique of Political Economism
Conclusion: 6. A Radical Alternative
6.1 Technology, Ecology and the Third World
6.2 An Alternative Theoretical Approach
6.3 A General Theory of Revolution
This book is dedicated to the memory of John,
whose imagination was an inspiration.
On the day they join us,
The world will live as one.
Acknowledgements
Any prolonged period of critical analysis invariably involves adopting an attitude of intellectual hostility. It is, therefore, somewhat cathartic at the end of such a period to have the opportunity to be able to express, not hostility, but gratitude. It is also sobering after a prolonged period of productive enquiry to end a project by acknowledging one’s indebtedness to others, rather than boasting one’s putative achievements. My debts and my gratitude are considerable. First, I should like to thank Jerry Cohen for his superb critical acumen, generosity and patient reading of my drafts, and Steven Lukes, for without access to his extensive knowledge an even more inadequate coverage of the theoretical terrain would have ensued. Second, thanks are due to Tom Bottomore, Sean Sayers, Chris Arthur and Andrew Glyn for their remarks on some of the issues discussed in this book. I am indeed grateful for their suggestions and criticisms. I should also like to express my thanks to Graham Gibbs and David Infield for many fruitful conversations on related topics. My greatest debt is to Lynne for her constant companionship. There should be no need to add that all ‘deviations’ and remaining errors are mine and mine alone.
Abbreviations
The following abbreviations are used in the text. Full details can be found in the Bibliography.
WORKS BY KARL MARX
18B: | ‘The Eighteenth Brumaire of Louis Bonaparte’ |
59P: | ‘Preface to A Critique of Political Economy’ |
C1: | Capital, Volume I |
C3: | Capital, Volume III |
CGP: | ‘Critique of the Gotha Programme’ |
CWF: | ‘The Civil War in France’ |
EPM: | ‘Economic and Philosophical manuscripts’ |
G: | Grundrisse |
JQ: | ‘On the Jewish Question’ |
PP: | The Poverty of Philosophy |
RIP: | ‘Results of the Immediate Process of Production’ |
SA: | ‘On Bakunin’s Statism and Anarchy |
WLC: | ‘Wage Labour and Capital’ |
WPP: | Wages, Price and Profit’ |
WORKS BY KARL MARX AND FREDERICK ENGELS
GI: | The German Ideology |
MCP: | The Communist Manifesto |
MY FAVOURITE THINGS
(With due apologies to Rogers and Hammerstein)
(And to Coltrane)
Red flags and red guards, professional vanguards,
Stalin and Lenin, and rule from the Kremlin,
The Central Committee has told me to sing:
‘These are a few of my favourite things.’
Strict iron discipline and militarization,
Subject the nation to centralization.
Deep in my conscience I hear someone say:
‘When will the state start to wither away?’
When the Tsar falls,
Commissar calls,
Or I’m feeling sad,
I simply remember from March to September
Freedom was to ...
Be had
Figures
2.1 The ‘mode of production’
2.2 ‘Contradictions’ in the social formation
2.3 The resolution of class conflict
3.1 Demand and supply
4.1 Varieties of exploitation
6.1 Prediction and workers’control
6.2 Structure and substructure
6.3 Two models of historical transformation
Tables
3.1 Northern land production before breakthrough
3.2 Northern land production after breakthrough
3.3 Southern land production after breakthrough
3.4 Increasing OCK and limited profits
3.5 Increasing OCK and unlimited profits
Introduction: 1. From a Radical Point of View
It is difficult to imagine that the radical Left in its present form will stimulate genuinely progressive social change. Within the capitalist world the Right are organized and united. They happily subscribe to a clear ideology, which is taking a firm grip on all sectors of industrial society. The Left, on the other hand, are disorganized, fractured and confused by violently conflicting and competing theoretical standpoints. Once, at the time of the First International, the theoretical competition within the Left occurred between Marxist and non-Marxist revolutionaries. Today, the battlefield is within Marxism itself.
This is not surprising. The realities of ‘actually existing socialism’ hardly offer an unqualified attraction. Instead, the inheritance of Marxist revolutionary strategy informed by Marx’s theoretical stance has forced the Left to think carefully about Marx’s system. Unfortunately, as is immediately apparent to all who have read Marx at any length, his writings are either inconsistent or sufficiently ambiguous to be open to differing interpretations. This distinction is unimportant; for, faced with inconsistencies amongst Marx’s pronouncements, the Marxist is free to eliminate any single inconsistent factor he or she chooses. And with different factors being ignored by different people, each intent to remove inconsistency in order to leave a coherent schema, different ‘Marxisms’ are created. So, whether it is due to differing interpretations or the attempt to remove inconsistencies, the result is the same: Marxisms have proliferated. And each Marxism offers its own reasons why its particular reading of Marx does not sanction ‘actually existing socialism’; or it at least argues why such socialism will improve.
We do not share such views. We hold Marx responsible for certain strategies which have produced and will continue to produce unattractive social formations. We are of the opinion that the problems endemic to ‘actually existing socialism’ are the result of quite fundamental features of Marx’s theoretical claims; and though not every feature is shared by every school of Marxism, enough are present in each school for us to oppose Marxist thought generally. The solution, as we see it, to the problem of left-wing disunity is neither the resolution of the conflicts generating different Marxisms and dividing the Left, nor the triumph of one variety of Marxism. It is, rather, the abandonment of the Marxian system itself. It is to this end and to the development of a truly alternative coherent theory that this radical critique is offered.
A radical critique of Marx distinguishes itself from a bourgeois critique primarily in terms of the ends that the critique serves. The major concern of a radical critique is not to deride Marx on the grounds that western capitalism is better than Soviet communism. Nor is it to point out that capitalism in the advanced countries has grown into something so much better than Marx predicted that it does not require any revolutionary transformation. Such bourgeois criticisms of Marx miss the mark. There is no doubt that, were he alive today, Marx would find sufficient things wrong with capitalism to be unimpressed by any attempt to defend it. For one thing, when defenders of capitalism frequently compare the socialist East with the industrialized West, they choose the richest and most liberal capitalist countries for the comparison. This is analogous to defending feudalism by drawing attention to the happy condition of the nobility, while forgetting that their wealth and leisure are the obverse of the poverty of their serfs. So, similarly, the rich capitalist countries are paraded as exemplars of a wholesome social order. However, when the West is acknowledged to be far from self-sufficient and is seen to be part of an international economic system which includes the exploitation of the Third World as a basis for the high standard of living experienced in the developed nations, or at the very least is seen to induce underdevelopment in other parts of the world, then it is this internationally exploitative system as a whole which must be compared with the socialist countries. And in this comparison capitalism (which must include Third World misery) does not fare so well.
But even this is beside the point. It is ultimately irrelevant to Marx whether capitalism is or is not a desirable system, because he claimed to have uncovered a dynamic which reveals its transitory nature. A bourgeois defender of capitalism can praise capitalist society as much as he or she likes, if Marx is correct in his belief that the capitalist epoch is drawing to a close, then such praise cannot provide the basis for a critique of Marx. A radical critique, on the other hand, by raising questions about the dynamic which Marx claims to have exposed and, consequently, by questioning the ability of Marxist theory to help deliver the revolutionary goods, strikes at Marx precisely where it would most hurt him. A successful radical critique would provide the opportunity for exploring effective, rather than doomed, revolutionary approaches. Such an opportunity is not provided by critiques from those who, in seeking to defend capitalism, desire only to reject Marxism without seeing how alternative revolutionary theories might not be subject to the problems within Marxism. And certain criticisms of Marx do not present themselves to those who are not concerned with developing a more adequate theory of progressive social change. The standpoint of the radical critic is one which can open up a new vista of problems in the work of Marx. These new problems revolve around the adequacy of Marx’s understanding of the dynamics of capitalist society with a view to transforming that society. And Marx, in desiring progressive social change, would be most impressed by a critique which demonstrated how his theory obstructed that change. Such a critique would strike Marxism at its very roots.
But what precisely is this ‘Marx’ which is to be criticized? It is not exactly the person called Karl Marx who was born in Trier on 5 May, 1818. That was a particular individual of a quite determinate existence. Our Marx lacks such specificity. For us, Marx, as the object of our critique, is the more indeterminate source of a corpus of theory with quite different interpretations. For each interpretation the source differs. Through the looking-glass of each interpretation and development in Marxist theory Marx is read in a different way. In the course of history Marx has, in true Hegelian fashion, progressively dirempted himself into distinct particulars within the totality of Marxism. This creates a difficulty for those wishing to find fault with Marx. For every Marx which is knocked down, another, like the mythical Hydra, is likely to raise his head. Given a limited space in which to oppose Marx, one has two options .Either one must examine the major interpretations of Marx and find some flaw in each of them, or one must search for common factors essential to each interpretation and subject those factors to criticism. We shall attempt to hedge our bets by adopting both courses of action as far as is practicable. This will allow us to attack certain key facets of the Marxian system in all its various manifestations and it will also allow us to raise specific objections to the major trends of Marxist thought. These trends will be approached through the foremost interpreters of Marx. In questioning their positions, we shall consider the central features not only of Marx’s own thought, but also of contemporary Marxist developments. In this way an attempt will be made to provide a comprehensive and systematic critique of Marxism from a radical point of view.
1.1 The Schools of Marxist Thought
The leading interpreters of Marx have generally fallen into four major schools of thought, with each school stressing a different mechanism of social transformation:
(a) where emphasis is laid on the primacy of the productive forces (this has been labelled the ‘mechanistic’ or ‘technological determinist’ school);
(b) where there is argued to be a dialectical relationship between the forces of production and (other) elements in the social structure (we shall refer to this as the ‘interactionist’ school);
(c) where emphasis is laid on the economy as the driving force (we shall call the adherents of this position the ‘economistic’ school); and
(d) where emphasis is laid on class struggle as being the ‘central dynamic’ of social change — the ‘class struggle’ school.
Clearly, to the extent that each school claims to focus upon the major element in the mechanism of social transformation, the schools are in conflict. However, if that claim is relaxed, then elements from several schools can easily be combined. Nevertheless, schools (a) and (b) appear to be in more fundamental opposition. Having said this, we can now outline how our critique of Marxist theory will proceed. We first assess the ostensibly competing claims of schools (a) and (b). This involves a general critique of Marx’s theory of history. Then we turn to school (c) and assess Marx’s economic theory. School (d) is discussed last, and this discussion bears on Marx’s sociology. However, the actual basis of Marx’s sociological position only becomes fully clear after a discussion of his political theory, which is the next area of concern. Finally, we indicate what an alternative revolutionary model to that of Marxism might look like.
Chapter 2 consists of a critique of Marx’s theory of history — historical materialism — and its application. We show that the emergence of a new dominant class (a ‘techno-bureaucratic’ one) is consistent with Marx’s premises. Such a class could easily block the realization of a desirable post-capitalist society. The discussion remains incomplete without some reference to Marxist approaches to ‘class’, and they form the subject of Chapter 4. Since, however, it is our contention that Marx’s economistic approach to class is partly a result of his attitude to the state, to see fully why the rise to power of a technobureaucracy was unforeseen by Marx we require a discussion of his theory of the state. This is provided in Chapter 5. The final chapter draws together our critique of Marx and suggests an alternative set of theories concerning historical transition, class and the state. We then discuss the relationship between the alternative set of theories and Marx’s, and conclude by showing how Marx’s epistemological position lays him open to a critique from the standpoint of the alternative theories we propose.
While examining some of the most important areas of Marxist discourse — philosophy of history, economics, sociology, political theory — common themes emerge throughout our discussion which provides a single overall picture of the deficiencies of Marxism as they appear from a radical perspective. Such an overall view suggests possible alternative and perhaps more salutary approaches to a critique of contemporary society, and may also suggest a more effective radical strategy than that offered by Marxism. However, every effort will be made to keep the critique of each area of Marxist discourse as distinct from each other as possible. If the criticisms offered were of too interlocking a nature, then a single fault in our analysis might be seen to undermine the whole endeavour. By discharging our arrows separately we ensure that if any should miss the target, the rest will still have to be dodged for Marxism to avoid sustaining any serious injury.
1.2 Marx and Hegel
Before we undertake this critique, the nature of our exposition will be clarified if one of our theses is spelt out in advance. It is our contention that the serious errors in Marx which we take to be of vital importance for those sympathetic to radical social change frequently have one point in common. They are more often than not induced by Marx’s relation to Hegel. Let us set the stage for the following analysis by indicating in general some of the ways that Marx’s ‘model’ derives from Hegel. This will help to reveal that, contrary to those who see Marx as primarily offering empirically-based theses subject to confirmation or refiitation, Marx actually rests his central arguments on a priori claims. Consequently, the most appropriate criticisms to level against him are philosophical ones. Such criticisms do not prove that Marx’s substantive theses are false, but they do establish that such theses are no better than empirical hypotheses and have no further extra-empirical grounding. This is not an irrelevant point to establish, as our concluding chapter spells out the limitations of Marx’s purely empirical hypotheses. So, contrary to popular beliefs about Marx’s system, Tt was not... ,’ as Robert C. Tucker remarks, ‘primarily through the study of economics that Marx was led to his economic interpretation of history; he came to it by the philosophical path’ (1964, p. 26). And that philosophical path originally followed in the footsteps of Hegel. Hence, if one is to understand Marx, it is necessary to understand his relation to Hegel. This, we might add, is also the case if one is to understand his mistakes.
The relationship between Marx and Hegel is not, however, unproblematic. Questions concerning this relationship have contributed to the formation of different philosophical trends within Marxism. For ‘Hegelian’ Marxists, the early writings of Marx inform his whole system of thought. And those writings are permeated throughout by the unmistakable influence of Hegel. Indeed, Hegel is the subject of much of Marx’s discussion during the period of his own theoretical development. But even here, Marx’s attitude to Hegel is not one of mere uncritical acceptance. In fact, employing Feuerbach’s method of transformational criticism in order to turn Hegel right-side up, Marx sought to criticize Hegel’s idealist standpoint so as to uncover what he deemed to be of seminal importance when situated in a materialist setting. Instead of focusing on an idealist Spirit (Geist), as Hegel does, the early Marx focuses upon humanity and its productive capacities. In the words of Tucker: ‘Marx’s first system... is a phenomenology of man constructed on the model of Hegel’s phenomenology of spirit’ (ibid., p. 165). As Marx himself exclaims:
Let us take a look at Hegel’s system. We must begin with his Phenomenology which is the true birthplace and secret of the Hegelian philosophy....
The importance of Hegel’s Phenomenology and its final result — the dialectic of negativity as the moving and producing principle — lies in the fact that Hegel conceives the self-creation of man as a process, objectification as loss of object [Entgegenstandlichung], as alienation and as supercession of this alienation; that he therefore grasps the nature of labour and conceives objective man — true, because real man — as the result of his own labour. The real, active relation of man to himself as a species-being, or the realization of himself as a real species-being, i.e. as a human being, is only possible if he really employs all his species-powers — which again is only possible through the cooperation of mankind and as a result of history — and treats them as objects, which is at first only possible in the form of estrangement (EPM, pp. 382–3, 385–6).
In Hegel’s system, Spirit alienates from itself an objective world of its own creation. Through the course of history, it is able to reappropriate that world and achieve knowledge. In Marx’s early system, it is man[1] who is alienated through creative activity — through his own form of production, through his own labour. The process of history concerns man’s alienation and then ultimate recovery of his labour and, with this being his essential quality, his humanity. Only in communist society is this alienation overcome. History is man’s slow progress towards wholeness, towards communism. However, it still remains to be seen how man will be able to transform alienated society into a communist one.
For Marxists of the French structuralist tradition, on the other hand, the early period is dismissed as a flirtation with Hegel. According to Louis Althusser, at this time Marx was only at a ‘humanist’ stage prior to an ‘epistemological break’ which would bring in the true Marxist phase. After the break Marx is no longer a humanist and has rejected the Hegelian elements, save one or two subconscious survivals from the past which fit incongruously into the new system (see Althusser, 1979).
Nevertheless, even this interpretation of Marx cannot, in all honesty, fail to notice the many features of his mature system which derive from Hegel, particularly The Philosophy of History. In these lectures delivered at Berlin, Hegel produces a ‘Philosophical History’ of the world. Such a history is not presuppositionless: it assumes that reason is at work in the world — ‘The history of the world...presents us with a rational process’ (Hegel, 1956, p. 9). Marx also seems to have regarded history as a rational process driven by an underlying mechanism — the ‘dialectic of negativity’. (On the ‘negation of the negation’ in capitalism, see Cl, p. 929.) Moreover, for Hegel, ‘inthehistory of the World, the Individuals wehavetodo with are Peoples; Totalities that are States’ (1956, p. 14). Similarly, for Marx, the objects of historical analysis are ‘totalities’: classes, economic structures and social formations.
Hegel considers the history of the world to embody the development of Spirit. But he makes the further claim that the development of Spirit is accompanied by the growth of freedom. Spirit involves the development of freedom through time:
The Orientals have not attained the knowledge that Spirit — Man as such - is free; and because they do not know this, they are not free. They only know that one is free.... The consciousness ofFreedom first arose among the Greeks, and therefore they were free; but they, and the Romans likewise, know only that some are free — not man as such.... The German nations, under the influence of Christianity, were the first to attain the consciousness, that man, as man, is free: that it is the freedom of Spirit which constitutes its essence (ibid., p. 18).
This general statement ‘supplies us with the natural division of Universal History, and suggests the mode of its discussion’ (ibid., P.19).
Marx, too, adopts an epochal periodization of history but, as a materialist, he bases each historical division on material factors. Whereas Hegel concentrates on the cultural and the political, Marx takes as his central concern the material production from which human beings fashion their world. Marx considers the history of the world to embody the development of the forces of production — in short, technological development. Stressing the relations of production (i.e. economic relations) which have divided humanity, Marx sees different methods of production as lying at the heart of each historical epoch. For Marx, the type of society studied in any historical period is defined in terms of the mode of production, e.g. feudal or capitalist.[2] But the historically developing modes of production have involved an increasing productive capability. As Marx sees the satisfaction of need to be a central feature of freedom (in contradistinction to the formal freedom of bourgeois society, as represented in Hegel’s philosophy of the state), the development of productivity provides the foundation for the growth of freedom through history. Hence, Marx can be seen to follow Hegel closely, except that freedom can now be understood in material terms, and only a revolution in the relations of production can turn bourgeois formal freedom based on rights into the genuinely productive freedom of communism, where humanity as a whole has control over nature.
The main question which Marx devoted his life to answering was how capitalist society would be transformed into communism. This is not a question which appeals to his bourgeois critics, but it is one which centrally concerns those of a radical persuasion. Marx’s complete answer to this question requires a theory of history, a theory of economics, a theory of class and a theory of the state. ‘Marxist theory’ should, therefore, be construed as a structure of particular theories. Each theory is significantly influenced by Hegel, as we shall see. And we shall also see that this influence is usually responsible for the major errors which Marx commits.
1.3 The Libertarian Communist Vision
What, though, besides the overcoming of scarcity, can be said about Marx’s vision of communism? It is important that right at the outset we have some conception of how Marx envisaged life in the coming post-capitalist society, because unless we know what it was that Marx valued in his hopes for post-capitalism we cannot assess the efficacy or appropriateness of his revolutionary strategy.
Marx was reluctant to commit himself on the subject of a future communist society — so there is not much to go on. There is, however, this famous pronouncement on the subject:
...in communist society, where nobody has one exclusive sphere of activity but each can become accomplished in any branch he wishes, society regulates the general production and thus makes it possible for me to do one thing today and another tomorrow, to hunt in the morning, fish in the afternoon, rear cattle in the evening, criticize after dinner, just as I have a mind, without ever becoming hunter, fisherman, herdsman or critic (GI, p. 54).
This passage needs clarifying. There are two crucial components: (i) ‘just as I have a mind’ tells us that it is the individual who decides his or her own activity; and (ii) ‘society regulates the general production’. What are we to make of (ii)? It could mean that, as regards the necessities of life, the decision-making body in society allocates work to each individual. But this contradicts (i). It could mean that a small part of the day is spent producing necessities and that the individual is then free to do as he or she likes. But Marx says it will be possible to ‘hunt in the morning, fish in the afternoon, rear cattle in the evening, criticize after dinner’. Assuming that sleep will not be forbidden in communist society, there is no time left for governed labour. Well, it could mean that technology will produce the necessities of life all on its own, or at least the necessary labour-time will be so reduced by technology that one will be free for most of the day to pursue one’s own interests (see Cornforth, 1968, p. 349). But fishing, hunting and rearing cattle are productive activities and provide necessities. If all the necessities of life are provided by individuals doing as they like, why is social planning needed? If all the necessities are not provided by individuals doing as they like, and if, therefore, developed technology is required to produce the remainder, who is to design, construct and service the machinery? And can it then be assumed that those individuals will be able to do as they like — especially when individuals doing as they like are not, on this view, thought to provide all that is necessary?
We might, then, reject all these interpretations as being inconsistent with the text. Clearly, the difficulty lies in the apparent irreconcilability between individual freedom and social planning. There are, however, two ways in which freedom can be maintained. The first is that all the necessities of fife will be produced as a result of each individual pursuing his or her own self-motivated, varying activities. Thus, production would be ‘socially’ regulated spontaneously by a large number of people frequently switching jobs and creating a ‘statistical’ effect leading to all the vital functions of society being fulfilled. But this is hardly how Marx can reconcile the antagonism between (i) and (ii). For one thing, Marx laid a great deal of stress on planning, yet this attempt at resolving the apparent contradiction looks more like an anarchy of production than a planned economy. And Marx is undoubtedly correct when he criticizes Proudhon’s tactic of issuing labour cheques. Under capitalism, the market regulates social production. It determines, albeit inefficiently and with deleterious consequences, that labour will be directed away from unnecessary and towards socially important tasks. Without the market, then merely to pay labourers the time they have worked would mean that there was no method of ensuring that all socially necessary labour was carried out, and no way of discouraging everyone spending too long in over-subscribed or unnecessary areas. Consequently, Marx would have to criticize the above attempt to reconcile (i) and (ii) because it is open to the criticisms which he directs against Proudhon.
Therefore, we must turn to a different attempt to reconcile the apparent contradiction. This involves greater stress being placed on the social regulation of production in the sense of conscious social planning. But the term ‘planning’ can cover a very wide spectrum indeed. On the one hand, it covers authoritarian state socialism and ‘techno-bureaucratic’ control over the ordinary worker; on the other, it covers much more libertarian possibilities. For example, relatively self-sufficient communes could engage in planning by means of a federal system which facilitated co-ordination between communes — the decisions being subject to ratification by each commune. Within such a commune, individuals could ‘hunt in the morning, fish in the afternoon’, etc. ultimately as each chose, but within the framework of a general plan that stated which activities were necessary, and that had been arrived at through a process whereby the commune eventually reached a consensus. As long as such communes were on a small scale so as to facilitate such a procedure, then the individual’s control over his or her own labour would be maximized without any loss with regard to planning. At one end of the planning spectrum we have a system like this which maximizes individual freedom so that one can claim that one labours as one has a mind to. At the other end, we have planning but no control over the labour-process by the labourer. Centralized state socialism embodying a distinct class of planners who are in control of the direction of the means of production minimizes individual freedom, individual control and direct democracy. It cannot be thought in any way to reconcile (i) and (ii).
Now, Proudhon was no doubt in error in originally basing his strategy for the overthrow of capitalism on a system of labour cheques. But it was he who developed the ideas behind a federal system of workers’ control. It was his mutualism that provides a solution to the problem of planning through direct democracy[3] which protects individual freedom. But for such direct democracy to work, for the individual to have any real control over the productive forces, for the individual to be able to labour just as he or she has a mind, then the immediate community must be quite small, and to facilitate switching from agricultural to industrial labour the distinction between town and country must be blurred. Considerable geographical decentralization is thus required. We do not say that such a vision is unrealistically utopian. There can be no doubt that it corresponds to Marx’s vision in The German Ideology, and that it has appealed profoundly to several generations of socialists. However, for it to be realized, for (i) and (ii) to be reconciled, then the movement towards rural/industrial synthesis and a corresponding decentralization must be within the possibilities of the dynamic of social change.
Interestingly, Marx in his later years (notably, in Volume ID of Capital) moved away from the image of communism portrayed in The German Ideology towards a less radical view of work:
The realm of freedom really begins only where labour determined by necessity and external expediency ends; it lies by its very nature beyond the sphere of material production proper. Just as the savage must wrestle with nature to satisfy his needs, to maintain and reproduce his life, so must civilized man, and he must do so in all forms of society and under all possible modes of production. This realm of natural necessity expands with his development, because his needs do too; but the productive forces to satisfy these expand at the same time. Freedom, in this sphere, can consist only in this, that socialized man, the associated producers, govern the human metabolism with nature in a rational way, bringing it under their collective control instead of being dominated by it as a blind power; accomplishing it with the least expenditure of energy and in conditions most worthy and appropriate for their human nature. But this always remains a realm of necessity. The true realm of freedom, the development of human powers as an end in itself, begins beyond it, though it can only flourish with this realm of necessity as its basis. The reduction of the working day is the basic prerequisite (C3, pp. 958–9).[4]
But in ‘leisure’ people are frequently productive. Why should this productivity be separated from the production of society’s requirements? Why should freedom ‘as an end in itself not, at the same time, be a means to the satisfaction of a need?
What is more, the unemployed in Britain today have most of their basic needs met, but their increased free time is hardly a boon. This is not to say that increased free time is undesirable, but it is not the case that it is desirable no matter how it is filled. This is demonstrated in the frequently heard call by the unemployed to be allowed to engage in productive activity. Marx’s later approach to production involves too rigid a bifurcation between work and leisure. Instead of concentrating on the need for meaningful and rewarding productive activity, Marx calls primarily for increased technological development. Unfortunately, as we shall later argue, his belief in a technological basis for freedom and socialism sets the stage for a work process controlled by experts who are required to manage the technology efficiently and develop further the supposed material conditions of freedom as an end in itself.
As a result, the workers themselves might lose control of the production process, which would fall into the hands of a new techno-bureaucratic class. The problem is generated by the approach Marx takes in Volume UI of Capital, but attenuated by the ‘mutualist’ approach which, we have argued, is consistent with the vision of communism found in The German Ideology. If freedom, instead of being restricted to leisure time, is to be realized by homo faber in meaningful productive activity, then the technology employed must be conducive to the worker’s own control and must be a means for his or her individual and social expression. Marx’s later conception of freedom as divorced from the labour-process results in the demand for high technology, management, specialized technologists for developing the technology, and control over the workforce (see Engels, 1969b, p. ’STI’). But with the exclusion of freedom from the labour-process and the alienation of the worker from technology, why should the increased free time (assuming that the new class in control of production allows it) be any better than that in capitalist society? Ironically, by relying on technological advance to deliver freedom, Marx in his later period seems less realistic than in his earlier ‘utopian’ one.
In order to show how unrealistic Marx’s approach to human liberation actually is, we must study his account of historical transition in some detail. One point, though, must be made in advance if the thrust of our critique is not to be misunderstood. James Burnham, in his influential work The Managerial Revolution, criticizes Marxists in a manner which prima facie bears similarity to some of the criticisms we shall entertain. What is more, he too is provoked by the realities of ‘actually existing socialism’. And we are in agreement with him about one Marxist assumption which needs to be rejected: that the only alternative to capitalism is socialism (see Burnham, 1942, p. 39). We agree that between them, capitalism and socialism do not exhaust all the possible social forms of the near or not so near future. However, Burnham attempts to demonstrate this point empirically (see, for example, ibid., p. 46) by drawing attention to the actual emergence of a new ‘managerial’ society in Russia. Our critique of Marxism may also contemplate the possibility of managerial society, but it does not do so because of empirical evidence; it does not reject Marxist theory because Marxist premises or predictions fly in the face of the facts. Our methodology is different. Our critique is not empirical, but ‘immanent’: it operates on a theoretical level. The reason for this approach and why it is a superior one is clarified in our conclusion to this critique. For the present, suffice it to say that it is not so much the empirical problems which the world contingently presents to Marxism that concern us but, instead, the internal deficiencies of Marxist theory.
So, with these various points in mind, let us now explore a radical critique of Marxist theory.
History: 2. Karl Marx’s Theory of History: A Critique
At Marx’s graveside, Engels delivered this assessment of Marx’s contribution to scientific thought: ‘Just as Darwin discovered the law of development of organic nature, so Marx discovered the law of development of human history... ,’(1970e,p. 429). In this chapter we hope to demonstrate not only that this claim is questionable, but that, even if it were true, the optimism about historical progress which Marxists have traditionally shared is quite unwarranted. This will involve some initial difficulty because, in response to the problem of what are the determining factors with regard to historical change and how they can be adequately theorized, there are two major conflicting Marxist schools of thought: (a) the ‘mechanistic’ or ‘technological determinist’ school; and (b) the ‘interactionist’ school. Let us begin, then, with the first claimant to the possession of Marx’s theory of history.
2.1 The Mechanistic School
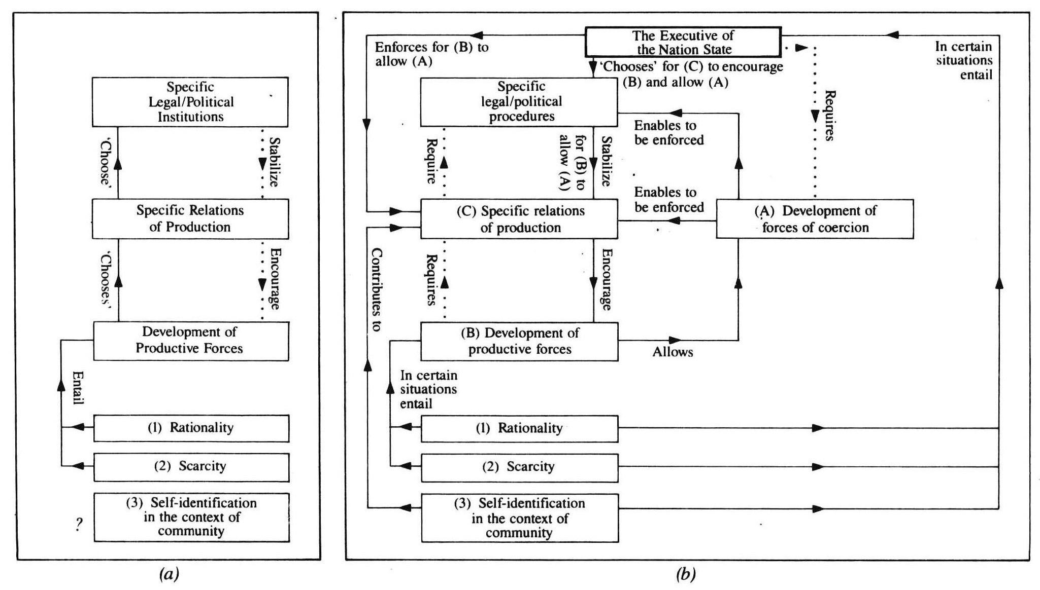
By stressing the explanatory primacy of the forces of production, G. A. Cohen would appear to be an adherent of the mechanistic school. According to Cohen, Marx believes that the development of the productive forces explains social change (see Figure 2.1c,[5] where the forces of production drive the relations of production, which in turn drive superstructural change). And the 1859 Preface, one of the most often quoted of Marx’s writings, would seem to support the view of this school:
In the social production of their life, men enter into definite relations that are indispensable and independent of their will, relations of production which correspond to a definite stage of development of their material productive forces.... At a certain stage of development, the material productive forces of society come in conflict with the existing relations of production, or — what is but a legal expression for the same thing — with the property relations within which they have been at work hitherto. From forms of development of the productive forces these relations turn into their fetters. Then begins an epoch of social revolution. With the change of the economic foundations the entire immense superstructure is more or less rapidly transformed (59P, p. 389. See also PP, p. 103; WLC, p. 80; even G, p. 88).

But if school (a) occupies a strict technological determinist position, then there seems to be some conflict with what Marx writes in another famous work: ‘The bourgeoisie cannot exist without constantly revolutionizing the instruments of production and thereby the relations of production, and with them the whole relations of society’ (MCP, p. 83). Clearly, the forces ofproduction are developed because of bourgeois relations of production.[6] Hence, social elements must act back on the productive forces. It is not merely that the productive forces continue to develop (through a stimulus of their own), but that their development is related to economic relations. This would suggest that the interactionist school offers a more consistent and fruitful interpretation of Marx.
What is more, mechanistic Marxism fails to account for many crucial aspects of the industrial revolution. According to David Dickson, the handloom weavers were brought into the workshops so that merchants could exercise greater control over the markets and minimize embezzlement. Dickson points out that ‘many of the new machines were developed and introduced only after the weavers had been concentrated into the factories’ (1974, p. 74). As Marx would appear to be aware of this phenomenon (see Cl, p. 503), either the ‘vulgar’ technological determinist interpretation is erroneous, or we should have to conclude that Marx does not notice that events of which he is aware contradict the general statement of his theory.
However, Cohen’s version purports to allow for economic relations influencing the productive forces. It professes to be able to do so because of the way in which it conceives of the explanatory primacy of the productive forces. Cohen’s primacy thesis states that ’the nature of a set ofproduction relations is explained by the level of development of the productiveforces embraced by it (to a far greater extent than vice versa)’ (Cohen, 1978, p. 134). But how exactly do the forces have explanatory primacy, yet at the same time respond to the relations of production? Cohen answers: ‘If the relations suit the development of the forces, they obtain because they suit the development of the forces’ (ibid, p. 161). In other words, ‘the bare fact that economic structures develop the productive forces does not prejudice their primacy, for forces select structures according to their capacity to promote development’ (ibid.,p. 162).
But how could the claim that the forces of production select relations which are suited to the development of the former be established? Consider the case which Dickson draws attention to. It is quite conceivable that if the weavers had not been concentrated into the workshops because of the economic motives of their employers, then an even more productive cottage industry might have arisen. But this too would have allowed Cohen to claim that the cottage industry relations of production were chosen because of their suitability to technological advance. As long as there has been technological progress, then Cohen can claim that the relations suitable for that progress where chosen. Cohen’s claim looks, therefore, to be rather emptier than it at first seems.
Moreover, an alternative account to Cohen’s can easily be proposed: the economic relations select forces according to their capacity to promote the relations’ development[7] (or, at least, their preservation). Given such a proposal, what comes first in the race for explanatory power, the forces or the relations? And as the articulation of the relations and the superstructural institutions poses the same problem, we could similarly ask: What has explanatory primacy, the relations or the superstructure? There is a case which would strongly suggest the latter. Ironically, it is a case which Cohen acknowledges, but not in this context. He points out that in non-genuine socialism
a dictatorship might for some reason seek to maintain labour constant [rather than increase leisure time], even in conditions of affluence, for example out of fear that people with free time would be more difficult to rule. But this would be political choice, not, as with capitalism, a dictate of the impersonal logic of the economic system (ibid., p. 315).
On the other hand, it might be a dictate of the impersonal logic of the political system (see Wright, 1983, pp. 91–2). And that a dictatorship might enforce increased production shows that politics is as relevant a factor as economics.
Cohen ignores such an objection because the economically-motivated development of the forces accords with human rationality (whereas it might be thought that the politically-motivated development in our counter-example does not). Cohen claims that the development of the forces of production, which according to his development thesis tend to develop throughout history, occurs because in a situation of scarcity it is rational for human beings to develop those forces. Hence the development has its own inner logic and explains the relations of production which are chosen to facilitate that development. But this could only render the economically-motivated development superior in explanatory ability to the politically-motivated one if the mass of people are in some way in a position to choose their economic relations. If the people are not free to reject their economic relations at will, then what relevance is the ‘rationality’ of developing the productive forces and meeting scarcity? If the people are not free to reject their economic relations, then they will be forced to live even under an ‘irrational’ system.[8]
Cohen might reply that his elaboration of Marx’s theory of history is a functional explanation of a Darwinian kind. In the long run, ‘irrational’ societies (i .e. societies which could not or did not meet the scarcity faced by the majority of their members) would be outclassed by ‘rational’ ones (i.e. societies which did meet such scarcity). But an ‘irrational’ society which was more effective in developing military might than in meeting the scarcity endured by the majority of its people could easily be the most successful society and the one which, ultimately, survived.
As the economistic drive to development in capitalism is not in fact the result of any need by the owners of the forces of production to meet scarcity, but is instead fuelled by competition, then economic relations under capitalism can be regarded as explaining the development of the forces: it is not reason, but economics, which underlies their development. And in authoritarian socialism (from Cohen’s own example where the state maintains long working hours and, perhaps, distracts the proletariat with consumerism), the political appears to have explanatory primacy because it can engender the development of the productive forces beyond meeting scarcity in order to stabilize its rule. Politics determines production! Remarkably, this example of authoritarian socialism shows Cohen at his most politically perceptive. Unfortunately, it appears to undermine his primacy thesis. And with the primacy thesis put in question, school (a) no longer offers a convincing theory of history.
However, Cohen has since redefined his position as one of restricted historical materialism (see 1984, pp. 3–31). This claims that not all major non-economic phenomena are superstructural, and that only superstructural phenomena need be explained by the development of the productive forces. Although this redefinition does not bear upon the relationship between the productive forces and the relations of production, it does concern the relationship between the superstructure and other parts of the social formation. Can this retreat from inclusive historical materialism (which claims that the development of the base ‘explains the principal features of other, noneconomic or spiritual, developments’; ibid., p. 26) save the ‘mechanistic’ school? We think not. In order to maintain his allegiance to historical materialism, Cohen insists that ‘social and cultural phenomena which are neither material nor economic...can have material and economic effects, but they must not completely block or substantially divert or entirely direct the development of the productive forces, or the transformations of economic structure associated with that development’ (ibid., pp. 10,28). Our example of a political motivation for and consequent direction of the development of the productive forces challenges even this later more confined thesis. Furthermore, Cohen notices that
there is a human need to which Marxist observation is commonly blind, one different from and as deep as the need to cultivate one’s talents. It is the need to be able to say not what I can do but who I am, satisfaction of which has historically been found in identification with others in a shared culture based on nationality, or race, or religion, or some slice or amalgam thereof (ibid., p. 8).
But this might involve the backing of the nation of Volk which one identifies with in its quest for expansion. Consequently, the situation of the state in a system of competing states (see Skocpol, 1979, p. 22) could provide the stimulus for and the direction of the development of the productive forces needed for military adventures. One possible example of this is the military stimulus to German industry in the 1930s. This could be regarded as a clear counter-example to Cohen’s thesis that the productive forces develop due to human rationality without social or cultural phenomena diverting or entirely directing their development. And surely, a policy of Lebensraum for the Volk does not have to be chosen because it is functional for the development of the productive forces.[9]
On the other hand, for Cohen, the motivation behind the development of the productive forces is the wish to reduce undesirable toil. As he writes: ‘Here is what we understand by scarcity: given men’s wants and the character of external nature, they cannot satisfy their wants unless they spend the better part of their time and energy doing what they would rather not do, engaged in labour which is not experienced as an end in itself (1978, p. 152). But this can be achieved in at least two ways: by developing productive machinery; or by military conquest. If one identifies not with humanity, but with a class, folk or nation, then the conquest of others might be argued to fit Cohen’s rationality thesis because the conquerors can force the conquered to work longer hours and consume less than they would ordinarily, thus meeting the scarcity faced by the conquerors. In which case, the development of technology, if it meets and if it is needed to meet not world-wide human scarcity, but nationalistic, military requirements, means that historical materialism hardly leads us to expect the future liberation and equality of mankind.
So, how are we to characterize German expansionism? Either the development of the productive forces because of military purposes tied to cultural identification and goals is culturally inspired and contradicts the proviso that ‘cultural phenomena... must not... substantially divert or entirely direct the development of the productive forces’, and historical materialism fails; or German expansionism, being a means to reduce German toil, is compatible with the rationality thesis, and historical materialism does not guarantee human emancipation.
Unfortunately, matters are not quite as simple as this. By stating what would falsify historical materialism, Cohen appears to be answering Karl Popper’s objection that Marxist claims are often unfalsifiable (see Popper, 1972). However, if historical materialism is a theory of epochal transition and does not have to explain all intra-epochal change, then its defenders can reply to our counter-example of Germany in the 1930s by saying that Fascism does not constitute a new historical epoch. As no criteria have been stipulated which would enable us to ascertain what is and what is not a new epoch, then defenders of historical materialism can reply to any recent counterinstance by saying that it does not challenge historical materialism, because no new epoch has arrived. This would prevent historical materialism from being falsified by any event which occurred since the dawn of the capitalist epoch. Also unfortunately, drawing attention to this particular problem of unfalsifiability is a rather weak criticism of historical materialism, as it stands only so long as it takes a defender of historical materialism to stipulate some criteria for specifying post-capitalist epochs. The interesting problem is: how are we to challenge Marx’s theory of history when present events (in particular, the experience of ‘actually existing socialism’) seem unable to refute it?
Fortunately, we are still in a position to challenge Marx, because he not only held the view that historical materialism is true but also that historical materialism allows one to predict the emergence of a desirable post-capitalist society. We shall attempt to demonstrate that Marx cannot hold both views simultaneously. Now, the example of Germany in the 1930s either does or does not falsify historical materialism. We have three plausible ways of dealing with this example. One leads to the falsification of historical materialism, the other two do not: Option 7 — if the German economy was transformed because of culturally-inspired change, and if historical materialism in fact purports to explain both intra-epochal and epochal change, then historical materialism is falsified whether or not Fascism is a new epoch. Option 2 — if German expansionism is economically explained, historical materialism is not falsified; but then, the growth of nationalistic sentiments prevents us from being certain about the emergence of a desirable post-capitalist society, especially if economic development is used to conquer others. Option 3 — if German expansionism is culturally explained but it does not involve the transition to a new epoch, and if historical materialism only explains epochal transition, then historical materialism is not falsified (but it must successfully predict a desirable post-capitalist society if both of Marx’s views are correct).
With options 1 and 2, school (a) offers little hope for the radical Left. Option 3 will be dealt with in due course. First we must turn to school (b).
2.1 The Interactionist School
Georg Lukacs noticed, while examining the transition from the Roman Empire to the Middle Ages, that ‘the crucial change in the direction of technical development was based on a change in the economic structure of society: the change in labour potentialities and conditions’ (Lukacs, 1966, p. 30). He considered the development of the productive forces as only one moment of social change. Certainly, the development of the productive forces shapes society, but exactly which new productive forces are developed and implemented depends on the existing social relations in society. There is a dialectical interplay between forces and relations of production. Only productive forces considered to be suitable for the ends of the ruling elite are introduced.
Lukacs goes so far as to acknowledge that what Marxists commonly call superstructural elements, such as legal and political institutions (see Figure 2.1a), are capable of significantly affecting the economic base of society (ibid.). The interactionist interpretation of Marx would appear to fit history better than school (a), since it would allow for the fact that certain technologies are often not introduced because of beliefs about their social, political or economic implications. And there is some support for an interactionist reading of Marx in Engels’ later letters: for example, to Bloch of 21 September 1890, in which he states that Marx and he had overstated the importance of the economy because it had been underplayed by other theorists, and in which he talks of an interrelation between the economic base and ideological superstructure (although he does say that it is ultimately the economy which asserts itself).
But if one accepts a relationship of interaction between base and superstructure, as Lukacs appears to do, then a difficulty raises its head. In the 1859 Preface Marx writes that the economic conditions of production can be ascertained with scientific precision, whereas superstructural elements cannot. If the superstructure acts back on the base, and if that very same superstructure is relatively indeterminate, then problems may arise in accurately predicting the direction of historical change, because a contributory factor cannot be measured with any degree of certainty. It all depends on how significant a contributory factor the superstructure happens to be.[10]
A further difficulty arises when school (b) attempts to introduce a dialectical relationship between base and superstructure into its formulation of the concept of a mode of production. This problem is shared by western Marxism in general. As Frank Parkin explains:
The model of the social system favoured by contemporary western Marxism is one in which all elements are intricately related, so that the meaning and significance of any one element derive from its place in the total configuration — rather in the way that any one dot in apointilliste painting only ‘makes sense’ in relation to all the other dots that make up the complete picture. The mode of production is no longer one important element among others; it has become the total gestalt (Parkin, 1981, p. 7). The general problem with this model is, as Parkin makes clear, that in this intricate scheme of things nothing can be known or explained until all is known, parts cannot be analysed until the totality is analysed. Everything reacts to and feeds back upon everything else, so bringing about the unification of those two domains once known as base and superstructure. In the process, Marxism’s key explanatory concept turns into nothing more than a synonym for the social structure itself, occasionally masquerading as one of its principal parts (ibid., pp. 7–8).
Perhaps the most sweeping response which might be made is suggested by Raymond Williams, who criticizes not only the mechanistic reading of Marx’s base/superstructure distinction but also the interactionist one. Williams objects to Engels’ remarks on base and superstructure in a manner which is equally applicable to mechanistic Marxism:
...what is wrong with it is its description of these ‘elements’ as ‘sequential’, when they are in practice indissoluble: not in the sense that they cannot be distinguished for purposes of analysis, but in the decisive sense that these are not separate ‘areas’ or ‘elements’ but the whole, specific activities and products of real men (1977, p. 80).
For Williams, the base/superstructure distinction is metaphorical, not conceptual, and it is a mistake to believe that Marx meant it to refer to distinct and enclosed spheres of activity.
However, though Williams offers an interesting interpretation of Marx, it is nevertheless a misinterpretation. This becomes obvious when one asks why Marx developed what he wrote in the 1859 Preface; for it is only by asking this question that it becomes unmistakably clear what it is that he wrote in that Preface. And the answer to the question as to why he wrote what he did must, if one is a Marxist, include reference to the way that Marx’s experience was historically situated. When this has been accomplished, it is readily seen that Williams commits two unMarxist errors: he fails to consider the historical basis of the production of the 1859 Preface; and, for all his stress on processes, he fails to see the Preface as a thesis about the process of revolutionary change. What, then, is the historical setting for Marx’s production of the 1859 Preface?
Marx’s consciousness developed in the penumbra of the French Revolution. There can be no doubt that the Revolution of 1789 occupied a central place in his thought. From his interpretation of those momentous events, Marx produced a model which he thought applied to all transformations from one historical period to another. It could therefore be used to predict certain things about future revolutionary transformations of society. What, then, was Marx’s interpretation of the French Revolution?
Marx was of the opinion that French society was formerly divided into two broadly-conceived classes: feudal lords and serfs. At some date, a bourgeoisie sprang up with a corresponding proletariat. This bourgeois class soon supplanted the feudal lords in terms of economic power, but they did not yet hold political power. Nor was the legal structure completely to their favour. Land was not alienable under the feudal system, and this restricted the full development of a market economy which was most suitable to the developing bourgeoisie. In Marx’s view, the French Revolution embodied the seizure of political power by the rising economic class and the creation of the legal structure most suitable to the expansion of capitalist relations. There can be no doubt that the 1859 Preface describes the general features of the French Revolution, under this interpretation of them.
What such an interpretation of the French Revolution clearly reveals is that Marx believed that one sphere of society — the economy — could have within it developments which were not directly mirrored by other spheres. The political sphere and the legal sphere lagged behind that of the economic. Such a lag only makes sense if these spheres are distinct. Williams’ reading of Marx is, therefore, unsuitable.[11] It fails to see the Preface as a theory of revolution (a theory of history) that involves certain claims about a dynamic within one sphere leading to changes in other spheres which, as a mode of production draws to its close, have temporally lagged behind it. And Williams has failed to read the Preface in this way because, paradoxically, he has approached the Preface as if it were the work of a disinterested scientist who was merely curious as to the synchronic structure of society, rather than seeing it as Marx’s theoretical response to the challenge of understanding the process of revolution — a challenge thrown up in Marx’s time, and a challenge promising future liberation.
But if Marx’s theory of history claims that the economic develops and the political has to change in order to correspond to it, then is it the case that the economic will necessarily develop in a manner which will demand a desirable political system? This question is especially relevant if school (b) is right in claiming that the political significantly affects the direction of economic development. However, in order to remain Marxist, even the interactionist school admits some degree of primacy to the economic, even if it is only primary ‘in the last instance’. But what does ‘the last instance’ mean? If the economic is not ultimately significant, then Parkin’s criticism is well stated. Moreover, it becomes difficult to see what is distinctively ‘Marxist’ about such a view. If, on the other hand, ‘the last instance’ means that the economic is ultimately significant, then school (b) falls under the same three options as school (a). Options 1 and 2 have been dealt with. But before we deal with option 3, we need to ascertain why Marx regards the economy as the material base of society and other factors as constituting the ideological superstructure (a term which suggests that they might be little more than epiphenomena). It is evident that Marx needs to be able to distinguish between material and nonmaterial factors if he is to use the term ‘material’ meaningfully. But why should economic factors be chosen, and what grounds are there for assuming that they are primary in some way?
2.2 Consciousness and the Economic Base
One important reason, we suggest, why the economic ‘base’ is considered to be basic is because Marx criticized the ‘Utopian Socialists’ and others for proposing ideas which appeared to offer little stimulus for changing the world. Marx not only sought to root his arguments in the material conditions then in existence, he also believed that changes in material conditions resulted in changes in the legal and political superstructure, and that the base has an impetus for change which the superstructure lacks. (The latter gives the appearance of being relatively stationary, while the base seems to be constantly changing as new productive techniques arise.)
In other words, the base is basic because it changes under its own dynamic, whereas superstructural elements appear to be either relatively static, or change as a result of transformations in the base and lag behind them. And even with the interactionist school, if the base and superstructure do interact, the whole structure can be changed by a relatively independent propulsion from the economic sphere. All his becomes clear when one bears in mind that support for Marx’s general thesis concerning the primacy of the base is to be found in his understanding of the French Revolution — a revolution where a change in economic conditions apparently demanded a change in the political structure.
Now, the briefest, yet most explicit, exposition of Marx’s theory of revolutionary transformation is given in the 1859 Preface. However, there is one apparent intrusion into the theory. Marx claims that consciousness is determined by being, and not vice versa. This pronouncement does appear to intrude rather into the general theory which states simply that the economic structure changes and then political institutions follow suit. But as it is in the theory of revolutionary transformation that Marx is able to distinguish himself from Utopian Socialists and anarchists, then the remarks on consciousness are a necessary intrusion. Marx has claimed to isolate the mechanism whereby a revolutionary transformation will take place in the future. The Utopian Socialists, on the other hand, rely on moral critiques of capitalist society and visions of a better world. But it is clear that such socialists believe that their visions and critiques could spur on revolutionary activity. Only if this is not the case can Marx realistically claim to have bettered his immediate socialist predecessors. It is here that Marx’s remarks on consciousness play an indispensable role.
Marx arrived at the conclusion that economic factors, rather than consciousness, are necessarily of prime importance. But he did not do so as a result of a thorough assessment of empirical data which showed how ‘ideological’ elements were invariably determined by movements in the economy. Instead, he arrived at this conclusion by means of an a priori deduction. Marx rejected Hegel’s stress on ‘superstructural’ elements, because he saw these as themselves resting upon material conditions. As Engels explains:
History was for the first time placed on its real basis; the palpable but previously totally overlooked fact that men must first of all eat, drink, have shelter and clothing, therefore must work, before they can fight for domination, pursue politics, religion, philosophy, etc., — this palpable fact at last came into its historical rights (Engels, 1970a, p. 372).
Marx relied on this argument from at least The German Ideology onwards. As late as Capital (in a passage made much use of by Louis Althusser) he points out in defence of his ‘materialist conception of history’ that the ancient world could not live on politics, nor the feudal period on religion. Hence, as important as politics and ideology were in those periods, the economy was nevertheless determinant (see Cl, pp. 175-6n).
This is a remarkably poor argument. That humanity must eat in order to think is no doubt true. But it is no less true that humanity must think in order to eat! One or two individuals might get away with being fed by others and survive without thinking, but the human species could not do so for long. For human society to reproduce itself people must plant crops, build houses, etc. — all of which require planning and thought. Moreover, it is done with certain conceptions in mind[12] and within the confines of certain social practices. Such practices are not merely economic but are also, usually, either political or religious or both. If mental preconceptions are necessary for humanity to feed, shelter and clothe itself, why should these, by the same token, not be the substructure upon which the economic base is founded? In any case, why should the necessity of Marx’s base necessarily explain the character of those spheres for which it is necessary? As M. M. Bober aptly points out: ‘To write a book, one needs paper, pen and ink; but paper, pen and ink do not explain what is in the book’ (1950, pp. 317–18).[13]
The underlying thought in Marx’s theory is that if humanity is to reproduce itself and its society, then it must engage in material production. Because material production is necessary it determines the nature of society. But we can reply that society is also reproduced through its ideological and political practices. It is, therefore, reproduced by factors other than production.[14] Certainly the next moment of society is produced, but not just by the production of food, clothing and shelter. Perhaps Marxists are so confident that social production is primary, because they fail to distinguish the production of society (in the sense of the creation or re-creation of social forms) from social production proper, that is labour in a social context?[15]
Nevertheless, believing that he has established that productive labour is of primary importance in the reproduction of social forms, Marx points out that in order to produce the means of subsistence, individuals are forced to enter into economic relations. Assuming this to be the foundation of society as a whole, and philosophy, conceptions of rights, in short, ideology to follow from this economic base, Marx concludes that when economic relations change, consciousness changes too: ‘The mode of production of material life conditions the social, political and intellectual life process in general. It is not the consciousness of men that determines their being, but, on the contrary, their social being that determines their consciousness’ (59P, p. 389).
Why is this claim about consciousness necessary for a general theory about economic changes requiring political changes? Because if a change in consciousness can occur relatively independently of a development in the productive forces, and if it can engender a subsequent change in the economic structure, then the Utopian Socialist procedure might be perfectly valid. For Marx to refute Utopian Socialism, changes in consciousness (which did not themselves arise because of economic developments) must not explain changes in the economic structure. It is precisely for this reason that Marx must introduce his remarks on consciousness into the general statement of revolutionary transition. But his a priori arguments concerning the explanatory primacy of the base fail. And there is no a priori reason to think that because I must first have worked at something before I had time to think, I must later come to think in a way determined primarily by that work.
We must, therefore, suspect that Marx’s rejection of Utopian Socialism is unfounded. It might be objected, however, that although Marx’s a priori arguments do not do the job required of them, the objection to the approach of Utopian Socialism does not have to rely on a priori arguments. This is true. It is, after all, the factual claim that changes in the economy precede changes in the ‘ideological superstructure’ which the French Revolution apparently endorses. But what kind of empirical arguments can Marx offer to demonstrate in advance that the next revolution could not arise, not because of a change in the economy, but because of a non-economically-moti vated change in the consciousness of a significant proportion or structurally crucial sector of the population? And, in actual fact, there is little empirical evidence to support Marx’s general thesis from the transitions from one mode of production to another prior to that from the feudal to the capitalist epochs.
Perhaps the primacy of production over consciousness is plausible because the role one occupies causes one to think in a certain way (see Cohen, 1974, passim)? The economic structure entails that certain roles are occupied. Perhaps the benefits or inconveniences accruing to the occupier of a role explain how he or she will think? If so, changes in the economic structure could be thought necessary for a revolutionary consciousness to arise. But there is not only an economic structure consisting of economic relations, there are also political relations, religious relations, and so on with their own respective structures. Why should political or religious roles not be just as explanatory of consciousness? And how could it be ascertained empirically that even if economic roles are at present the most important determinants of consciousness, they will continue to be so? And how could it be demonstrated empirically that even if political (and religious) developments have up to now followed from economic ones, then the explanatory order will remain the same in the future?
Lacking empirical proofs Marx resorts to a priori deductions. But the remarks on consciousness have introduced so much controversy into the theory as to have engendered conceptual chaos. The most obvious problem which arises involves the apparent intrusion of ostensibly superstructural elements into the base. For example, advanced production techniques are based on scientific knowledge, yet this is surely ideal — hence superstructural. Legal conceptions intrude into how production is organized, so how is the base to be distinguished from the superstructure (see Nozick, 1974, p. 273n)?[16]
We can advance a further problem. Marx focuses upon commodity production when he explains the way in which labour produces the means of its own subjection. But at the heart of commodity production is exchange. Yet exchange presupposes some conception of property rights or the exclusive possession of a good. If I toss you a pebble and you toss me one we have not, strictly speaking, exchanged pebbles. Only if we both accept some notion of possession or property can we be said to have exchanged anything. Exchange is parasitic upon at least some conception of property. It is all very well stating that the base determines the ideological superstructure, but if one then asks the question ‘Why do people engage in exchange, in the activity occupying a central place in the base?’, one must respond by claiming either that they do so because they believe in property rights (it is not unreasonable to suppose that the form of exchange is a function of propertarian conceptions), or that they do so because the system of exchange is coercively maintained. If one is to answer the question ‘What reproduces the exchange-system?’, then one must refer to at least one of these factors. But that involves speaking of the widespread acceptance of the evidently ‘ideological’ legal system or the ability of the ‘Repressive State Apparatuses’ to work effectively, both of which, in Marx’s model, appear to be superstructural. In either case, the base apparently cannot rest on anything other than the superstructure. Given Marx’s line of thought that what is prior is determining, one might think the superstructure is determinant when it seems to be the base of the base.
2.3 An Alternative Schema
Ought we, therefore, to accept an inversion of the base and superstructure? We think not. Cohen offers an analogy which allows us to make sense of the superstructure resting on the base whilst being in some sense necessary to it. We are to imagine four struts hammered part of the way into the ground which left on their own wobble in a breeze. When a roof is added to this structure they can then stand firmly even in a gale. Here, the structure of struts needs the superstructural roof (see Cohen, 1978, pp. 231–2). However, it needs it, not in order to stand at all, but for stability.[17] We, on the other hand, would argue for the necessity simpliciter to the economic structure of what we might call ‘the substructure’. But that the structure needs such a thing does not entail that the base/superstructure distinction should be inverted so that the superstructure determines the base. Cohen’s analogy can instead be seen to add to our suggestion of a substructure underlying the base.
How can this be? One condition is that whatever we describe as ‘substructural’ has to be removed from the superstructure if that is where it resides in the Marxist model. So, the grounding of effective coercion which enforces property claims and/or the widely-held belief that one ought to respect such claims cannot be regarded as superstructural in our model. But this does not mean that laws are not superstructural. Consider a society which had ‘property’ relations very much like ours, but which lacked a legal system. In the imagined society property relations (conceived in a rechtsfrei manner; see ibid., pp. 217–25) rest on a set of beliefs about rightful distribution and entitlement. Such a structure might be unstable because there are some disagreements about the extent of property claims, or because of partiality concerning disputes about property (see Locke, 1924, p. 123). In such a situation, ‘stability’ might be improved by positing the customary property rights in law and creating a judiciary to deal with legal disputes. It would thus make sense to say that the economic structure based on a substructure of property conceptions required a superstructure of laws in order to make it less ‘wobbly’. And it could also be claimed that the superstructure of laws itself rested on beliefs about the imperative of respecting those laws and the authority of the state which promulgated them. The term ‘substructure’ is appropriate in that it refers to the ground upon which both the base and superstructure stand.
For Cohen, however, the question of whether or not our substructure is, in his sense, superstructural concerns whether or not the substructure is as it is because it furthers the development of the productive forces or stabilizes the production relations which further such development. The superstructure would be functionally explained by the economic structure if it were chosen in order to stabilize that economic structure. This is certainly plausible. It is considerably less plausible, however, to claim that the substructure is in general chosen in order to stabilize the economic structure, which is what Cohen would have to demonstrate in order for him to regard as superstructural what we have called the substructure. Though it is conceivable that a people accept their laws because they stabilize social relations and allow increases in productivity, it would be most odd to say that for the same reason a people chose its fundamental normative orientations, which are needed not only for production and, consequently, do not subsist because they are needed for production.
As our model is three-tiered, unlike Cohen’s two-tiered one (if we bracket out all mention of the forces of production), then it is substantively different from his, and does not merely reduce to a difference of emphasis regarding the degree of necessity of structural support. Furthermore, this theoretical difference cashes out in substantive issues. Marxists often criticize merely legal change which leaves the economic structure essentially unaltered. They can argue that the economic structure, if left unchanged, could reconstitute the old superstructure. Consequently, Marxists give priority to changing the economic structure. But if our three-tiered model replaces the two-tiered base/superstructure model, then the Marxist approach is susceptible to a similar criticism. If the economic structure is altered but the substructure of property conceptions remains the same, then it could reconstitute the old economic structure. And the Bolsheviks’ need to reintroduce certain pre-revolutionary economic relations amongst the peasantry in 1921 would corroborate this.
Now, our substructure would contain both ideological and political elements. Engels attempts to refute claims giving priority to political factors in his discussion of the ‘force theory’, but he does so by conflating political preconditions with the power of leaders (see Engels, 1976, pp. 201–36). Certainly, it is true that economic production can give one political control and can extend such control. But how is it that one has exclusive control over production in the first place? When such a question is asked, then one must turn to political or ideological factors for the answer. This is overlooked by Engels, who reduces the question of political control to the power of individual leaders, rather than seeing the control of the forces of production as necessarily resting on ideology or coercion. Production only leads to political control or its extension when economic activity is already situated in a coercively and/or ideologically grounded structure. Only given the existence of such a structure can production have political consequences; how else is economic produce to remain in the hands of the owners of production and extend their power?
But do we need to talk of a politically as well as an ideologically grounded structure? Is it not the case that the coercive power of the statedependson ideology (see e.g. Godwin, 1976, p. 182)? Surely, just as the ability of the bourgeoisie to engage in direct, non-coercive exploitation rests upon widespread conceptions of private property, the ability of the state to coerce would appearprimafacie to rest on the acceptance by the police and the military of conceptions of legitimate authority. Unfortunately, political power can exist even without any widespread acceptance of legitimate authority.
How is this possible? Well, for example, we would expect a highly trained and indoctrinated professional army comprising voluntary recruits to accept the claims to authority of their superiors. But this might not be true of a conscript army. It might be the case that every conscript wishes to mutiny and the conscripts significantly outnumber the regulars, yet each conscript might feel unable to rebel due to the logic of the situation in which he finds himself. Because he does not know that the other conscripts wish to rebel, then he may feel wary of suggesting to anyone else that there should be a rebellion. Fear of the other informing on him and his facing military retribution would be sufficient to account for his silence. This might result in his presenting the appearance of loyalty to his commanders, hence deterring others from suggesting mutiny to him. It might even result in his carrying out military punishment on any rebel because to fail to do so would make him liable to similar punishment. Consequently, even though all the conscripts may wish to rebel, they might each find themselves in the position where they feel it necessary to carry out the punishment of any overt rebel. With such behaviour being generalized throughout a conscript army, political power can be held by their commanders. Consequently, an ideological base (i.e. the belief in legitimate authority) is not a necessary condition for political power. The diffident attitude of army personnel to each other which results from the situation in which they find themselves could suffice.[18]
This leads us to posit that, rather than the economic ‘base’, the ‘politico-ideological’ substructure is what should be regarded as being explanatorily primary. We have argued that economic relations require either a coercive or an ideological grounding. But political relations do not presuppose economic ones. For example, invading armies do not need to hold economic relations with the invaded (and their power can rest on situational logic, as we have seen).[19] Nor do ideological relations require economic ones. As an example, it is conceivable that self-sufficient producers might look up to one of their neighbours as a spiritual leader, who could, by virtue of such ideological power, be in a position to control an area of everyone else’s non-economic behaviour. However, political or ideological power might also lead on to economic power (see Weber, 1970, p. 180). In which case, a politico-ideological substructure could also be temporally prior to an economic ‘base’.
Why is it, then, that Marx has failed to take social and political beliefs seriously enough? The French Revolution indicated to him that a change in the legal and political superstructure follows from a change in the economic structure, and this occurs because of a development of the productive forces. This stress on the ‘material’ productive forces is radically different from Hegel’s idealist conception of history, which maps out the development of Spirit. But in opposing a ‘materialist’ conception to an ‘idealist’ one Marx goes too far. By isolating the ‘material’ productive forces as the locus of change he concluded that the legal and political superstructure is explained by the ‘material’. Unfortunately, the term ‘material’ (which is stressed in opposition to Hegel) led him to assume that ideas are similarly explained and are similarly ‘superstructural’. Marx’s mistake, here, is certainly not in accepting Hegel’s overt idealism, but in accepting the more underlying assumption that history is explained by the development of the ‘ideal’ or the ‘material’. And in accepting this, his rejection of Hegel’s idealist account led to an imbalanced focus on the material. Marx’s relationship to Hegel (which might be characterized as a rejection scene acted out under Hegel’s direction) is responsible for his inadequate base/superstructure model.
Now, one might argue not that the form of consciousness necessarily follows from the economic base, but that the form of economic relations directly follows from the productive forces, and all that follow from these relations are political and legal structures. And one might be tempted to accept an a priori argument which purported to demonstrate that economic relations necessarily change as a result of changes in the productive forces. H. B. Acton has provided such a possible argument: Suppose a more efficient canoe which required two oarsmen is invented in a society of fishermen hitherto restricted to the use of less efficient one-man-operated canoes. The fishermen will no longer work alone, but in pairs. This change to a more efficient technology involves a change in economic relations.
Acton regards this example, however, as failing to demonstrate that the specific form of the economy is based on the type of productive forces employed. But it does suggest how Marx might have been misled into believing in such a connection. By distinguishing between ‘technological relationships’ (those which involve different forms of co-operation in operating a productive force, as in the canoe example), ‘paratechnological relationships’ (for example, those which occur within law or the custom of private ownership that provides the backdrop against which labour is carried on) and ‘market relationships’, Acton is in a position to argue that, although changes in technological relationships follow from changes in the productive forces, other kinds of economic relations do not necessarily do so (see Acton, 1962, pp. 160–6). Marx may well have been misled by failing to keep such a distinction in mind.
Cohen appears to accept Acton’s point that technological or workrelations need to be distinguished from other relations, but he thinks that, even so, there is still reason to believe that other economic relations follow suit:
Suppose the army moves from rifles to machine-guns, and each machine-gun needs to be manned by three soldiers. Then it will now be efficient for the artillery to be divided into groups of three, each trio manning one gun, whereas before there was one man to each rifle, and no reason to group them in threes. This is a change in technical organisation. But it might bring about a change in authority structure. It might now be advisable to designate one man in each trio as a corporal, and to vest him with certain rights over the other two — with rifles there was no reason for hierarchical distinction to cut so low. If corporals are appointed, the authority relations change in response to a development in the means of destruction, whose influence on the authority structure is mediated by the new technical relations those means require. The forces of destruction determine the technical organization and thereby determine the authority structure (Cohen, 1978, p. 166).
Cohen cites two further examples: the heavy plough required the break-up of small square plots of land so that it could work effectively by ploughing in long, narrow strips; and the law of settlement had to change for large-scale production to be used efficiently.
But these examples between them presuppose two things: the first and third examples presuppose an existing authority structure within which the change takes place, and whose specific form is itself altered by that very change; the other example presupposes an existing structure of property relations within which the change occurs, and which also alters in form. None of the examples establishes that whatever maintains authority or property relations as such is tied to the development of the productive forces. And even if they do suggest that the form of property relations or authority can change as a result of a transformation of the productive forces, they do not tell us whether property or political authority tout court will be removed as a result of transformations in the productive forces. In other words, the examples need only indicate that the productive forces can react back on the form of a ‘substructure’. A presupposed substructure may thus in fact be what is of primary importance for the existence of propertarian or authoritarian relations, and the central issue for revolutionaries would then become how to remove the substructural foundation.
Moreover, given that the existing authority relations or property relations may change in some way with technological development, this does not establish that such relations cannot change without a change in the productive forces. Consequently, it does not tell us that a ‘substructure’ underlying property and political authority can only be threatened by transformations in production. It might very well be that the specific forms of property and political authority change with transformations in production, but that if we wish to overthrow all forms of property and/or political authority, then we have to look elsewhere for assistance than to the development of the productive forces. It might even be the case that the change in the form of property and authority relations which arises due to technological change is such that the institutions of property and political authority grow more secure as their forms develop through time. In other words, it might very well be that, rather than giving assistance to the revolutionary, technological change (or at least certain varieties of it) is a positive hindrance. This being said, we must now proceed to examine in a little more detail Marx’s theory of historical transition.
2.4 Further Aspects of Marx’s Theory of Revolution
In the 1859 Preface Marx seems to outline the following theory of history: For a while, the relations of production correspond to a definite stage of development of the material productive forces. But then, after further development of those forces, a conflict arises between them and the existing relations of production. These relations had formerly aided the development of the productive forces but now they fetter further progress. Revolution then occurs, but only after all the productive forces in the old society that can develop, have developed. Higher relations of production, though, can only develop if the material conditions of their existence have first formed in the previous society. How, then, does this theory apply to the new relations of production arising out of capitalism? Who is to bring in the new relations of production, and how? If we are to understand this, we require the following supplement:
The modern labourer... instead of rising with the progress of industry, sinks deeper and deeper below the conditions of existence of his own class. He becomes a pauper, and pauperism develops more rapidly than population and wealth. And here it becomes evident, that the bourgeoisie is unfit any longer to be the ruling class in society, and to impose its conditions of existence upon society as an over-riding law. It is unfit to rule because it is incompetent to assure an existence to its slave within his slavery, because it cannot help letting him sink into such a state, that it has to feed him, instead of being fed by him. Society can no longer live under this bourgeoisie... (MCP, p. 93).
Furthermore, the development of capitalism is such that the means of production are centralized, international trade produces an international proletariat, and the workers are brought together en masse into revolutionary associations which ultimately overthrow the bourgeoisie.
We thus observe three main theses in Marx’s theory of the revolutionary transition to socialism: (i) the immiseration of the proletariat[20] forces them (and herein lies a difference with the Utopian Socialists) to overthrow the bourgeoisie, and this is facilitated by the development of class consciousness which the interaction with other proletarians in part engenders; (ii) the inability of capitalism to realize the full potential of the possible productive forces at that stage of history necessitates the reorganization of society; and (iii) capitalism provides the productive base for a postcapitalist society, thus rendering a transition to it possible. It is with the first two theses that we shall now take issue.
As regards Marx’s theory of immiseration (i), if the bourgeoisie employed the wage-earner solely to produce goods for the capitalist class, then this argument might be credible. But it does not. Capitalism produces goods for consumers. And the capitalists have learned from Keynes that if the population of consumers cannot afford to buy the consumables, then the capitalist cannot sell them. The modern capitalist state is frequently prepared to take measures (such as programmes of public works, welfare services, etc.) which interfere with any process of immiseration and help perpetuate the capitalist system — behaviour which is quite compatible with Marx’s assumptions about the modern state (see MCP, p. 82). Moreover, the mechanism of immiseration is linked in Marx’s analysis to competition, and the rise of cartels and monopolies in developed capitalism undermines this very process.[21]
Consequently, history has not borne out Marx’s immiseration thesis (much to the chagrin of contemporary Marxists); except, perhaps, on an international scale. But even if that is so, it would, rather than aid the Marxist position concerning growing class solidarity, undermine it. First, with regard to the international issue, Marx argued that capitalism would seek ever greater markets abroad (see MCP, p. 83), so immiseration on a world and not just a national scale is quite compatible with his theory. Lenin attempted to deal with the question of the relationship between the advanced and developing nations in his work on imperialism. He argued that the centralization and accumulation of capital in the advanced countries leads to involvement abroad, and that the capitalist class is able to create super-profits by establishing colonies. He remarks: ‘Obviously, out of such enormous superprofits (since they are obtained over and above the profits which capitalists squeeze out of the workers of their ‘own’ country) it is possible to bribe the labour leaders and the upper stratum of the labour aristocracy’ (Lenin, 1975a, p. 9). But why is it not conceded that the whole of the proletariat of the advanced nations might be bribed by the super-exploitation of the Third World? And if western workers have a disproportionately high standard of living due to the exploitation of the Third World, the interests of European or North American workers are not the same as those of the poorer countries.
This is of the greatest consequence, since it directly concerns the question of the termination of class society. Marx put his faith in the western proletariat because he saw it as the ‘universal class’. An important consideration in this assessment of the proletariat is, as G. H. Sabine has written, that ‘because the proletariat lay at the bottom of the social structure, with no class below it to be exploited, a proletarian revolution would not merely transfer the power to exploit but would abolish exploitation’ (1973, pp. 6834). If, however, the western proletariat has a higher standard of living because of the super-exploitation of the Third World, then it can no longer be claimed that the proletariat has no class below it, nor that its interests are ‘universal’.[22]
Are we, then, to wait for the Third World to develop the ‘true’ proletariat which will then precipitate the world revolution? This can be seen to be an exceedingly dangerous strategy if one entertains the belief voiced by André Gunder Frank that ‘it is capitalism, both world and national, which produced underdevelopment in the past and which still generates underdevelopment in the present’ (1967, p. vii). If capitalism ‘generates at once economic development and underdevelopment on international, national, local, and sectoral levels’ (ibid., p. xi), then by producing such a structural inequality in the world economic system between rich and poor nations, it ensures that certain regions do not industrialize but remain the exploited producers of primary materials for the developed nations. Consequently, there will remain a class below the western proletariat. Moreover, no really significant industrial proletariat would develop in the underdeveloped nations.[23] Yet it is the imperialism responsible for this situation which signals to Lenin the coming proletarian revolution![24]
Even within the confines of the advanced capitalist world, British workers, for example, do not on the whole perceive a common interest with other workers of the advanced world because of the international nature of capitalism. That very international nature has, instead, distanced such workers in terms of perceived common interests. British workers more often see Japanese workers, for instance, who flood Britain with their products, as threats to their livelihood, than as fellow potential world revolutionaries. And this is so precisely because of the extension of the world market.
Second, on a national level, the development of capitalism has not brought the proletariat together as a united, self-conscious class in any significant sense even in the case of developed capitalist countries. The associations which we have seen develop have not arisen solely to defend the proletarian class against the capitalist one. Trade unions have grown to protect their own members’ relatively privileged position in the economic structure and to maintain wage differentials over other proletarians. The protection of the given union’s members’ exclusive field of activity is among its major concerns. Their fight is not just against capitalists; it is also against other workers.
And this is not surprising. Marx assumes that the proletarians would gain class consciousness through seeing that they have a common cause. It is supposed to be revealed to them through the greater interrelations between producers in the capitalist system, which has a greater division of labour than any previous mode of production had. It is for this reason that Marx thought the proletariat more revolutionary than the peasantry, which he likened to a sack of potatoes because they were enclosed units and not so interrelated in an economic structure as the proletariat. But industrial action by one group of workers inconveniences other workers. When the miners or electricity workers go on strike, other workers experience inconvenience. This greater interrelation, rather than revealing a common interest, sets one group of workers against another. This is not to say that the proletariat does not have a common interest in overthrowing capitalism, but that the system does not reveal it.
From the viewpoint of the peasant it is quite easy to see that the lord of the land serves no productive purpose and were he removed life would be better. It is not immediately apparent to the industrial worker that he or she can do without the capitalist and his (or her) investment. It is not so obvious that the factory-owner or manager serves a useless function. Is it, then, really all that surprising that revolts among peasants wishing to overthrow their masters have and continue to have far greater frequency than attempts to overthrow the owners of the industrial means of production? What is more, Marx’s discussion of commodity fetishism in Capital acknowledges the especially mystifying nature of capitalist social relations. Clearly, the capitalist industrial system is much more mystifying than the peasant form of production.
Marx sees the development of the capitalist system as the stimulus to revolution. Yet all of these problems can be deduced from the very nature of the capitalist system which Marx examines. We have not merely presented new empirical evidence which was not available to him. These problems derive from the extension of the market, the desire of capitalists to maintain control over the labour force, and the mystification of capitalist economic relations — all of which Marx himself draws attention to while at the same time failing to see how effectively they counteract the revolutionary tendencies he postulates as flowing from capitalist development! Marx fails to address seriously the following pair of questions: (1) Why should the extension of the market and, correlatively, the extension of competition bring workers together when they are competing with each other for a living? and (2) Why should the proletariat be especially susceptible to a critique of capitalism when its exploitative processes are more hidden than they are in any other mode of production?
These questions are, perhaps, irrelevant if the proletariat are driven by poverty to overthrow the capitalist system. But there are few examples of proletarian immiseration forcing rebeUion. The optimistic Marxist can always plead that it will occur; it simply has not happened yet. But even if immiseration occurred, would it do the work required of it in Marx’s theory? It looks a safe assumption that if people are forced far enough into the gutter they will eventually rebel. It looks so secure an assumption that it is not even questioned in many Marxist circles. But the assumption can be questioned. Social psychologists, working in the field of relative deprivation, have suggested that a steady immiseration would be unlikely to result in rebellious behaviour on the part of the western working class. With the high unemployment of today and the prospects of even higher unemployment we would be left with an affluent group of workers and a demoralized ‘lumpenproletariat’. Neither offers a great deal of revolutionary hope.
What is more, there is at least as much empirical evidence to support an alternative view that the causes of major revolutions are ideological or political as there is to support the Marxist position. The Russian Revolution occurred during a war which was being lost. The Chinese Revolution occurred shortly after a humiliating war. Certainly these wars caused material deprivation. But instead of arguing that material deprivation gives rise to revolutions, one could just as easily argue that the Russian and Chinese Revolutions are explained, not by a development of the productive forces straining on the leash of private property, nor by immiseration, but by either the collapse of the state’s repressive agencies or the collapse of its ideological support (disillusionment with the state following national humiliation or crisis). In other words, these revolutions might have occurred in spite of immiseration, rather than because of it. Again, the real weakness in Marx’s theory is not so much that empirical evidence conclusively shows it to be wrong. It is that Marx fails to consider seriously the possibility that, rather than being a spur to revolution, immiseration might be utterly demoralizing and an obstacle to it.[25]
Regarding (ii), the thesis that capitalism is so incapable of realizing the productive potential which it has developed that a revolutionary re-organization of society is necessary, we find contradictory evidence. Engels’ position, however, is clear:
...the official representative of capitalist society — the state — will ultimately have to undertake the direction of production.... The more [the state] proceeds to the taking over of productive forces, the more does it actually become the national capitalist, the more citizens does it exploit. The workers remain wage-workers — proletarians. The capitalist relation is not done away with. It is rather brought to a head. But, brought to a head it topples over. State ownership of the productive forces is not the solution of the conflict, but concealed within it are the technical conditions that form the elements of that solution....
Whilst the capitalist mode of production more and more completely transforms the great majority of the population into proletarians, it creates the power which, under penalty of its own destruction, is forced to accomplish this revolution. Whilst it forces on more and more the transformation of the vast means of production, already socialized, into state property, it shows itself the way to accomplishing this revolution. The proletariat seizes political power and turns the means of production into state property (1970d, pp. 421–3).
But is the economic situation of the proletariat such that it could, in accordance with Marx’s theory of revolutionary transition, seize either political power or control of the means of production when they are managed by a ‘national capitalist’? To answer this question we shall have to return to Marx’s conception of the revolutionary dynamic in the social structure.

Customarily, one focuses upon the relationship between the base and superstructure (Figure 2.1b). But Cohen, in his attempt to introduce some conceptual clarity into the discussion and with his primary interest in one aspect, the productive forces, emphasises a tripartite distinction (Figure 2.1c).[26] We suggest that a concentration on this tripartite distinction, which, ironically, has been made possible by Cohen’s attempt to defend Marx, reveals a confusion in Marx’s account of historical change.
In the bourgeois revolution of 1789 there was an antagonism between the base and superstructure. The new bourgeois economic base forged ahead of feudal superstructural elements, and then the entire superstructure was transformed. But if we view this more carefully, we find that Marx means that the bourgeois relations of production, which had emerged in French society, were incompatible with French superstructural elements (see Figure 2.2a). Bourgeois relations of production were already present in French society before the revolution. However, for some Marxists, the transition to the socialist epoch concerns an incompatibility between bourgeois relations of production and the forces ofproduction (see Figure 2.2b) which could expand further only under socialist economic relations. The incompatibility occurs between different elements of the model in the two cases. If Marx has identified the law of development of human history, as Engels claimed at Marx’s graveside, what is this law? If it concerns the first kind of incompatibility which is supposed to induce change (as in Figure 2.2a), then to apply it to a coming socialist revolution would mean that socialist relations emerge prior to any superstructural change, i.e. inside the womb of capitalism.
Now this appears to be what Engels is arguing in ‘Socialism: Utopian and Scientific’. Joint-stock companies are considered by him to be a form of the socialization of the means of production. With their collapse, the state will become the director of production; but the workers will, we are told, remain wage-earners. The great majority become proletarians employed by the ‘national capitalist’. But why should this not be regarded as a stable condition? With a ‘national capitalist’, why will there be economic crises? Or progressive immiseration? Or any of the problems associated with a free market economy? Why, then, are the proletariat forced to seize political power? Surely the ‘national capitalist’ could manage society without the problems associated with laissez-faire production? The USSR must come closest to Engels’ concept of a ‘national capitalist’, yet the proletariat in that country have not gained any effective control of the productive forces, nor can we foresee them doing so. In fact, the bureaucracy which administers this ‘national capitalism’ and the technocracy needed to run the developed productive forces seem most in control of production.
If it is the case that the capitalist class cannot manage the productive forces, then this does not entail that the proletariat either will or can. Instead, the productive forces may come to be managed by a centralized techno-bureaucracy situated above the proletariat. ‘National capitalism’, or the development of ‘socialized’ production without proletarian control, does not appear to bring the situation ‘to a head’ such that it ‘topples over’ and the proletariat seize power. Even if capitalism is unable to manage the developed productive forces, we cannot conclude that communism is on on the agenda. What may well be is a new mode of production, the existence of which is obscured by Engels’ term ‘national capitalism’.
Again, fundamental questions have been ignored. In this case the most important question which needed to be asked was: Is it certain that the ‘national capitalist’ is incapable of managing the economy or, for that matter, even subject to the problems faced by ordinary capitalists? Consequently, Engels’ claim that the state topples over is a mere empty phrase. Is this the actual fruits of Marx’s analysis? The productive forces develop; technology centralizes; a ‘technobureaucracy’ grows out of the need to manage and further develop such technology; it begins to administer ‘national capitalism’; and then...nothing! Marx and Engels have led the workers not to a revolutionary situation, but to an authoritarian state with production in the hands of a new class — the techno-bureaucracy. If the law of historical development is that associated with Figure 2.2a, if this is Marx’s model of historical transformation, then it offers little hope for proletarian control of the means of production. Instead, it actually suggests that the means of production will fall into the hands of a techno-bureaucratic elite who plan the economy.[27] This clearly challenges Marx’s belief that historical materialism allows the prediction of a desirable post-capitalist society.
We have concentrated on the first kind of incompatibility (that associated with Figure 2.2a). If we turn to the other possible model for epochal social change (which involves the kind of incompatibility associated with Figure 2.2b) then, as it differs from the kind derived from the Revolution of 1789 (which, we assume, brought about a new epoch), it cannot be a universally-applicable epochal model. It cannot be a general model of revolutionary transformation from one epoch to another. If the kind of change associated with Figure 2.2b is what is described by Marx’s theory of history, then as a transformation of the relations of production induced by a change in the forces of production must have occurred prior to the transformation of the French superstructure, i.e. prior to the French (bourgeois) Revolution, it would have to be intra-epochal change which was being explained by historical materialism. But then our earlier example of German expansionism shows historical materialism to be either falsified or unable to leave us feeling confident about a desirable future. The kind of change associated with Figure 2.2b is thus dealt with in options 1 and 2.
As it is the first model of epochal transition (that associated with Figure 2.2a) which has been observed in history, it should embody the law of epochal transition which Marx had discovered. But then there would be little reason for accepting Marx’s account of the coming revolution (where the proletariat are supposed to seize power), because the relations which arise prior to an epochal transition and which are in conflict with the capitalist superstructure are techno-bureaucratic ones. This means that option 3 is also dealt with because a libertarian communist future is not suggested. Either historical materialism is falsified (option 1); or we cannot rule out the possibility of nationalistic militarism arising along with a development of the productive forces, and cannot, therefore, expect the future liberation of mankind (option 2); or historical materialism leads us to expect the emergence of a techno-bureaucratic society which does not allow the transition to a libertarian communist society (option 3). As was stated earlier, Marx holds both that historical materialism is true and that it allows the prediction of a desirable postcapitalist future. He cannot have it both ways. Either historical materialism is falsified by German expansionism, or it must be so interpreted that a desirable post-capitalist future cannot be predicted.
This is obscured because of Marx’s failure to keep the models associated with Figures 2.2a and 2.2b distinct. What Marx appears to do is equivocate between the two models, and this is due to his failure to keep the elements of the social system distinct in the formulation of his general theory. This is quite visible in his discussion of the method which ‘served as a guiding thread for [his] studies’. There he writes: ‘At a certain stage of their development, the material productive forces of society come in conflict with the existing relations of production, or — what is but a legal expression for the same thing — with the property relations within which they have been at work hitherto’ (59P, p. 389). The property relations, ‘a legal expression’, are superstructural. The existing relations are within the base. Hence, because in this passage Marx conflates the distinction between a rechtsfrei economic relation and a legal relation, Marxists are able to vacillate between a model where the conflict is between the base and superstructure (as in the French Revolution), and a model where the conflict is between the forces and relations of production (as in the overthrow of capitalist relations forced on by the technological development which is fettered by them and which must burst them asunder — some Marxists believing this to be the form of the coming revolution). In the French Revolution the superstructure required to be transformed; in the coming revolution the relations of production seem to require transforming. Marx’s equivocation (resting on the lack of conceptual clarity which concerns the base/superstructure distinction) presents us with two different models, each of which deals with one of the types of revolution in question. And these models are often presented as if they constitute a single law.
It is precisely this indistinctness that allows Marxists to use two models when it appears that they are only using one. The only model which could be a universal model of epochal transition (namely, the one derived from the French Revolution and concerning the antagonism between base and superstructure, rather than forces and relations of production) is, as we have seen, highly questionable with regard to a coming proletarian revolution. This is because it does not rule out stable authoritarian political and economic centralization.
What, though, if we consider Marx’s theory only to be about changes in production relations explaining changes in economic relations, which in turn explain changes in the superstructure? In other words, what if we have been too demanding, and it does not matter whether the manifest conflict is between the forces and relations of production or between the base and the superstructure? Perhaps all that the theory has to show correctly for both of Marx’s views to be right is that a desirable future political and economic form will arise from present economic and technological developments. But then an important question still remains: Are the work relations (perhaps included in the category ‘productive forces’) which develop in line with the means of production in fact antagonistic to capitalist economic relations, yet conducive to direct workers’ control? That they are not likely to lead to genuine proletarian control will become clear when we turn our attention to the labour-process.
2.5 The Labour-process
This brings us to the third thesis which we isolated in Marx’s general theory: (iii) capitalism provides within itself the productive base for post-capitalism. We must ask how the forces of production developed in capitalist society are to act as the precondition for a proletarian society. Of course, it might be the case that communism may come to utilize a liberatory technology — a technology which does not require specialist technologists, or expert administrators, and is controllable by the workforce. But the precondition for a post-capitalist mode of production, according to Marx, is the development of the productive forces within capitalism. How, then, do the forces of production developed within capitalism act as the material precondition for the desired post-capitalist society? They might do so in two ways: existing machinery and its accompanying work relations might provide the material basis for post-capitalism; or the scientific and technical knowledge embodied in existing technology might provide such a basis. We shall now see that capitalism provides neither basis for libertarian communism.
One immediate problem is that, if Gunder Frank is correct, the underdeveloped nations will not develop the industrial material base which is the prerequisite (according to Marx) for a transition to socialism. But there are also problems for the prospect of revolution in the developed world with the further development of technology. According to the interactionist school of Marxism, not only does technology have the power to shape society, but society also influences the introduction of technology. As Grahame Lock writes:
... it seems to me empirically true of the overwhelming majority of technological innovations under capitalism that they were introduced with their application in mind, and that this fact [is] not accidental but has something to do with the nature of the division of labour under capitalism, between tasks of planning and execution. Secondly, it appears to me to be just as empirically true that such innovations-in-use are not to be explained by reference to any abstract ‘human rationality’ [contra Cohen], but only in terms of the specific rationality of the capitalist system, which includes the need to retain control over the working class. An innovation may be introduced for this latter reason, rather than (merely) because it is more productively
And at the present time, the most important respect in which technology is shaped by economic (and political) relations is the way in which those relations influence the research into and subsequent implementation of novel technologies. What features characteristically accompany those technologies favoured by the capitalist mode of production? One is a vast centralization. Another is a certain corresponding labour-process.
Mercantile capitalism arose without any labour-process specific to it. Prior to the industrial revolution the situation was one where
labourers are ‘subsumed’ under capital insofar as they are legally separated from the means of production and hence have to sell their labour-power in order to live. But the subsumption is merely ‘formal’ because while they are legally dispossessed they are not strictly technically dispossessed, since they still have a large degree of actual control over the labour-process by virtue of the fact that the instruments of production depend for their use on their skill and strength: they use the instruments of labour (Suchting, 1982, p. 171).
With the centralization of production into workshops and the productive surplus passing to the bourgeoisie, a struggle necessarily arose between the bourgeoisie, whose interests were served by stepping up production, and the proletariat, whose interests were not.
Initially the bourgeoisie had to resort to the use of overt disciplinary measures to enforce increases in productivity. Soon this situation was to change. Capitalism was to find a technical solution to the control of the workforce and the further extraction of surplus:
The ‘real subsumption of labour under capital’ begins with the Industrial Revolution and lies in the creation by capital of a technical base adequate to it.... It consists essentially in the introduction of the machine proper in place of the tool. Now the workers do not use tools: the machine uses them. The accumulation of surplus is now not restricted by the physical constitution of workers and they become dispossessed not merely legally but also technically (ibid., pp. 171–2).
This is effected by such innovations as machinery which sets the pace of the worker (such as the conveyor-belt), rather than the worker setting his or her own pace. With the simplification of tasks and the destruction of craft specialism that attends the introduction of such technology, a less skilled and lower paid workforce can be employed. This is coupled with the lower running costs of capital-intensive forms of production. In order to remain competitive with other firms, such innovation, which increases surplus and reduces production costs, is forced upon the capitalist.
Another feature of this mechanization process also concerns the capitalist’s need to reduce production costs. Charles Babbage observed that a high division of labour allows specialized skills to be employed solely in skilled work. Rather than having to employ workers who are able to perform all the tasks required in producing a commodity, the capitalist can instead employ a small number of skilled workers to do the specialized work and very cheap labour to perform the numerous unskilled tasks. The outcome of these developments — machinery controlling manual labour and the confinement of a growing proportion of the workforce to unskilled work — is, on the one side, the proliferation of a set of mindless tasks which the majority of workers must carry out, and the growth of highly skilled and specialized tasks restricted to a technical elite, on the other.[28]
We thus see how the dynamic of the capitalist’s quest for surplus involves the tendency to polarize the labour force into relatively unskilled workers and an emerging techno-bureaucratic class. The latter consists of those with skills essential to the technology employed and those skilled in the organization of work relations and practices (e.g. the Taylor system) engendered by the technology and by the high division of labour required to run it as economically as possible within the capitalist system. This managerial echelon makes use of time and motion studies, incentive schemes, etc., and comes to have exclusive understanding of the organization of production and the interrelations between workers (see, for example, Braverman, 1974, p. 231). The development begins in the early days of capitalism. As Stephen Marglin writes:
Why...did the division of labour under the putting-out system entail specialization as well as separation of tasks? In my view the reason lies in the fact that without specialization, the capitalist had no essential role to play in the production process. If each producer could himself integrate the component tasks of pin manufacture into a marketable product, he would soon discover that he had no need to deal with the market for pins through the intermediation of the putter-outer. He could sell directly and appropriate to himself the profit that the capitalist derived from mediating between the producer and the market. Separating the tasks assigned to each workman was the sole means by which the capitalist could, in the days preceeding costly machinery, ensure that he would remain essential to the production process as integrator of these separate operations into a product for which a wide market existed; and specialization of men to tasks at the sub-product level was the hall mark of the
Nowadays, the essential role played by the capitalist is as supplier of the large quantity of capital necessary for most production processes to take place. Consequently, the capitalist has become free to allow his (or her) former role to be occupied by a managerial stratum, while the latter’s position is consolidated by the increase in specialized technical knowledge of the work process which that stratum comes to acquire.
This aspect of the development of capitalist work relations extends to the implementation and running of the technology employed, where ‘knowledge of the machine becomes a specialized trait, while among the mass of the working population there grows only ignorance, incapacity, and thus a fitness for machine servitude’ (Braverman, 1974, p. 194).[29] If the material base of post-capitalism is to be understood as the existing technology, it is hardly appropriate as a basis for direct workers’ control when the work relations and technology are more often than not opaque to the workers and only transparent to the emerging techno-bureaucratic class.
A common Marxist assumption is that, since both the workers and the stratum immediately above them are both employed by capitalists, they share a common interest in achieving the same sort of postcapitalist society. The result of this assumption is the view that the transition to socialism requires
an alliance of all those workers who, under monopoly capitalism, constitute the ‘collective productive workers’ (Gesamtarbeiter is Marx’s term for it), i.e. those whose individual labour ‘combines to form the overall productive machine’ when socially combined. This group comprises manual workers, foremen and supervisors as well as the ‘engineers, managers, technologists etc.’ who, according to certain passages in Marx, ‘are to be included in the group of productive workers directly exploited by capital and subordinated to its processes of production and realization’ (Gorz, 1976, p. 160).
But is Marx really committed to this view?[30] If he is, his failure to conceive of the possibility of an emerging techno-bureaucratic class must be due to a stress upon property relations, rather than work relations (and we noted in section 2.4 that Marx may at times obscure this distinction). Now, and this is a crucial point, such an emerging class might have an interest in a certain sort of post-capitalist society, but not the sort that facilitates workers’ control. Instead, it might be interested in a post-capitalist society where the residual power of the capitalists (namely, their financial control) has been removed and the production process is completely in the hands of the technobureaucracy — a class with the claim to be most suited to managing the productive forces, and which could also claim to be able to do a better job were it not for the vagaries of capitalist investment. If, on the other hand, Marx is not committed to this view of managers, technologists and manual workers having a shared interest in post-capitalism, capitalism hardly provides the material basis for communism when it develops a production process which is obstructive to direct workers’ control.[31]
André Gorz’s ‘solution’ to the problem of the privileged technical stratum is to encourage it to relinquish its privileges (see 1976, p. 177). But if a revolution to a planned economy cries out for planners, such a privileged stratum is unlikely to relinquish its prime position with regard to seizing control of the post-capitalist mode of production. If the bourgeoisie will not relinquish its privileges, why suppose that a new class arising above the labourer, which is needed to plan the planned economy, will do so? Such potential organizers of postcapitalist production are unlikely to make themselves less dispensable than the capitalists have in the capitalist mode. The tendency which we have isolated in the labour-process is for an emerging economic class to acquire economic power by making itself indispensable to the production process. This tendency is likely to be continued by the emerging techno-bureaucracy.
The embodiment of technical knowledge is, we see, not encouraging. But it might be claimed that the technical knowledge itself provides the productive basis for proletarian control. But now we must ask: Who possesses the relevant knowledge? Not, clearly, the proletariat, but the emerging techno-bureaucracy. Why should it use that knowledge to develop technology which leads to workers’ control, rather than technologies which enhance its own social position? Why should it apply its knowledge to the economic emancipation of the labourer? Instead of science aiding the proletariat, we would expect it to be used to subjugate them further. On the other hand, if the material base of post-capitalism is to be understood as the actual technology developed under capitalism — to provide ‘enough productivity to instal the new’ (Cohen, 1978, p. 150) — then this involves the worker in nascent post-capitalism having to continue to work under the regime of that technology implemented to serve the purposes of centralized capitalism. If high productive output is necessary for post-capitalism, as Marxists suggest, then the worker will be required to continue to labour with the machinery and under the supervision of the class of technical and bureaucratic specialists called into being by the demands of capitalist-engendered technological development, and who, by controlling production, are likely to be socially dominant.
2.6 The Social Implications of Technology
It might be argued that it is the economic relations alone which produce the unsalutary features mentioned in the previous section. Well, let us take into consideration the second accompanying aspect of the development of the productive forces in capitalism: centralization. We observed in section 2.1 that Marx acknowledges that the centralization of the workforce into factories preceded the introduction of certain forms of mechanization. Given such centralization, technologies were introduced which were appropriate to it; for example, capitalists were able to introduce centralized power sources (see, for example, Cl, pp. 500–2). But once centralized power sources were fully developed, then not only technical but also geographical centralization was further encouraged. Marx notes the following aspect of capitalism which is germane to our enquiry: ‘The bourgeoisie has subjected the country to the rule of the towns. It has created enormous cities, has greatly increased the urban population as compared with the rural, and has thus rescued a considerable part of the population from the idiocy [sic] of rural life’ (MCP, p. 84). We are not surprised, therefore, to discover that capitalism researches into, develops and introduces capital- and energy-intensive technologies which encourage centralization or are especially suited to already centralized societies.
But ever-increasing geographical centralization is not without social implications. As Marx writes: ‘The existence of the town implies, at the same time, the necessity of administration, police, taxes, etc.; in short, of the municipality, and thus of politics in general’ (GI, p. 69). If this were true in Marx’s time, it is even more so today. Modern technology which is especially suited to highly centralized societies requires a greater level of organization and social control than Marx could have dreamed of. Nuclear power demands the tightest security (see, for example, Jungk, 1979). This has been argued inter alia as a reason why the nuclear power programme has received so much governmental funding in Britain. For obvious reasons, nuclear power workers cannot strike. Therefore, with a steady and reliable source of electricity, the political power of the miners is undermined (see Elliott, 1978, pp. 43–4; also PP, p. 135).
There can be no doubt that certain technologies have quite definite consequences for individual freedom, civil rights, etc. If one lived in a small, decentralized society which had as its power source a field of small windmills, say, then there would be little need to restrict access to that power source. Anyone (even somebody who might be mentally subnormal) could wander amongst that community’s power supply without any more risk than that of causing damage to the windmills, which would be relatively easy to repair, or harm to only him- or herself. But could one seriously entertain the possibility of a feasible society based on nuclear power where anyone could wander as he or she pleased? Could anyone be free to wander anywhere in a nuclear power station? Is it not the technology itself which demands a nuclear police?
This is certainly an extreme case. But it does establish that there are some social implications attending certain general types of technology. We are not, however, proposing a strict technological determinism with regard to social forms. We are, though, of the opinion that certain forms of technology are more appropriate than others for certain social arrangements. Certain technologies have inherently centralist, others decentralist implications. To the extent that centralized societies tend to throw up certain social forms which differ from decentralized societies, technologies influence social relationships.
Unfortunately, ‘alternative technology’,[32] which is especially appropriate to decentralized societies, does not rule out capitalist economic relations. It is possible for such technology to be owned by one person and hired out to others, or for it to be located in a privately-owned workshop which others are forced to work in if they are to produce the means of their subsistence. But to the extent that alternative technology is not dependent on outside specialists to maintain or operate, then it provides the ideal basis for relatively independent production. Although alternative technology is capable of capitalist forms, it ‘pushes’ in the direction of direct control of the productive forces by the actual producer. On the other hand, although highly centralized technology could, in principle, be managed by some form of direct workers’ control, it ‘pushes’ in the direction of control by technical specialists and centralized state power.
David Dickson has pointed out that ‘many nominally-socialist countries, by appropriating and subsequently developing a mode of production initially formulated within a capitalist framework, have been obliged to introduce forms of social organization and control that are essentially capitalist in nature in order to make effective use of this technology’ (1974, p. 11). If this applies to socialist countries choosing to adopt technologies developed especially for capitalist requirements will it not apply even more in the case of postrevolutionary countries inheriting both capitalist-developed technology and its forms of work relations? Will post-capitalist countries not be under very strong pressure to keep forms of social control developed in capitalism? Yet it is the development of technology engendering this situation which Marx cites as the precondition for a desirable post-capitalist society.[33]
It must be stressed that raising objections against the capitalist trend towards centralized technologies is not the same as rejecting all technological advance, nor is it to return to the romanticism associated with Rousseau. As Ivan Ulich writes:
Our vision of the possible and the feasible is so restricted by industrial expectations that any alternative to more mass production sounds like a return to past oppression or like a Utopian design for noble savages. In fact, however, the vision of new possibilities requires only the recognition that scientific discoveries can be used in at least two opposite ways. The first leads to specialization of functions, institutionalization of values and centralization of power and turns people into the accessories of bureaucracies or machines. The second enlarges the range of each person’s competence, control, and initiative, limited only by other individuals’ claims to an equal range of power and freedom (1973, p. 12).
But it is in the first direction that capitalist technology is unmistakably heading. Hence, what must be faced is that capitalism cannot be trusted to develop a material base appropriate to a decentralized society offering the realistic potential of a genuinely libertarian communism. But what of the possibility of a centralized society choosing to decentralize after it had inherited a centralized productive base developed under capitalism? It is, after all, precisely this which Marx must have had in mind.
We cannot rely on the directors of technology who benefit from centralization to implement a decentralized technology which facilitates direct workers’ control. It is much more probable that the ideological commitment to centralization such directors are likely to have would lead them to maintain the course of technological centralization. And the ideological commitment to technological centralization should not be taken lightly. Those who would be in a position to manage the centralized technology of a post-capitalist society would be those who had risen in the ranks of the emerging techno-bureaucracy needed to develop, supervise and operate the centralized technology which had developed under capitalism. As anyone who began to have doubts about such technology would be unlikely to rise very far in the ranks of the techno-bureaucracy, there are structural tendencies towards the maintenance of an ideological commitment amongst the higher echelons of the techno-bureaucracy to high-prestige, centralized technology. Moreover, knowledge of highly complex and mystified technology is the preserve of an elite who would lose their status if technology were simple. Their social position depends upon retaining and further developing technologies which are incomprehensible to most people.
We must conclude that the techno-bureaucratic heirs of the developing capitalist system who are likely to find themselves in the ascendency after that system’s demise are unlikely to be committed to instigating a massive switch towards decentralization (geographical, technological and political) or readily-appropriated technology which would subvert their ascendant position.[34] Such a technobureaucracy is most likely to maintain the present course of technological development. This has happened in Russia. But is there not an obvious counter-example of such importance as to cast any such claim in doubt — namely, that of China?
Certainly from very early times, China has often been the world’s most centralized state. But here we must bear in mind the distinction between political and technological centralization. China has a history of political centralization, but also has one of geographical and technological decentralization. Rather than acquire a centralized technology that needed to be replaced by a decentralized one which would provide the material base for the rural communes, revolutionary China inherited a highly decentralized population (with some notable exceptions), and has been in the position to develop further an appropriate, decentralized technology to raise the material level of those communes. Unfortunately, the party has as its goal the development of a much more centralized technology, and ultimately would only appear to be interested in the decentralized technologies as a stop-gap. The likely long-term consequences are that technologies which are appropriate to direct workers’ control will be progressively superseded by a city-based technology more appropriate to control by the central leadership. In any case, China does not provide an example of a technologically-centralized society decentralizing after a revolution.
Thus, any expectation of a ‘transitional’ revolutionary government pursuing or being in a position to pursue a policy of technological decentralization after coming to power is hopeful in the extreme. In the First World, we have a technology which requires technical experts to keep it productive (e.g. nuclear power stations). Are the proletariat not going to be dependent upon such a privileged class immediately after a revolution? Are they no longer going to defer to their opinions on technical matters? (If they do not, it will probably only be because of visible incompetence giving rise to ecological disasters.) And as anyone familiar with the current nuclear power debate is aware, technologists have a great deal of emotional and intellectual investment in their creations. Capital-intensive scientific development is viewed as a value in itself. Are such individuals infected with such views likely to advise the proletariat to abandon high-prestige, centralized technologies in favour of ones more suited to decentralization and possessing less mystique? Are such individuals likely to redirect research into decentralized technologies? That seems highly dubious.
Well then, might not the proletariat itself abolish the distinction between town and country without relying on technical specialists? Marx regarded such a decentralist move as a necessary pre-requisite for avoiding a permanent distribution of labour into different specialized areas. But for the proletariat to attempt a decentralizing move on its own would be to abandon the centralized technology and expertise developed in capitalism, one or both of which supposedly being the material precondition for the new society. Present, highly centralized technology does not provide the basis for a more equitable distribution of the people over the country as Marx wished. If we return to the case of electricity, nuclear power stations (which many governments are keen to promote and export to the less-developed nations) produce very high quantities of low-entropy energy which can only be transported relatively inefficiently and expensively (see Lovins, 1979, pp. 87–90). This is of particular importance for Third World development because the cost of building a grid system is prohibitively expensive. What is more, even with a network of high-energy transmission lines, the cost of stepping down the voltage so as to make the energy accessible to a decentralized population makes such a proposal lack feasibility. There are already many examples in the Third World of peasants unable to use the energy passing through the transmission lines above their heads. Nuclear power stations are most appropriate for providing the power requirements of centralized, urban-industrial conurbations. The kinds of power source appropriate to decentralized, rural/semi-industrial communities spread over the surface of the countryside are many smaller generators (such as windmills, bio-gas plants, solar collectors, etc.) scattered throughout the land.
What is of prime importance is that the interests of those who wish to retain control over industry, energy supply and the labour force are such that they are concerned to promote centralist technology. Consequently, it is not surprising that only a fraction of the money spent in Britain on research into nuclear power is spent on research into alternative sources of energy. And even when research is directed towards renewables, the focus is upon massively centralized technologies, such as gigantic constructions working on the differences in temperature between the surface and depth of the oceans, or satellites to reflect solar rays to earth. Research is directed into spatially-centralized technologies which facilitate politically- and economically-centralized control. Yet Marxists more often than not are uncritical of the direction of development of the productive forces. True to Marx, their only concern is often whether or not new productive forces increase labour productivity.
Let us turn to consider food production. The agricultural method developed under capitalism is also appropriate to the geographical centralization of the people into the towns. It involves the use of a great deal of technology and a small labour force. It is, of course, geared to the maximization of profit. Such ‘agri-business’ is exemplified by the capitalist farmer who owns a large tract of land out of which he (or she) wishes to make money. A potentially expensive and troublesome factor is his (or her) labour force. Like the industrialist, he (or she) minimizes that running cost with capital-intensive agricultural techniques. This involves maximizing the productivity per labourer. But it also involves the movement of labour away from the land. Yet Marx approved of the general trends of capitalist farming in opposition to small-scale rural production:
All modern methods, such as irrigation, drainage, steam ploughing, chemical treatment and so forth, ought to be applied to agriculture at large. But the scientific knowledge we possess, and the technical means of agriculture we command, such as machinery, etc., can never be successfully applied but by cultivating the land on a large scale (1969, pp. 288–9; contrast with Kropotkin, 1974).
Marx is here condoning the development of the kind of agriculture which involves monoculture so that capital-intensive technology (such as combine-harvesters) can be utilized. Not only does this have environmentally hazardous consequences (e.g. the need for pesticides, the weakening of the structure and subsequent loss of the topsoil, etc.), it requires the constant input of large amounts of inorganic fertilizer (environmentally hazardous in itself as it leaches into the rivers and pollutes them), which is a finite resource. And for a society to gear the long-term production of food to the heavy use of a finite resource is socially suicidal.
Moreover, Marx relates progress to labour productivity. In this regard Marx is in agreement with the capitalist farmer. But productivity per labourer is not the same thing as productivity per acre. As labour is a major cost, the farmer is often in the position of measuring production not in terms of acreage, but in terms of employees. The most productive areas in Britain, not in the sense of profit to the farmer, but in the sense of food produced, are small allotments where labour-intensive techniques are used. (For example, the deep-bed method of agriculture can produce four times the food per acre as most other forms.) The giant collective farms in Russia most follow Marx’s recipe, yet in 1963 only 4 per cent of the land was privately owned and, even though it used less capital-intensive methods than the collectivized forms, it still managed to produce just under half the food grown in that country (ibid., p. 116).
We thus see the advantage of decentralization. It offers the possibility of labour-intensive agricultural techniques which are productive in terms of natural resources, rather than in terms of human energy. But profitability will deter the capitalist from encouraging the growth of a decentralized agricultural base.[35] And the centralized industries of the urban areas restrict the possibility of any large-scale move back to the land. Hence, highly centralized, capital-intensive technology developed under the capitalist system provides the material base appropriate, not to a decentralized society involving direct workers’ control, nor to a centralized society about to embark on the road towards decentralization, but to a perpetually centralized society directed by that elite which its technology has called and continues to call for. Moreover, the ideological commitment on the part of the techno-bureaucracy to centralization means that they cannot be relied upon to employ the technical knowledge (which they are privileged in possessing) for the purpose of developing the decentralized technology appropriate to a libertarian communist society. In what sense, then, does capitalism provide the material base for a desirable post-capitalist future?
2.7 Developing the Historical Schema
In the course of our discussion of the technological trends of capitalism we have noted the possibility, indeed the necessity, of an emerging group who are required to supervise, develop and operate the advanced technologies which are the product of capitalist development. The bourgeoisie, being forced to reduce the proletarian to a relatively unskilled machine operator, has simultaneously brought into being a quite different group of technical experts. How is this to be fitted into Marx’s model of the dialectic of class struggle?
Marx’s general schema when applied to the bourgeois revolution informs us that feudal society consisted primarily of nobility and serfs. Then the bourgeoisie arose and wrested power from the nobility in a revolution. The next revolution, we are informed, will comprise the proletariat similarly wresting power from the dominant economic class (now the bourgeoisie) and forming a classless society. We can see a progression here. There are three economic classes: the nobility, the bourgeoisie and the serfs (or proletariat when they are in the employ of the bourgeoisie), which, after a revolution, reduce to two: the bourgeoisie and the proletariat. A further revolution will, we are told, reduce these two classes to one: the proletariat (which will, strictly speaking, no longer be a class). This gives the pattern represented in Figure 2.3a.
But if we begin at an earlier stage in history, then the pattern looks less convincing as a model of historical change. Once there were two economic classes: the nobility and the serfs. But in between these emerged the bourgeoisie. The latter wrested power from the nobility in a revolution, and this left two economic classes again. But this time they are the bourgeoisie and the proletariat it now employs (as represented in Figure 2.3b). Here we see a quite different pattern.

Why should this pattern not now be repeated? We see no reason for denying the possibility of a new class emerging between the bourgeoisie and the proletariat in the same way that the bourgeoisie emerged between the nobility and the serfs. (Figure 2.3c represents such a possibility.) This would merely repeat the general characteristics of the pattern which can be observed from a study of the French Revolution, the source of Marx’s theory of revolutionary transformation.
By extending the pattern observed (as in Figure 2.3c), rather than resolving it in the way Marx appears to (Figure 2.3a), a new class (perhaps a techno-bureaucracy managing a ‘national capitalist’ economy?) arises and then achieves a position of social dominance, just as the bourgeoisie had done before it. Why should the dynamic of capitalism rule out a state-managed society where governmental power, perhaps, as well as control of the forces of production rest not in the hands of the proletariat, as Marx hoped, but in the hands of a techno-bureaucratic elite arising out of the capitalist system?
The extended pattern which we have presented in order to project the future consequences of capitalist technological development (Figure 2.3c) is, moreover, consistent with the theory that those who have gained economic power or control through the development of material production ultimately acquire political power as well.[36] But this is precisely what the bourgeois Revolution told Marx! Yet the resolution offered by Marx (Figure 2.3a) cannot cite any such theory in its support. The development of capitalist productive forces does not lead to the proletarian control of those forces.
In our view, Marx’s resolution (Figure 2.3a) is wishful thinking. It involves a totally different relationship between the revolutionary bourgeoisie and the nobility from that between the revolutionary proletariat and the bourgeoisie. As John Plamenatz writes:
The feudal nobility and the rising bourgeoisie, though their class interests conflicted, never stood to one another in the same relation as, according to Marx and Engels, the capitalists stand to the proletariat. The feudal nobility never exploited the medieval burghers as the capitalists exploit the proletariat; they exploited the serfe but not the merchants and craftsmen in the towns (1963, p. 305).
With our projection (Figure 2.3c), however, the relationship of the techno-bureaucracy to the bourgeoisie is not crucially different from that of the bourgeoisie to the nobility.[37] Managers of state industries and leading technologists occupy a position whereby they can begin to exploit the lower classes, but are not exploited by the capitalists.
With the ever-greater need for planning vast industrial enterprises spawned by capitalism, and with the growth of ever-more mystifying, sophisticated technology, we can envisage a technocracy or bureaucracy or a class consisting of both gaining control of the productive base of society.[38] We suggest that the next stage in historical development after capitalism might consist in such a group enjoying political power or its patronage, rather than the proletariat doing so. And, as such a group would have arisen because of the development of the productive forces, it seems to be a conclusion which could be reached from Marx’s own premises.
It might be argued that the future possibility we are describing just is developed capitalism. But capitalism is characterized by the proletariat being forced to sell its labour to those who own the means of production. What we have projected is quite different. The proletarian would become a public employee who does not work for the owner of capital. If this is correct, then Marx is totally unjustified in writing that ‘the bourgeois relations of production are the last antagonistic form of the social process of production’ (59P, p. 390).[39] What, we suggest, Marx has done again involves a confusion in his account of historical transformation given in the 1859 Preface. Because Marx here focuses upon property relations, the possibility of other antagonistic forms is overlooked. What is important is not who owns property (a superstructural description) but who exerts effective control over the means of production and distribution.
We have not escaped the realm of exclusive control and political power. A new mode of production could develop out of capitalism which would still be based on and perpetuate the general ‘substructure’ of property conceptions and political authority. Its development could take place within the overall system based on the politico-ideological substructure,[40] though the specific forms of authority and conceptions of ownership would correspondingly alter. And it seems to be within such a general structure that an emerging class, the techno-bureaucracy, actually develops.
These remarks suggest a different conception of the relation between the different elements of a social formation from that offered by western Marxism. Althusser, following Marx’s rejoinder in Capital to those who put forward the view that politics and ideology, rather than the economy, were dominant in earlier modes of production, presents us with a complex structure of articulated levels comprising political, ideological and economic instances. One of these instances is dominant; but whichever one it is that is dominant is determined to be so by the economic. Now, we have argued that the development of the economy proceeds the way it does because it develops in the context of an ever-present ‘substructure’. The capitalist is able to increase his (or her) profit with a growth in labour productivity only when de facto property can be protected, usually by means of the preponderance of conceptions of ‘rightful’ ownership and/or political authority. This broad claim enables us to propose a different theory about the relationship of consciousness to production, and about the way that the different instances are related.
In the 1859 Preface, as we have seen, there are two fundamental and distinct claims: the economy determines consciousness; and the economy provides the dynamic within the social structure. If, in place of Marx’s claim about the relationship of consciousness to productive activity, we substitute our notion of a politico-ideological substructure underwriting production and determining its form, then we can still accept that in the capitalist mode of production the movement of the economy affects the whole structure. But instead of the economic determining that the political, ideological or economic instance is dominant, we have reason to think that the politico-ideological substructure, upon which is built the structure of the social formation, determines that one instance may be dominant. In capitalism, the economically-oriented substructure gives the economy a dominant role in changing the exact nature of society. This means that, while the substructure remains static, the development of the economic instance, an instance occupying a central position in capitalist conceptions, is virtually given a free hand.
Our model differs from Althusser’s in that it is a change in the politico-ideological substructure which occupies the most important position in the radical’s view of society — not a change in the economy. Yes, the economy develops. But as it does so in the capitalist mode of production it gives rise to a new class which operates and comes to ascendancy within the general context set by the substructure. The movement of the economy which is prominent in the capitalist mode of production does not lead to equality, but to the enjoyment of power (first economic, and perhaps then governmental) by an emerging new elite. The change is fundamentally a repositioning within the hierarchical structure determined by the substructure. And the change within the structure does not undermine the substructure, but merely alters certain aspects of its future form. The economic dynamic of capitalism leads not to the overthrow of political and economic hierarchy, but merely to a change in the type of personnel which most benefits from the existence of the hierarchical structure.
Marx has not presented us with a route out of this evolving structure based on property and political power. He has kept the revolutionary within it by claiming that the development of capitalism itself opens the door to a libertarian communist revolution. Marx has led the radical Left down a blind alley. Rather than flow with the tide of capitalist development as Marx has advised, the revolutionary must instead change the whole inhibiting structure in which development has so far been confined. The major change required would not seem to be in the economy, but in the politico-ideological substructure. Marxists, even when economic crises have ostensibly provided the ‘objective conditions’ for revolution, have still found themselves having to work hard in the domain of developing a revolutionary class consciousness amongst the oppressed. Might this not be so because it is consciousness (specifically in terms of attitudes to authority and property) which is what ultimately holds the social formation together? What has most obscured this realization is Marx’s defective a priori claims about the priority of production.
2.8 The Sources of Marx’s Errors
We thus see that the development of the forces of production may well involve a change in the mode of production. But, when they are consistently extended, past patterns of historical change suggest the possibility of a different future from that of a proletarian-controlled society. Marxists optimistically argue for the further development of capitalism in the belief that the result will be the seizure of power by the proletariat. Our analysis of Marx’s arguments suggests that no such optimism is warranted. The further development of capitalism could well lead to a state-managed society which is controlled not by the proletariat, but by a techno-bureaucracy. If this is the case, then social progress does not simply follow from technological developments, and the Marxist faith in historical progress is quite unjustified.
Such an outcome never occurred to Marx, because he linked social progress inextricably to technological development. And since Marx, following Hegel, believed history to follow a course of dénouement, he was limited to a conception of technological development which was, in the main, unidirectional,[41] at least as regards the later stages of capitalism. (This is certainly suggested in Cl, p. 91.) This ruled out, for Marx, the possibility that different advanced technological roads have different social implications. Some may be genuinely liberating; others may lead the workers into a dead-end. Marx’s blinkered view prevented him from seeing that radicals may need to do something about changing the direction which technology has taken — for instance, away from centralist and towards decentralist forms.
One result of Marx’s assuming a propitious consummation of history is that his judgements on progress contain a teleological element. Marx often praised the development of capitalism even when it resulted in the utter degradation of its workers. Take, for example, Marx’s apologetics for the misery brought to India by the British:
...we have the right, in point of history, to exclaim with Goethe:
Should this torture then torment us
Since it brings us greater pleasure? (1973b, p. 307).
The ostensible justification for this attitude is that Marx saw capitalism as leading to the revolution of the proletariat and the end of class society. Capitalism was often measured by Marx in terms of its ability to bring about the end he desired. But if no such end is forthcoming, then Marx’s whole assessment of progress in history must be brought into question. If capitalism brings misery without bringing the proletarian revolution, can it be regarded as progressive?
Why, then, did Marx make the mistakes which may have caused him to have a totally erroneous view of progress in history? One reason concerns the way he took on board Hegel’s view of progress. Hegel saw history as the progress of freedom. Marx accepted this uncritically, but translated it into terms of man’s increasing productivity and control over the environment. In the Phenomenology, Hegel describes the dialectic of the master and slave. One consciousness in seeking self-recognition reduces another to that of a slave. However, the master does not gain the recognition he requires, because the slave is no longer his equal. The slave, on the other hand, is forced to labour for the master. But in shaping nature, the slave gains consciousness ofhimself (see Hegel, 1977, pp. 118–19).
Marx, in his early period, argued within the basic outlines of this dialectic when he assumed that the historical development of the labourer is such that he or she finally comes to control his or her productive activity and realize his or her true human self (see EPM, pp. 385–6). Marx never questioned the central features of this process. He assumed that the proletariat, the embodiment of labour, after being estranged by the labour-process, would come to control the productive forces and, correlatively, nature. He failed to note that the development of the technology which enables control over nature might itself involve the growth of a non-working class which achieves a privileged position because of its technical expertise. The master/slave dialectic in the Phenomenology implies that the labourer comes to have control over nature. This may be true of the ‘petit-bourgeois’ craftsman, but in capitalism only the technologists really come to control nature in any meaningful sense — they, not the proletariat, are therefore in a position to become the new masters. It is this class utilizing a technological approach to management which comes, with the development of capitalism, to understand and, therefore, control not only nature but also labour. Modern industry militates against the labourer coming to be in control of his or her environment. Marx did not see this possible outcome because, like Hegel, he expected a benign consummation of history (see, for example, EPM, p. 348).
But there is a second error in Marx which is also derived from Hegel. Engels describes Hegel’s contribution to philosophy as follows:
Truth, the cognition of which is the business of philosophy, was in the hands of Hegel no longer an aggregate of finished dogmatic statements, which, once discovered, had merely to be learnt by heart. Truth lay now in the process of cognition itself, in the long historical development of science, which mounts from lower to ever higher levels of knowledge without ever reaching, by discovering so-called absolute truth, a point at which it can proceed no further, where it would have nothing more to do than fold its hands and gaze with wonder at the absolute truth to which it had attained.... In Hegel the views developed above are not so sharply delineated. They are a necessary conclusion from his method, but one which he himself never drew with such explicitness. And this, indeed, for the simple reason that he was compelled to make a system and, in accordance with traditional requirements, a system of philosophy must conclude with some sort of absolute truth. Therefore, however much Hegel, especially in his Logic, emphasised that this eternal truth is nothing but the logical, or the historical, process itself, he nevertheless finds himself compelled to supply this process with an end, just because he has to bring his system to a termination at some point or other (1969a, 240–1).
But the end of the system in The Philosophy of Right is the bourgeois state. Marx, in fact, commits exactly the same ‘error’ as Hegel. Marx similarly closes his historical dialectic prematurely, only he proceeds to terminate the historical process (notwithstanding Engels’ claim that history goes on) at what he considers to be the stage after the bourgeois epoch. And it is here that Marx resolves the conflict between bourgeoisie and proletariat, rather than seeing the development of capitalist technology produce a new class emerging from within that conflict.
Marx has failed to conceive of a techno-bureaucracy arising dialectically out of the nature of capitalist development. And he has failed to do so even though Engels observes that ‘all institutions set up by the society which has arisen with civilization turn into the opposite of their purpose’ (1976, p. 178). It is crucial that it be recognized that the dialectic of capitalism is such that the bourgeoisie seek to develop advanced technology to de-skill the labourer, but in order to do this they inadvertently create a new class which is necessary to develop that technology, and this new class becomes so related to the means of production that it subsequently finds itself in a position to overthrow the dominance of the bourgeoisie.
By falling into philosophically-based errors, Marx has failed to provide a satisfactory theory of historical transition which can aid the liberation of the oppressed. Yet that is precisely what he claimed to have achieved:
What I did that was new was to prove: 1) that the existence of classes is only bound up with particular historical phases in the development of production, 2) that the class struggle necessarily leads to the dictatorship of the proletariat, 3) that this dictatorship itself only constitutes the transition to the abolition of all classes and to a classless society... (Marx, 1970b, p. 660).
By listening to Marx and relying on the trend of history, by attempting to fit into its general direction, rather than change that direction, radicals are now saddled with the possibility of state-managed postcapitalism. Marxism must be decisively rejected for failing to locate the problems we have drawn attention to, and for unwittingly offering us such a future. Capitalism is in a process of transition, only not in our opinion to something desirable. Radicals must reject both the Marxist and the capitalist positions, both of which offer us a future of the centralized, authoritarian rule of techno-bureaucratic experts.
But it is not only because of the errors indicated above that Marx failed to consider the possibility of an authoritarian state with production managed by a techno-bureaucracy. His theories of class and of the state also help to explain that failure. But before we consider Marxist approaches to class, there is a further reason why Marx believed that capitalism would give way to a proletarian-controlled society. His economic theory led him to expect a catastrophic breakdown of the capitalist system. So, after having paid so much attention to the technological side of Marxist theory, we next turn to its economistic side.
Economics: 3. Crisis, Value and Profit
We must now examine Marx’s economic theory for it is here that a dynamic within capitalist development is supposedly revealed — a dynamic which is thought to serve the revolutionary by subjecting capitalism to periodic crises of increasing severity. And, according to the ‘economistic’ reading of Marx, it is through the aid of such a crisis that the proletariat will be able to overthrow the capitalist system. Undoubtedly, there is considerable justification for this reading of Marx in as much as he writes that ‘a new revolution is possible only in consequence of a new crisis. It is, however, just as certain as this crisis’ (1958, p. 231). Moreover, as was mentioned in the previous chapter, Marx exhibits a derisory attitude to the ‘Utopian Socialists’ for failing to root their revolutionary pronouncements in the dynamic located within the capitalist mode of production, Marx believing this dynamic to evolve the prerequisites for a successful revolution. The economistic school (c) identifies the dynamic as economic in nature. Hence, if this interpretation of Marx is correct, then his economic analyses occupy a central role in his overall theory of revolutionary change. In which case, if these analyses should prove unsatisfactory, then Marx’s whole system becomes questionable.
As we observed in our discussion of Marx’s theory of history, there is a tendency for the productive forces to develop through time, and in the capitalist mode of production there is an economic motivation for this development. Competition between capitalists forces them to develop new productive forces which serve each individual capitalist by increasing the productivity of each worker. However, as Marx argues, this has tremendous long-term importance for capitalism. To see exactly why this is so, we shall have to look at Marx’s labour theory of value in some detail.
It must be stressed in advance, however, that, all appearances to the contrary, we shall not primarily be engaged in economic analyses. We shall instead be concerned with meta-economic questions, principally for the initial purpose of clarifying the concept ‘value’ as used as a foundation for economic analysis. What is more, we shall not concern ourselves with modern economic methods because we wish to criticize Marx’s theory from within his own theoretical boundaries — an immanent critique of Marx must analyse his economics in his own terms. Once we have considered the concept ‘value’ we shall then be in a position to comment on Marx’s substantive economic claims. This is because those claims arise out of the conception of value which he employs. Meta-economic questions are therefore the necessary prelude to a discussion of Marxian economic theory.
3.1 Marx’s Labour Theory of Value
Marx is impressed, like Adam Smith before him, by the way that an ‘anarchic’ system of production (capitalism) nevertheless manages to satisfy its needs to the extent that it has survived for a considerable number of years. And, like Smith, Marx sees that the answer to the way that society’s needs are met lies in the market. But unlike Smith, Marx is concerned to show how it is that one particular economic class in society which does not itself produce its means of subsistence somehow manages to accumulate all the wealth produced under capitalism. This leads Marx to pay considerable attention to the process of production.
How, then, are these problems to be approached? Society has a limited total quantity of labour to expend in producing its requirements. But without any planning of the economy, capitalism manages to distribute labour so that different quantities of it are exerted in different industries, ensuring that all the goods which a society needs to reproduce itself are made. Marx considers the underlying mechanism (his equivalent of Smith’s ‘invisible hand’) to operate through the form which the products of labour take when they are exchanged. Marx’s tendency towards a focus upon the collectivity, when he directs his attention to the form that the products of labour take in capitalism, is revealed by C. J. Arthur: ‘He [Marx] shows that the commodity form of the product of labour gives rise to the diremption between the concrete labourers and their abstract essence, and expresses the essential unity of social labour as an abstract totality’ (1979, p. 107). Marx’s aim, therefore, is to explain how this abstract totality of social labour divides itself into different particular forms of useful labour.
How is this aim to be achieved? Marx begins by observing that the goods produced in capitalist society are produced in order to be sold. What soon becomes apparent is this fact that goods are manufactured in order to be sold on the market itself provides the basis for an explanation of the mechanism which ensures that society’s labour is distributed into different sectors of production. Essentially, if a good cannot be profitably sold, some of the producers of that good will move into a different sector and produce goods which can be sold. In this way, the requirements of society are met. But goods can only be sold if there are people who can buy them, and these people will only be able to buy goods if they have produced something of value. Ultimately, one produced good is exchanged for another. But how are different goods to be exchanged? Marx answers this question by arguing that goods which are produced for exchange (commodities) possess a value which allows exchange to take place: ‘... it is not the exchange of commodities which regulates the magnitude of their values, but rather the reverse, the magnitude of the value of commodities which regulates the proportion in which they exchange’ (C1, p. 156).[42]
But what determines the value of a commodity? A commodity is observed to have value when it is offered in exchange for another commodity.
Whatever the exchange relation may be, it can always be represented by an equation in which a given quantity of corn is equated to some quantity of iron, for instance 1 quarter of corn = x cwt. of iron. What does this equation signify? It signifies that a common element of identical magnitude exists in two different things, in 1 quarter of corn and similarly in 1 cwt. of iron. Both are therefore equal to a third thing, which in itself is neither the one nor the other. Each of them, so far as it is exchange-value, must therefore be reducible to this third thing (C1, p. 127).[43]
What could this third thing be? Marx attempts to answer this question by asking what the factor common to all commodities is. We can reject their useful qualities (their use-values) because if two objects had the same use-value, there would be no point in exchanging them. Certainly, all objects which exchange have a use-value, but as the usevalues are different this cannot be the common factor we are searching for.
The only factor that might be relevant which Marx can locate concerns production. All objects which are produced in capitalism for the purpose of exchange have been laboured upon. Marx concludes that it is the labour embodied in their production which imparts exchange-value to commodities: ‘The values of commodities are directly as the times of labour employed in their production, and are inversely as the productive powers of the labour employed’ (WPP, p. 205). For Marx, ‘a commodity has a value, because it is a crystallization of social labour’ (ibid., p. 202). But as each labour is different from another, the common factor is ‘abstract labour’, labour in general. What should be observed at the outset is that Marx begins his economic analyses with a philosophical derivation of the nature of value.
But is Marx’s argument satisfactory? Bohm-Bawerk has pointed out that ‘exactly the same evidence on which Marx formulated his verdict of exclusion against the value in use holds good with regard to labour’ (1975, p. 76). In other words, if one cannot regard use-value as the common factor because use-values are different, the same is true of labour because the labour of a carpenter is qualitatively different from the labour of a welder. And it is no help to observe that mechanization tends to make all labour the same. If this were one’s defence, the labour theory of value would break down if qualitative differences in labour were to arise. But the tendency for such differences to arise is precisely what we noted in section 2.6. We might add that if Marx can equate qualitatively different labours as abstract labour, why could one not equate use-values as abstract usevalue and make that the factor common to all commodities? We do frequently hear the reply of ‘It makes no difference’ to questions concerning whether one should go to the cinema or go out for a meal at a restaurant. Is this not an example of abstract use-value?
Furthermore, some objects which are exchanged in a capitalist mode of production have had no labour exerted upon them — for example, virgin land, which, nevertheless, has an exchange-value. As Bohm-Bawerk writes:
Now it stands to reason that if exchange really means an equalization, which assumes the existence of a ‘common factor of the same amount’, this common factor must be sought and found in every species of goods which is brought into exchange, not only in products of labour but also in gifts of nature, such as the soil, wood in trees, water power, coal beds, stone quarries, petroleum reserves, mineral waters, gold mines, etc. To exclude the exchangeable goods which are not products of labour in the search for the common factor which lies at the root of exchange-value is, under the circumstances, a great error of method (ibid., p. 70).
Attempts have been made by Marxists to defend Marx against this charge by arguing that his starting-point is the totality of labour in society, and it is obvious that this must be distributed. Hence, the amount of this labour contained in a commodity determines how that commodity will be exchanged, and a failure to exchange will direct the producer’s labour elsewhere. The value of wood, etc. is determined by the labour that has been expended in the planting, cutting down of the trees, etc. Virgin land must be explained in terms of a monopoly rent which is different to normal commodity exchange. Nevertheless, there do appear to be difficulties in accounting for how goods owned or produced under monopoly conditions exchange, and we shall return to this question later. Suffice it to say, the fact that social labour has to be distributed is, on its own, no proof that it is the labour itself which determines how it is to be distributed.
But there is an apparent difficulty which Marx himself deals with: if the labour expended in the production of a good (measured in terms of labour-time) determined its value, would not a slow worker produce more valuable goods than a more efficient worker because more labour-time would be necessary to produce the good? Marx avoids this difficulty by claiming that it is not the actual labour-time employed, but the socially necessary labour-time which determines value: ‘Socially necessary labour-time is the labour-time required to produce any use-value under the conditions of production normal for a given society and with the average degree of skill and intensity of labour prevalent in that society’ (C1, p. 129). Furthermore, to avoid the difficulties which arise when value is ascribed to useless work, Marx restricts socially necessary labour-time to the production of goods which are in demand.
However, Marx then goes on to claim: As exchange-values, all commodities are merely definite quantities of congealed labour-time” (ibid., p. 130). But whereas simple labour-time seemed a plausible candidate for an entity congealed in a commodity, socially necessary labour-time does not. If I produced a good yesterday and I tried to sell it yesterday when it was in demand, then it would have contained socially necessary labour-time. If I try to sell it today and it is no longer in demand, then it no longer contains socially necessary labour-time. If it comes back into demand tomorrow, it contains it again! It is an odd sort of entity which is ‘congealed’ or ‘crystallized’ in a commodity and yet which comes and goes due to factors external to the object it resides in! Moreover, with such a strange common factor being offered, the doors are opened to a host of potential common factors. We shall offer one of our own in due course.
But to return to Marx’s exposition. If labour-time determines all value, how does the bourgeoisie become rich? Marx’s answer is that in capitalism, the worker has nothing to sell but his or her labourpower, and this becomes a commodity offered for sale on the market. Unlike any other commodity, however, labour-power has the unique property of being able to produce value. Marx argues that the worker sells his or her labour-power for an amount that enables the reproduction of that labour-power (the historically-specific cost of his or her subsistence and that of his or her dependents). During part of the working day, the worker produces value equivalent to this cost, but the rest of the day produces a surplus-value, and this is appropriated by the capitalist who owns the means of production. Marx’s labour theory of value accounts for exploitation in this manner. And it is because it can readily be seen, given this analysis, that in the production process the labourer produces value which is then appropriated by the bourgeoisie as a class (whereas exploitation is not thought to be revealed as obvious by other theories), that Marx’s economics are so persuasive to the Left.
Unfortunately, the basis of all these claims are a priori arguments which, as we have seen, are unconvincing. However, some recent accounts of Marx’s economics, notably Hegelian readings, deny the relevance of the philosophical arguments which apparently underpin Capital. Marx is instead thought to be analysing theoretically an existing process. This process concerns the way that, in exchange, individual labour becomes social labour and, in doing so, value comes into being. What, though, is then meant by ‘value’? The concept of value, according to Jairus Banaji, ‘can be formally defined as the abstract and reified form of social labour, and the term “commodity-form of the product of labour” can be taken as its concrete-historical synonym’ (1979, p. 34). Value, which arises in exchange, is reified as the universal equivalent, which becomes money. Money as capital then expands itself through the production process M — C...P...C’ — M’ (where ’M’ stands for ‘money’, ’C’ stands for ‘commodities’, and ’P’ stands for ‘a production process’). Due to the creation of surplus-value, M’ is larger than M. But one of the commodities which is purchased at the beginning of each round of this process of capital accumulation is labour. Hence, abstract labour comes to be reified, and in its reified form it comes to rule over its nonreified self. Capital dominates labour.
But this argument presupposes that value is reified abstract labour as understood by Marx. If it is not as understood by Marx, then Marx’s economic analyses do not follow. And as Marx understands value, it ‘is an objectification of a quantity of socially necessary abstract labour-time...’ (Elson, 19^, p. 133). The whole story breaks down if value and socially necessary labour-time are not equivalent. Now, there is something plausible underlying the story of the self-development of abstract labour: In the exchange process money comes into being in order to facilitate that process. Money is accumulated, and its bearer comes to hold power over labourers. But none of this establishes that abstract labour has any relevance. That money has come to dominate society few would deny; that abstract labour has is a different claim. If a value is a quantity of socially necessary abstract labour-time, this must be demonstrated. Marx has not engaged in an empirical study of the labour-time embodied in each commodity, which is precisely why he employs a priori arguments in order to demonstrate that value is equivalent to labourtime. But, to repeat, those arguments are unconvincing and, consequently, we are free to reject Marx’s labour theory of value should an alternative theory of value arise which we prefer.[44]
Before we continue, it is worth noting that Ernest Mandel offers three ‘proofs’ of Marx’s labour theory of value. The first he calls the analytic proof. If the price of a commodity is broken down into its constituent parts, then the entire costs tend to reduce to labour. But this will not do as a ‘proof at all. If the entire costs reduced to labour, then this could only be visible in terms of labour costs. (For one thing, the sale-price is not visibly due to labour-time, because of the mechanism whereby value is transformed into price; see C3, pt. ii.) If, in the production of raw materials, say, labour-time over and above the time taken for the labourer to produce his or her own labour costs (i.e. surplus-value) is not paid to the labourer, how can it be observed that the entire costs of a finished product requiring such raw materials reduce to labour? But if the entire costs of a finished product do tend to reduce to labour costs, how can it be that profit in the production of raw materials is due to the difference between labour costs and labour-time expended? The difference between labour costs and sale-price appears throughout the production of raw materials, energy, distribution, etc. In which case, it is not at all obvious that the entire costs tend to reduce to labour. With regard to raw materials, for example, same costs to those utilizing them in the production of commodities must be due to the profit previously realized by other members of the capitalist class. How do we know this is determined by the labour-time expended?
Mandel’s second ‘proof, which he calls the logical proof, is that labour-time expended is the only common quality which is not physical. We shall offer another non-physical common factor in due course. When we do so (in section 3.4), it will be clear that this ‘proof falls too.
The third ‘proof is the proof by reduction to the absurd, ‘the most elegant and most “modern” of the proofs’ (Mandel, 1973, p. 27). Here, Mandel asks what would happen if human labour were completely eliminated from the production process? This ‘proof will be responded to in detail because an examination of the Marxist assumption of a necessary relationship between labour and value will, we believe, reveal serious inadequacies in Marxist economics. But before we attempt this, we shall outline the consequences for capitalist development which Marx’s labour theory of value apparently reveals.
3.2 The Rate of Profit
From the standpoint of his labour theory of value, Marx is able to divide the production costs intotwo components: a capitalist needs to invest his (or her) capital into the means of production (which Marx calls constant capital) and into wages for his (or her) workforce. But these workers are able to produce surplus-value. Marx calls the capital invested in this component variable capital. The relation between surplus-value produced and variable capital invested equals the rate at which workers are exploited, the rate of surplus-value. The capitalist, however, invests only to make a profit, and so he (or she) will be concerned to maximize the profit in relation to the investment. This relation is termed by Marx the rate of profit, and it is measured by dividing the surplus-value by the summation of the constant and variable capitals.
Clearly, capitalists will attempt to realize the maximum rate of profit possible. If one sector of production realizes a greater rate of profit than another, then some capitalists will withdraw capital from the less profitable sector and invest it in the more profitable one. With increased competition in this growing sector, prices will fall, and the overall effect will be an equalization of the rate of profit throughout all sectors of the economy. This leads to an average rate of profit.
The rate of profit can be increased if the rate of exploitation is increased. One way of doing this is to increase labour productivity by developing the means of production. This, Marx believes, will entail an increase in the proportion between constant and variable capital. This proportion Marx calls the organic composition of capital. However, other capitalists, in order to compete, will also be driven to modernize their means of production, and when they have done so the first innovating capitalist’s profits will be driven back down to the average rate. The result of this should be a relatively constant rate of exploitation, but an increasing organic composition of capital as the forces of production are developed. But as the rate of profit is equal to surplus-value divided by the sum of constant capital plus variable capital, if the constant capital increases relative to both variable capital and surplus-value, then the long-term tendency of capitalist development is, according to Marx, for the rate of profit to fall.[45] And with this tendency, the days of capitalism are numbered.
Now, Mandel argues that capital will be drawn from areas with a high organic composition of capital to areas where the organic composition of capital is lower. This is because the rate of profit will be higher in these areas (see Mandel, 1968, p. 159). And this is how ground-rent is to be accounted for. There is a peculiarity concerning land:
Whereas in industry all the material factors of production — machinery, raw materials, labour — could be produced and reproduced by capitalism itself, and produced at a price relatively or absolutely lower and lower (in the case of labour, thanks to the industrial reserve army!), in agriculture, the basic material element of production, the land, is given, in limited quantity, once for all. It constitutes a natural monopoly, marked for ever with the stamp of shortage (ibid., p. 275).
But this monopoly is not sufficient to explain the nature of ground-rent; a further factor, the low organic composition of capital in agricultural production, is also required. As Mandel continues:
Where does [the] rent come from which appears on the least fertile land? Its source lies in the fact that the wheat produced... is not sold at its price of production but at its value, and that the latter exceeds the price of production because the organic composition of capital is lower in agriculture than in industry, whereas the monopoly of landed property prevents the free flow of capital in and out of agriculture, so that agricultural capital is thus prevented from ‘sharing’ in the social equalization of the rate of profit, giving up part of the surplus-value created in ‘its’ sphere to the general share-out of this surplus-value (ibid., p. 279).
In other words, Marxist theory requires the sphere benefiting in this manner to enjoy a relatively low organic composition of capital.
But what about the case of Twin Earth?[46] Twin Earth has two continents : a northern land and a southern land. In the northern land, the economy evolved into only two spheres: capital-intensive production by means of complex technology (which we shall simply call ‘hi-tech’); and labour-intensive production (which we shall simply call ‘lo-tech’). In the past, what are now the spheres of hi-tech production and lo-tech production formerly had the same organic composition of capital. If we consider the investment of 100 value units during this period, then 60 units were taken up in constant capital (5 units being used up in the production process), and 40 units mobilized the variable capital. Both sectors of the economy enjoyed a rate of exploitation of 100 per cent. Following Marx’s method of transforming value into price,[47] we can produce Table 3.1.
Table 3.1 Northern land production before breakthrough
r=s/v | s | s/(c+v) | used-c | value | cost price | price | profit | ||
Hi-tech | 60c+40v | 100% | 40 | 40% | 5 | 85 | 45 | 85 | 40 |
Lo-tech | 60c+40v | 100% | 40 | 40% | 5 | 85 | 45 | 85 | 40 |
sum | 120c+80v | 80 | |||||||
ave | 60c+40v | 40 |
First, the total capital invested is calculated. Together, both sectors have invested 120 units in constant capital and 80 units in variable capital, making a total of 200 units invested. Second, the average is arrived at by halving each figure, so the average invested is 100 units. Both sectors together realize a surplus-value of 80 units, which means an average of 40 units for each 100 units invested. In both sectors of production, 5 units of constant capital are consumed in production, and so the value of each batch of 100 commodities produced equals 5c + 40v + 40$, or 85 units. The cost price of each batch is 5c + 40v = 45 units. To this figure is added the average surplus-value for both sectors (40 units), giving a price of 85 units. This makes a profit of 40 units.
Now, Twin Earth has a peculiar feature. For a reason we have as yet failed to ascertain, it is impossible to transfer capital from the sector of lo-tech production to the sector of what was to become hi-tech production. This bore interesting results when the producers in one sphere combined together into a single corporation in order to make use of a technical breakthrough (thus generating hi-tech production there) which greatly increased productivity. Following the introduction of this new technology, the hi-tech production worker only needed to spend 1/lOOth of the time employed to produce the value equal to the means of his or her subsistence (necessary labour).[48] This increased the rate of exploitation (s/v) to 10,000 per cent. From then on, for every 100 units of capital invested in the production of hi-tech goods, 99 units went into constant capital (10 units of which were now used up in production due to the increase in c) and only 1 unit went into variable capital. The surplus-value produced therefore equalled 100 units, and the rate of profit, or s/(c + v), reached 100 per cent. The value of each batch of 100 commodities (used-c + v + s) came to 111 units, and the cost price (used-c + v) was 11 units.
Meanwhile, the other sphere utilizing lo-tech production remained as before. This meant that the total capital invested in both spheres came to 159 units of constant capital and 41 units of variable capital, or 200 units in toto. As with our previous calculations, average figures for a batch of 100 commodities produced can be derived by dividing by 2. This gives, for 100 commodities, an average investment of (approximately) 80 units constant and 20 units variable. The total surplus-value produced was 140 units, averaging out at 70 units.
Now, the people who set prices in the northern land subscribed to Marx’s economic theory. They therefore calculated the price of a batch of 100 commodities as follows: lo-tech items with a cost price of 45 units were sold at 115 units (cost price + average surplus-value) and hi-tech items were sold at 81 units. Therefore, a profit of 70 units on each batch was realized in both hi-tech and lo-tech production (see Table 3.2). What is of immense interest here is that an increased organic composition of capital in one sector, hi-tech production, has increased the profit in both sectors. Moreover, as the total capital invested has remained the same, the rate of profit has likewise increased. And these results have been achieved apparently due to one peculiar restriction: that capital cannot be transferred from one particular sector to the other.
Table 3.2 Northern land production after breakthrough
r=s/v | s | s/(c+v) | used-c | value | cost price | price | profit | ||
Hi-tech | 99c+ Iv | 10,000% | 100 | 100% | 10 | 111 | 11 | 81 | 70 |
Lo-tech | 60c+40v | 100% | 40 | 40% | 5 | 85 | 45 | 115 | 70 |
sum | 159c+41v | 140 | |||||||
ave | 80c+20v | 70 |
It will be objected that profit cannot have increased on Twin Earth in this manner, because for it to have done so the total quantity of value in the system must have increased, and this is surely impossible. But this is far from being impossible: it is something which happens all the time. If, in a branch of production, one producer were to increase the productivity of his (or her) factory by the introduction of new technology, then his (or her) products would not fall in value. This is because their value would be determined by the amount of labour required for the average manufacturer to produce the good in question, and the conditions of production normal for that society would not have changed.[49] As more goods were now being produced at this value, the overall value in the system must have increased. What would subsequently happen is that other producers would be driven to introduce similar technological improvements, the rate of exploitation would then equalize, and the total value in the system would return to the previous quantity.
But this will only happen when other producers are in a position to introduce similar technical developments. Having said this, why assume that, when a single producer occupied a sector of production, his (or her) rate of exploitation should be the same as the average for the whole system? Until his (or her) profits were driven down by competition, there would be no reason for his (or her) rate of exploitation to fall. The prices on Twin Earth before innovation were consistent with Marx’s labour theory of value. However, after innovation, there was nothing to bring the prices down in the hi-tech sector below their original level even though there was a reduction in the total labour-time employed. So, on Twin Earth the total quantity of value does not always correspond to the total quantity of socially necessary labour-time. Consequently, it is difficult to see how the latter determines value. It should also be noted that the profits reaped in the hi-tech sector cannot be dismissed as a case of rent. If the profits were due to rent, then they must arise because value is being transferred from the lo-tech sector. But this entails a reduction in the total quantity of value in the system. As no such reduction has taken place, then rent will not do as an explanation.
What is more, with mobility of labour, the wages in both sectors will be the same. With less labour required in the innovatory sector and the prices remaining the same, the rate of exploitation must have increased even though there was no reduction in wages. So, the equalization of the rate of exploitation is conditional upon the mobility of capital, because only when others can invest in the area of production concerned will the rate of exploitation fall to the average. Twin Earth allows of no such mobility of capital. In consequence, the rate of profit has not fallen with an increase in the organic composition of capital. We can therefore be confident in asserting that a tendency for the rate of profit to foil cannot be guaranteed if the following does not obtain:
(1) Capital must be able to move from each sector of production to the other.
The reason why this is not irrelevant today is that hi-tech production on Twin Earth could be regarded as analogous to capital-intensive production in the First World here on Earth, and lo-tech production on Twin Earth could be regarded as analogous to labour-intensive production in the Third World. As capital in the Third World is often insufficient to introduce, say, robot plants (which would be necessary to compete effectively with First World producers who occasionally, and in some areas frequently, operate as an oligopoly), then, rather than assume that value is transferred from the Third World to the First, it might be claimed, following our argument, that the capital-intensive technology of the West increases the overall quantity of value in the world economic system. This means that even if there has been a transfer of value from the Third to the First World, it cannot be taken for granted that a failure to perceive a fall in the rate of profit in the First World can be explained away by the supposition that a transfer of value from the Third World must, ex hypothesi, have been of such a quantity that an overall fall in the rate of profit has occurred. It might be, instead, that the overall value in the system has increased.
Table 3.3 Southern land production after breakthrough
r=s/v | s | s/(c+v) | used-c | value | cost price | price | profit | ||
Hi-tech | 99c+ lv | 10,000% | 100 | 100% | 10 | 111 | 11 | 111 | 100 |
Lo-tech | 60c+40v | 100% | 40 | 40% | 5 | 85 | 45 | 85 | 40 |
sum | 159c+41v | (=200) | 140 |
So far, we have discussed the northern lands of Twin Earth. The southern lands are similar, except that their economy is not planned by Marxist economists. Here, also, there are just two sectors of the economy. Similarly, capital cannot move into the hi-tech sector from the other. And, a similar technological development took place in hi-tech production. The major difference is that, whereas the northern landers had allowed a price change determined by Marx’s principles for transforming value into price, the capitalists of the southern land who owned the means of hi-tech production, realizing that they held a monopoly in that form of production, refused to allow surplus-value to be equalized throughout the economy. The increase in the total surplus-value (from 80 units to 140 units) was completely appropriated by hi-tech industry (see Table 3.3). This was achieved simply by the demand for hi-tech goods ensuring that they be sold at their value, as there was no alternative and cheaper producer who could compete and lower the market price. Again, as with the northern landers, overall profits increased even though the organic composition of capital also increased. But the rate of profit would fail to fell not only because capital could not move from the lo-tech to the hi-tech sector; it would also fail to fell because there was no effective competition within the latter. We can therefore be sure that a necessary condition for there to be a tendency for the rate of profit to fall is:
(2) There must be free competition within each sector of production.
Undoubtedly, those unfamiliar with the actual events on Twin Earth will argue that the increase in the rate of surplus-value meant that fewer workers must have been employed and, therefore, there must have been fewer people to buy the hi-tech commodities produced. Some of those commodities must have gone unsold, and not all the surplus-value could have been realized. Hence, some of the value in our calculations must have been surreptitiously smuggled in, as it could not have resulted from socially necessary labour. Profits must have fallen, and capital lain idle.
A closer examination of labour theories of value shows that this objection is actually invalid. According to Say’s Law, when all value is produced by labour, all value must accrue to either the owners of v or c — the workers or the capitalists. As long as the extra value goes into products consumed by the capitalist, there can be no problem concerning the realization of profits. And we could easily create detailed examples by taking Marx’s own reproduction schemes from Volume II of Capital as our basis. We can now come back down to earth.
3.3 Crises, Monopolization and Automation
The experience of Twin Earth provokes the following question: How, then, can there be overproduction of the form which Marx outlines in his Theories of Surplus Value? There, Marx argues that a distinction should be drawn between the overproduction of products and the overproduction of commodities. In a period of overproduction so-called, the workers have real need of the products, but cannot buy them when they are offered in the commodity form. What, then, induces overproduction?
Overproduction is specifically conditioned by the general law of the production of capital: production is in accordance with the productive forces, that is with the possibility that the given quantity of capital has of exploiting the maximum quantity of labour, without regard to the actual limits of the market, the needs backed by the ability to pay. And this takes place through the constant expansion of reproduction and accumulation, and therefore the constant reconversion of revenue into capital; while on the other hand the mass of producers remain restricted to the average level of needs, and on the basis of capitalist production must remain so restricted (Marx, 1962, p. 226).
So, there appears ordinarily to be two major factors which lead to overproduction (‘the basic phenomenon in crises’; ibid., p. 218): the continual necessity on the part of the capitalist to reinvest; and the production of commodities which the worker cannot afford to purchase. What would cause overproduction and precipitate a crisis would be the production of commodities which the capitalist does not wish to consume him- (or her)self, but needs to sell to a workforce which is either too small or too poor to buy all that is manufactured. The problem, consequently, is caused not merely by mass production , but by mass production of the wrong sort of commodity; viz. commodities not in demand by the capitalist.
Clearly, this is far from an insoluble difficulty. To avoid crises on Twin Earth, the capitalist merely produces goods which he (or she) can either sell to the workers, or consume him- (or her)self. On Earth, the problem could, in principle, be solved by producing more goods for the capitalist. This might involve the capitalist spending his (or her) wealth on labour-intensive products, e.g. works of art or craft produce which the proletariat could not afford to buy. The capitalist could buy goods with a higher labour content than those bought by the proletariat. Some capitalists might invest in the production of, say, cheaply made mass-produced cars designed for the workers to buy; others might invest their capital in the production of more labour-intensive and more expensive hand-built cars designed for the bourgeoisie. The problem is merely that of creating the right balance.[50]
This brings us to the other major factor in crises. The capitalist is driven by competition to modernize the means of production so as to remain competitive. In such a predicament he (or she) does not wish to consume what is produced, and so the problem of having to produce for a workforce in severe penury or insufficiently numerous to purchase such goods re-emerges. But if (2) does not obtain, then the capitalist is no longer driven to reinvest in modernization,[51] and is therefore in a position to consume as much as he (or she) likes or needs once production has been directed towards luxury goods — thus avoiding the underconsumptionist theory of crises suggested in the Grundrisse. In which case, there is no necessity for this sort of crisis to occur in a developed, monopoly-dominated economy or, and most relevantly, the sort of ‘national capitalist’ economy suggested by Engels as the prelude to socialism.
This not only provides the answer to underconsumptionist theories of crises, it simultaneously provides the answer to excess capital theories. As an example of this latter trend, Makoto Itoh, describing nineteenth-century capitalism, writes:
Industrial capitalists normally have fixed capitals in their production processes, making them function as a part of profit-yielding capitals. And they convert surplus value into capital, successively, privately, and on small scales, on the basis of their already existing means of production. The accumulation of capital under these conditions proceeds normally in a capital-widening rather than a capital-deepening fashion, on the basis of already existing methods of production (Itoh, 1980, p. 108).
This leads to high employment in a period of prosperity, which causes wages to rise. ‘The fundamental weak point of capitalist production which must treat human labor power as a commodity without being able to produce it as a commodity comes here to be crucial to capital accumulation’ (ibid., p. 109). Marx believes that individual capitalists must attempt to expand their share of the market or go under. In this case it would be by capital-widening. Monopolies are under no such pressure.
Moreover, any criticism which might be levelled against our Twin Earth example for being a static model, rather than a dynamic one, because Marx’s analysis of crises focuses upon the process of capital accumulation, is beside the point. With no competition, there is no forced drive towards continued modernization of the means of production, and an equilibrium between Departments I (the production of constant capital), Ila (the production of workers’ consumables) and lib (the production of luxury items for the capitalists) can in principle be achieved — thus answering the disproportionality theories of crises as are found in Tugan-Baranowsky and Hilferding. For example, concerning the distribution of labour-time between Departments Da and nb, part of the worker’s day could be spent making mass-produced goods for his or her own class, and the rest of the working day could be devoted to the production of luxury goods. The correct treatment of monopolies thus becomes crucial for Marxism.[52] One way in which light might be shed on this issue is to consider automation.
A consequence of Marx’s labour theory of value is: no value can be produced if there is no labour involved in the production process. As Erik Olin Wright remarks: ‘While the 100 % automated factory might be a fantasy of the individual capitalist, it would clearly be a disaster for the capitalist class, since without labour in production there would be no surplus value, and thus no profits’ (1978, p. 133n).[53]
Let us assume a developing monopoly such as hi-tech production in the southern lands of Twin Earth. In 1960, 60 units were invested in constant capital and 40 units in variable. In 1965,70 units went into constant and 30 into variable. 1970 saw invested 80 and 20 units respectively. 1975 saw 90 and 10. And in 1980,100 units were invested in constant capital alone. From 1960 to 1980, the quantity of used capital rose progressively from 10 to 50 units, keeping pace with the expansion of constant capital. Mirroring the entries for hi-tech production in Table 3.3, Wright would only be able to arrive at Table 3.4. An increasing organic composition of capital leads to increasing value and profits until there is no longer any variable capital employed. Then the value drops sharply and profits cease. Now, this might appear plausible if compared with the following: If labourers are necessary in the production process, the productivity of labour will increase with automation. As the plant is progressively automated, a corresponding reduction in the number of workers employed takes place. Profits go hand in hand with less workers. But at the point where no workers are employed there is no production and so profits cease.
Table 3.4 Increasing OCK and limited profits
r=s/v | s | s/(c+v) | used-c | value | cost price | price | profit | ||
1960 | 60c+40v | 150% | 60 | 60% | 10 | 110 | 50 | 110 | 60 |
1965 | 70c+30v | 233% | 70 | 70% | 20 | 120 | 50 | 120 | 70 |
1970 | 80c+20v | 400% | 80 | 80% | 30 | 130 | 50 | 130 | 80 |
1975 | 90c+10v | 900% | 90 | 90% | 40 | 140 | 50 | 140 | 90 |
1980 | 100c | — | — | — | 50 | 100 | 50 | 50 | 0 |
But is the creation of value like this? Let us consider an argument offered by Mandel. We are to imagine that
human labour has been completely eliminated from all forms of production and services. Can value continue to exist under these conditions? Can there be a society where nobody has an income but commodities continue to have a value and to be sold? Obviously such a situation would be absurd. A huge mass of products would be produced without this production creating any income, since no human being would be involved in this production. But someone would want to ‘sell’ these products for which there were no longer any buyers! (1973, pp. 27–8).
As the question has been posed, Mandel is undoubtedly correct in his conclusion. But what if an oligopoly owned these advanced means of production, and what if their products were distributed solely amongst themselves, while the rest of society produced whatever they could? What if each member of an oligopoly owned one specialized factory? Could he (or she) not exchange his (or her) product with the other owners who produced different goods? According to Marx there would be no unit of exchange. We shall return to this issue later (in section 3.5). For now, what if a member of the oligopoly decided to exchange one of the products of his (or her) automated plant for something which someone outside the oligopoly possessed? Mandel would attempt to deal with this issue in the manner of ground rent. But in the case of ground rent there was a low organic composition of capital involved. Furthermore, by Mandel’s and Wright’s reasoning, one of the goods would be valueless and seemingly incapable of exchange. Is this plausible?
What if you owned a machine which produced things without any effort on your part which other people desired? What if it produced a drug others desperately required in order to return them to good health? According to the Marxist theory, this drug would have no value. But, surely, you could exchange this drug for objects produced outside of your monopoly. Surely, then, this drug is of great value? Surely it is of great use-value. And surely it is of great exchange-value in that it can obviously command a high price. Would we not ordinarily say that this drug is extremely valuable? And would we not then say it has value?[54]
If one legislates a definition of value such that value is determined by the quantity of socially necessary labour-time congealed in it, then it is analytically true that the drug has no value. But would such a definition aid our understanding of economic behaviour? We think not. Clearly, a theory of value which explained capitalist development and the workings of the market (including cases of monopoly) would be a preferable theory to one which cannot deal with monopoly prices and obscures exchange relations. But can such a theory be developed? We think that it can.
3.4 An Alternative Theory of Value
We shall now tentatively explore the framework of an alternative theory of value which might be able to account for the market price of monopoly-produced commodities. We, like Marx, shall note Adam Smith’s reasons for considering a labour theory of value. But whereas Marx took over the central features of the value theory developed by Smith and Ricardo, probably restraining criticism of their major tenets partly because of the notion of exploitation which can be derived from a labour theory of value, we shall return to the inception of Smith’s theory of value wearing a more critical demeanour than that worn by Marx.
Smith writes: ‘The real price of everything, what every thing really costs to the man who wants to acquire it, is the toil and trouble of acquiring it’ (quoted in Cutler et al., 1977, p. 22). He then proceeds to value goods in terms of the toil which went into making them. But this way of proceeding actually contradicts Smith’s original assertion. If this original assertion is correct, what should determine the value of a manufactured good is, not the toil which went into producing it, but *the toil and trouble which the prospective purchasers would have to go through in order to produce it themselves.[55]
‘Toil and trouble’ could be reduced to labour-time if all labour in a society became homogenized.[56] Therefore, if there is a tendency of labour to homogenize in mechanistic production, effort and inconvenience can be roughly equated with labour-time. Moreover, someone who does not own the means of production will ordinarily incur least toil and trouble by purchasing a good produced by an enterprise with a high organic composition of capital and selling that good cheaper than any other competitor, as opposed to producing a good him- or herself without access to sophisticated means of production. In other words, competition will ensure that a producer will have to sell his (or her) goods at a price dictated by the labourtime of other (actual or potential) producers. So, when perfect competition obtains, the value of every producer’s commodities will tend to equal socially necessary abstract labour-time as understood by Marx. This has the result that, under conditions of competitive production, and where different sectors of production have different organic compositions of capital, least toil and trouble to the buyer will usually involve purchasing a good sold at a price approximating to the price determined by Marx’s labour theory of value coupled with an adequate method of transforming value into price.[57]
We suggest that what determines the exchange-value of an individual commodity (a factor which has been overlooked, yet is common to all commodities) is not the socially necessary labour-time required for the collectivity to produce the good, but the labour-time which would be necessary for production within the rest of the collectivity from the actual manufacturer(s) — i.e. the labour-time required for production by the complement of the actual manufacturer(s).[58] We shall refer to the Marxist theory as ‘the labour theory of value’ (LTV), and this alternative theory which we are entertaining as ‘the complement theory of value’ (CTV).
If the complement theory is correct, a producer will be forced to sell his (or her) goods for the necessary labour-time of potential producers of that commodity or a realistic substitute. In a state of perfect competition, the socially necessary labour-time for the collectivity to produce any good will equal the necessary labour-time for the complement of any possible manufacturer to produce it, because the existence of perfect competition means that all possible producers are equally able to produce at the relevant price. If all this is so, what is especially interesting is that Marx’s theory (the LTV) will happen to provide the correct results — but only because Marx’s determinant of value (the socially necessary labour-time of the collectivity) contingently corresponds to the actual determinant of value (the necessary labour-time as determined by the rest of the collectivity to the producer). This means that anything that Marx’s labour theory of value can explain concerning a competitive situation, we can similarly explain by means of the complement theory, due to this contingent correspondence between the LTV and CTV.
But what grounds have we for taking this alternative theory (the CTV) seriously? To see, we shall now return to the problem of monopolies, for it is here that Marxism experiences most difficulties. The results formulated in Table 3.3 suggest that large profits can be made by monopolies. Marx does admit that monopolies can realize super-profits (see WLC, p. 76). And Marx’s labour theory of value was ostensibly formulated to explain commodity exchange. Can it do this given monopoly production? Can Marx’s analysis enable us to determine the extent of monopoly profits or the market price of commodities produced by a monopoly? It is widely thought that it cannot; for example:
If we stan from a situation (competitive capitalism) in which economic reality presents itself in terms of prices of production, we now have a situation (monopoly capitalism) in which this role is played by monopoly prices. These are transformed prices of production in exactly the same sense that prices of production are transformed values. There is, however, this difference, that there are no general rules for relating monopoly prices to prices of production, as there were for relating prices of production to values. About all we can say is that monopoly prices in various industries tend to be higher than prices of production in proportion to the difficulties new capitals have in entering those industries (Sweezy, 1981, pp. 27–8).
Marx purports to offer a value theory which explains how and in what quantity commodities exchange. But commodities exchange even when monopolies exist. Yet his theory, in assuming competition, has obvious difficulty in explaining ratios of exchange when monopolistic conditions prevail, which is especially ironic when the existence of monopolies can obviously be extrapolated from his theory. Thus, the stage at which capitalism is predicted to break down appears to be left without any adequate means of analysing it. It is difficult, therefore, to be confident that monopoly or ‘national’ capitalism possesses an internal dynamic which will tear it apart. Clearly, the inability of Marx’s economic theory to deal adequately with monopolies is of central importance, for it casts doubt upon any reliance upon progressive crises of capitalism. Marx’s economic theory exists to serve the Marxist revolutionary. It also serves to deride Utopian Socialism and anarchism,[59] neither of which is matched to an analysis of tendencies in capitalism towards revolutionary change. If the economic theory is inadequate, Marx cannot claim superiority to Utopian Socialists, nor to anarchists. But Marx’s theory might continue to stand as the most preferable economic theory available to revolutionaries while no alternative analysis can deal more effectively with the problem of monopolies. We wish to suggest that the alternative complement theory of value can show the way to a more adequate treatment of monopolization than that offered by Marx’s economic theory.
3.5 Monopolies and the Complement Theory
Let us reconsider the increasing organic composition of capital on Twin Earth. Marx admits that monopolies can achieve super-profits, yet following Marx’s principles would lead us to produce Table 3.4. But if automation allows greater profits to be achieved with 10 workers than with 20 when it occupies the privileged position of a monopoly, it stands to reason, despite all claims to the contrary, that even greater profits can be made with full automation.[60] Table 3.5 seems more likely to represent the situation on Twin Earth than Table 3.4.
Table 3.5 Increasing OCK and unlimited profits
r=s/v | s | s/(c+v) | used-c | value | cost price | price | profit | ||
1960 | 60c+40v | 150% | 60 | 60% | 10 | 110 | 50 | 110 | 60 |
1965 | 70c+30v | 233% | 70 | 70% | 20 | 120 | 50 | 120 | 70 |
1970 | 80c+20v | 400% | 80 | 80% | 30 | 130 | 50 | 130 | 80 |
1975 | 90c+10v | 900% | 90 | 90% | 40 | 140 | 50 | 140 | 90 |
1980 | 100c | inf. | 100 | 100% | 50 | 150 | 50 | 150 | 100 |
If one takes the socially necessary labour-time of the totality of producers in a particular sector, as Marx does, then a monopoly must set that average, because the sole producer in a sector will determine the normal required labour-time and hence the value. But to approach the matter this way is to argue as if the monopoly were in competition with itself in that it increases or decreases die value according to its own efficiency. If a monopoly decreased labour-time, the LTV argues in effect that it would undercut itself! But this is patently absurd. We can readily conclude that an increase in the productivity of labour in a monopoly can have no adverse effects on the market-value of the commodity it produces. Therefore, the labour of the workers in a monopoly has no relevance whatsoever for the market-value of the goods they produce. It is for this reason that Marx cannot deal with monopolies. Marx’s labour theory of value cannot adequately explain why monopolies make super-profits, nor can it delimit the extent of those profits. And if the labour of the workers in a monopoly has no relevance for the market-value of the goods they produce, why should the labour of any worker be relevant for the market-value of the goods he or she produces? But then, how is market-value to be explained?
Buying a good in a market is the opposite of attending an auction. At an auction, one must pay more than anyone else is prepared to. In the normal purchasing of commodities, on the other hand, one buys a good for as little as any one of the producers will sell it. Hence, the vendor is under pressure to sell a good for the same as any possible cheaper producer in that market. It is the other who determines the price, not the actual producer. Now let us consider simple commodity production in a little more detail. If you are the sole maker of chairs, and you bring them to market where they are in demand, for Marx, the value of the chairs is the time it takes for you to make a chair. You, being the sole chair-maker, determine what the normal time is. Let us assume that it takes you 4 hours to make a chair. Let us also suppose that although no one else makes chairs, each person could make one in 3 hours if he or she chose to do so. If this fact is known, does it really make any sense to say that you could sell your chairs at the equivalent of 4 hours’ labour? Now let us suppose that you improve your technique so that it takes you 2 hours to make a chair, and everyone else would still take 3 hours. Is it plausible to assert that you would now sell your chairs for the equivalent of 2 hours’ labour? Clearly, what would determine the value of your chairs is not the time it takes you to make them.
However, if instead of Marx’s approach one employs an analysis informed by the complement theory, then it becomes clear why monopolies can achieve super-profits, and a beginning can be made to determining the extent of those profits. Quite simply, if value is determined by the toil and trouble or, given qualitative homogenization of labour, the time required for other than the producer to produce a good, then a monopoly can ask a figure for a good which is in demand up to an amount equivalent to the disutility (opportunity cost) of an alternative source of production — namely, equivalent to the cost of an individual making a good him- or herself, or, if a lower quantity, equivalent to an amount high enough to interest a potential alternative supplier of that commodity to move into that sector (Laker Airlines?).[61] Clearly, this will only apply up to a level which buyers are prepared to pay.[62]
Thus, the alternative analysis which we prefer can not only explain why a monopoly is able to achieve exorbitant profits, but it can also suggest the extent of those profits. Furthermore, the CTV entails that the rare drug in the example above would be considered to have great use-value, exchange-value and, correlatively, value. And this, unlike the assertion that it has no value (which is entailed by the Marxist account), complies with actual usage of the term ‘value’. Moreover, as perfect competition tends to equate the socially necessary labourtime of the totality with the necessary labour-time of the complement of the producer, anything which Marx can explain or predict for competitive capitalism the CTV could likewise explain or predict. The significant difference is that the complement theory offers a treatment of monopolies which goes beyond Marx’s. Consequently, as the more inclusive theory, it is preferable to the theory presented by Marx. We can even go so far as to suggest that the LTV is no more than a special case of the more general CTV.
But, and this is of vital importance, the CTV (unlike the LTV) suggests that monopoly capitalism is not necessarily subject to the tendency of the rate of profit to fall — recall the case of Twin Earth. Nor does it necessarily predict the ruin of capital if full automation is introduced. With an increase in the organic composition of capital, it becomes more difficult to break into a new sector. This means that when capitalists are defeated in competition, it becomes less likely as time proceeds that their place will be filled. With the tendency towards full automation goes the tendency towards monopolization. And with this tendency, the complement theory suggests that a fully automated monopoly, far from producing no value to the potential ruin of monopoly capitalism (contra Wright), is the most profitable venture imaginable (see Tables 3.3 and 3.5).
If value is determined not by the producer, but by the rest of the economiccollectivity the producer finds him- (or her)self in, then we can understand how a fully automated plant can make so much profit. Its labour costs are non-existent, but it produces commodities valued in terms of the labour-time necessary for others to produce them. If those others have little access to capital, such a required labour-time would be great and the consequent value of the goods would be high. This explains why goods produced by capital-intensive methods, far from having little value in the Third World, are of great value. But, Marxists will reply, how could goods produced by fully automated plants exchange? With two fully automated factories there would be no method of calculating the ratio of exchange between their products, as no labour would be involved.
Such an objection raised from the standpoint of Marxist theory shows further the inadequacy of that theory. Clearly, such goods would exchange if they had different use-values. The complement theory provides criteria whereby goods so produced can be valued. The owner of one factory can value the goods produced by the other factory in terms of the trouble he (or she) would have to go through to produce those goods. Similarly, the owner of the other factory can assess the produce of the other. If the owner of factory A produces goods which would put the owner of factory B to the trouble t of producing such a good (one of a bulk produce perhaps), and the owner of factory /I would be put to the trouble 2t of producing one of the items produced by B, then the goods of A will exchange with the goods of B in a ratio of 1:2 if they exchange at their value.
So, if it is not the ‘congealed’ abstract labour, but the labour that others would have to undertake in order to produce a commodity which determines its value, then fully automated plants can produce value.[63] A fortiori, a partly automated plant can, in principle, produce more value than the labour-time of the workers employed in that plant. The creation of value is not limited to the actual expenditure of labour. All that is required for capital to create value is either some restriction on the mobility of others’ capital, or a degree of agreement between the producers so as to limit competition (e.g. cartels). Thus, any degree of monopolization could undermine the tendency of the rate of profit to fall.
This is to be contrasted with the Marxist view that, although monopolists may not experience a fall in their rate of profit when they automate, the system as a whole must lose value, and the monopolists merely take a disproportionate share of the value remaining in the system.[64] Our arguments demonstrate that there is no such necessity for the value in the system to fall pari passu with the introduction of labour-saving technology. This undermines the whole of Marx’s economic analyses.
An objection which might be raised is that we are offering an analysis of prices, not value. It could, we think, be replied that Volume III of Capital concerns prices and not value; but, this aside, for Marx, price oscillates around value. It would be most odd in such a case to consider a permanent incommensurability between price and value. So, monopolies should not be thought to influence only price and not value. This bears directly on the Twin Earth example. If a large anomaly between value and price is permitted, it could be argued that Table 3.3 indicates market-values as measured in prices and not values. Marxist analysis would show that the figures referred to monopoly prices, and the actual values would be much lower. This would also suggest that the increased profit in the hi-tech sector was derived purely from a transfer of value from the lo-tech sector.[65] But such an analysis would lead us to think that all was not well on Twin Earth as value was decreasing. However, Table 3.3 is nevertheless correct in showing that profits were increasing! As capitalists go bankrupt because of profit and not values, Marxist value analysis is at best irrelevant and more likely than not grossly misleading. We should, therefore, reject the LTV. The complement theory is offered so that value analysis, rather than being rejected out of hand, becomes relevant to price and profit determinations, and it succeeds in this by minimizing discrepancies between values and prices.[66]
Let us briefly return to our example of simple commodity production. If you are the sole maker of chairs and you can make each chair in 2 hours, whereas everyone else requires 3 hours, and if, correspondingly, you sell your chairs at the equivalent of 3 hours’ labour, then the total prices in the system would be the same as if you took 3 hours to make the chair. If value is determined by the time you take to make a chair (as the LTV claims, because you are the sole chair-maker within the collectivity), then there is less value in the system than price. How, then, can value determine price? The CTV, which focuses upon the time those in the complement take to produce the good, has the same quantity of value in the system as price. Therefore, in answer to the question of what determines the exchange ratios between the artefacts of simple commodity production, the answer must be: value as conceived by the complement theory.
Marx commences his economic discussion in answer to the question: Given an equilibrium between demand and supply, what determines the rate at which commodities exchange? Marx answers that this rate is determined by value. If there is an equilibrium between demand and supply, why should the existence of monopolies negate the law of value? Our analysis based on the CTV does not have the consequence of Marx’s that value does not always determine the rate of exchange when demand and supply are in equilibrium. Marx can only say that when monopolies exist, we have no idea as to the rate commodities exchange, other than some vague notion that monopolyproduced goods will command a higher price than non-monopoly-produced goods. And if Marx cannot offer a reliable economic analysis of a monopoly situation, then no conclusions concerning a continuation of the rate of profit to fall can be drawn given the projected rise of monopolization. Marx is in no position to predict anything substantial about an economy where a multitude of monopolies prevail, nor where the economy is in the hands of a ‘national capitalist’.[67]
3.6 The Complement Theory Further Refined
Two questions now present themselves. First, we have considered the two scenarios contemplated by Marx to develop in advanced capitalism: monopoly production and production in an economy consisting primarily of homogenized labour. Can the complement theory deal with an economy dominated by non-homogenized labour? Second, is the CTV compatible with elementary price theory based upon supply and demand? We shall now attempt to answer these questions. In doing so, the complement theory will be forced to undergo some refinements.
We shall further refine the complement theory by specifying ‘the complement’ as ‘the complement of actual production’.[68] This means that all potential production foils within the complement. Monopoly production as we have so far viewed it raises no problems for this more precise specification, because in examining monopolies we focused only on the actual production of the monopoly under consideration. We contrasted it with the potential production of those outside the monopoly, and this latter production clearly falls within the complement as it is now specified. Homogeneous productive capability is non-problematic as, being homogeneous, it does not matter what production is put into the complement. Consequently, it can cause no problems for this more refined specification.
We now relax the assumption of homogeneity of labour, turning our attention to non-homogeneous productive capability, and consider two extreme cases: (i) where all non-actual (i.e. potential) production is the preserve of a set of producers which excludes all actual producers (‘producer’ signifying both ‘actual producer’ and ‘potential producer’); and (ii) where all non-actual production is the preserve of a set of producers which excludes all currently non-actual producers. In case (ii), if certain producers choose not to enter an industry, then it is likely to be because they cannot make sufficient profits in it. This case therefore involves non-homogeneous productive capability. Case (i) is where different producers enter at different prices, and this covers the cases where they enter at different times because of different productive capabilities.
(i) In demonstrating the compatibility of the CTV with elementary price theory we claim that, given a specific demand curve, the value of actual produce is determined by potential production (the complement), and that this equals the equilibrium price. In the first case which we are considering, actual production is carried out by one group of individuals, and any increase in production which might arise would be the result of one or more members of a different group of producers entering the market. According to the CTV, the value of current produce is determined by the willingness and ability of the complement to produce. Above a certain price, potential producers will leave the complement and become actual producers. So, in Figure 3.1a at equilibrium price Oe (where the demand curve intersects the supply curve SS) there is a set of actual producers who produce quantity Ow goods. Should the producers attempt to raise the price to Ox’, then some of those in the complement will leave it and start producing so that Ow’ goods are now put on the market. But this exceeds the demand for the goods at this price by a quantity of Ow’ — Ow “, and the consequent glut forces prices down initially to Ox “. This drives some producers out of the market, and if the price stabilizes, it will do so at the equilibrium price of Oe.

We thus see that potential producers will leave the complement and become actual producers when normal profits or above normal profits can be expected to be made by them. If the only cost is labourtime (as in the paradigm cases of the LTV, such as Adam Smith’s deer and beaver economy), then if one’s labour-time can be more profitably spent by switching to another industry because less labourtime is required there to produce enough commodities to exchange for one’s needs, one can be expected to make such a switch. It is in this way that there will be a tendency for the labour-time expended in each industry to equalize, and this is the reason why the LTV is plausible. Any dismissal of the LTV merely because of a penchant for supply and demand analysis is too quick. But the LTV does commit a mistake: it misidentifies the relevant labour-time. If only the actual producers in an industry can make ‘super-normal’ profits (i.e. expend a relatively small amount of labour-time to meet their needs), then no potential producer is in a position to enter from the complement at that price, and the fact of ‘super-normal’ profits of the actual producers (meaning only a small amount of their labour-time is embodied in their produce) is irrelevant with regard to determining the equilibrium price of their commodities. Because the actual producers are prepared to sell at a lower price if they are making super-normal profits, they cannot be the ones who ultimately determine the equilibrium price. The LTV mistakenly includes in its analysis the labour-time of the actual producer, instead of focusing upon the costs which would be incurred and the normal profit which might be made in an industry by the complement.[69]
(ii) The above shows that the complement theory is compatible with supply and demand. The complement consists of all those producers who are responsible for extending the supply curve SS’ in Figure 3. la rightwards on all points from A to S’. But when we consider the case where exactly the same individual producers are responsible for all actual and potential production, then the complement theory as it is now specified claims that the value of actual production is limited by the potential production of the same producers. Is this plausible? And if so, is it an interpretation of demand and supply which is non-trivial?
All increases in supply in the case now under examination are due to the actual producers increasing production. If the price rises from Oe in Figure 3.1a to Ox’, then the actual producers increase their production from Ow to Ow’. As in the previous case, a glut occurs, the price is driven down and perhaps reaches equilibrium again, whereupon the producers would have to limit their collective output to Ow if equilibrium were to be maintained. In this example, the actual producers’ own potential extra production above that at the equilibrium price (Ow’ — Ow) is what drives the prices back down. This can be seen to be so by comparing the two supply curves SAS” and SABS” in Figure 3.1b. The curve SABS” would allow an equilibrium price of Oe’, whereas the curve SAS’ only allows an equilibrium price of Oe. If the supply curve SAS’ obtains, then a price which is an equilibrium price of the supply curve SABS “, namely Oe’ (as with Ox’ in Figure 3.1a), ultimately leads to a fall in price to Ox”, which is caused by suppliers trying to clear unsold goods. As the only relevant difference between SAS’ and SABS” is the increasing supply from A to S’, this shows that it is the potential extra production of the actual producers which in this case limits the price their produce fetches. Consequently, this specification of the complement theory is certainly plausible.
But is it anything other than a trivial reproduction of supply and demand theory? That viewing supply curves in the manner suggested by the complement theory is non-trivial is shown by the results of case (i), especially in so far as viewing supply curves in this manner sheds light on the labour theory of value. Moreover, by applying the results of case (i) to case (ii) we see exactly how it is that the production of actual producers above the quantity at which demand and supply equilibrate can compete with the equilibrium quantity. Case (i) shows that the complement theory so formulated can be used to generate interesting insights when actual production and its complement is the preserve of different individuals, and its conclusions should be generalizable to case (ii) to show that, even with the same individuals responsible for actual and potential production, it is not actual production which determines price. Thus, super-normal profits may occur in case (ii) in a manner analogous to case (i). If further supply is not forthcoming at the present price, then super-normal profits may be possible. Again, this is because it is potential production which determines the price limit of any commodity.
We can now see that the complement theory is both plausible and non-trivial. The CTV as refined can deal with heterogeneous production, and is compatible with elementary price theory based on demand and supply. The CTV does not reduce to a trivial presentation of demand and supply, as it informs us of both why the LTV is plausible and why it is mistaken, and this is not immediately apparent from merely looking at demand and supply curves. We can now clearly see where the LTV makes its mistake: it concentrates on the producer, and therefore fails to focus exclusively upon potential production. The CTV also shows that if case (ii) production happens to be a monopoly, then it can generate super-normal profits in the way that case (i) can. But it could also find itself in the situation of a case (ii) type overproduction. The difference between a monopoly and a competitive firm in such a situation is that the former can control total output and hence price in a way that is unavailable to the individual in a competitive situation. Sustainable super-normal profits are the result of an inability of other producers to enter the market at that price.
3.7 The Importance of Monopolization
The vital question now becomes: How likely is the growth of significant monopolies, given Marx’s economic premises? Well, The Communist Manifesto predicts the demise of many capitalists, who will be thrown into the ranks of the proletariat (see MCP, p. 88). With a tendency of the number of capitalists to fall, there must go hand in hand with it a tendency towards monopolization. In addition, with the increasing organic composition of capital, it must become increasingly difficult to enter into production (see Cl, p. 777). This too must constitute a tendency towards the growth of monopolies. And in a famous passage where Marx discusses the takeover of smaller capital by big capital, he writes:
What is now to be expropriated is not the self-employed worker, but the capitalist who exploits a large number of workers.
This expropriation is accomplished through the action of the immanent laws of capitalist production itself, through the centralization of capitals. One capitalist always strikes down many others. Hand in hand with this centralization, or this expropriation of many capitalists by a few, other developments take place on an ever increasing scale, such as the growth of the co-operative forms of the labour process, the conscious technical application of science, the planned exploitation of the soil, the transformation of the means of labour into forms in which they can only be used in common, the economizing of all means of production of combined, socialized labour, the entanglement of all peoples in the net of the world market, and, with this, the growth of the international character of the capitalist regime. Along with the constant decrease in the number of the capitalist magnates, who usurp and monopolize all the advantages of this process of transformation, the mass of misery, oppression, slavery, degradation and exploitation grows; but with this there also grows the revolt of the working class, a class constantly increasing in numbers, and trained, united and organized by the very mechanism of the capitalist process of production. The monopoly of capital becomes a fetter upon the mode of production which has flourished alongside and under it. The centralization of the means of production and the socialization of labour reach a point at which they become incompatible with their capitalist integument. This integument is burst asunder. The knell of capitalist private property sounds. The expropriators are expropriated (C1, pp. 928–9).
Why should the ‘centralization of the means of production ... become incompatible with [its] capitalist integument’? We suspect: because persistent crises accompanied centralization, and capitalism cannot go on this way forever. But is this because one crisis will prove fatal? The example of Twin Earth suggests that a degree of monopolization could be reached where crises would cease. Crises, according to Marx, are linked to the tendency of the rate of profit to fall, but this tendency is due to the increasing organic composition of capital. This increase in the organic composition of capital leads to a situation where capital is no longer mobile. But if capital suddenly ceases to become mobile, then competition ceases, there is no equalization of the rate of exploitation, and the total quantity of value in the system may even rise. If any of this occurs, it can no longer be assumed a priori that a tendency of the rate of profit to fall remains. Correlatively, crises cannot be assumed to persist. Moreover, the cessation of crises in this case does not entail the overthrow of the private ownership of the means of production; it implies a stable monopolistic system. We therefore suspect that Marx has extrapolated tendencies towards ever more severe crises, but has overlooked the possibility that a certain degree of centralization may be immune from crises. The expropriators are expropriated, yes, but by expropriators.
Nevertheless, crises occur today and international monopolies are extremely well developed. Does this not constitute an objection to our way of reasoning?[70] Hardly, it is quite clear that the capitalist West has not, as yet, reached a significantly high degree of monopolization. However, socialist countries with ‘national capitalist’ economies have done so and are not subject to capitalist crises.
Our criticism strikes at the very roots of the Marxist enterprise. It does so because it is essentially a theory which rejects the standpoint of actual production (and actual production must occupy a central role in Marxist theory because of the way it theorizes exploitation). We have been able to explain all that Marx can and also illuminate those areas where he stumbles in the dark (i.e. monopolization). But it is only because we have not taken the standpoint of the actual producer as our perspective that we can account for monopolistic prices. Marx’s theory, occupying the standpoint of production, is unable to do this. Yet
today, the typical economic unit in the capitalist world is not the small firm producing a negligible fraction of a homogeneous output for an anonymous market but a large-scale enterprise producing a significant share of the output of an industry, or even several industries, and able to control its prices, the volume of its production, and the types and amounts of its investments. The typical economic unit, in other words, has the attributes which were once thought to be possessed only by monopolies. It is therefore impermissible to ignore monopoly in constructing our model of the economy and to go on treating competition as the general case. In an attempt to understand capitalism in its monopoly stage, we cannot abstract from monopoly or introduce it as a mere modifying factor; we must put it at the very centre of the analytic effort (Baran and Sweezy, 1968, pp. 19–20).
But to do so requires the rejection of the labour theory and the adoption of the complement theory.
Clearly, Marxists will be reluctant to adopt the CTV. There are three main reasons why they must resist our suggestions: (i) the value of a commodity no longer appears as a manifestation of the totality of abstract social labour; (ii) capitalism in a monopoly form appears to have a considerably greater potential for stability than Marxists would wish; and (iii) workers no longer appear to have the surplusvalue they produce expropriated by the bourgeoisie, (iii) is, of course, Marx’s theory of exploitation. Does this suggest that our analysis denies exploitation? Only in the Marxist sense. G. A. Cohen, himself a quite traditional Marxist in other respects, has argued that a notion of exploitation can be retained if Marx’s labour theory of value is rejected. Cohen points out that if the labourers do not produce value, they do produce the products which have value. To the extent that the workers do not receive all the products that they produce or their value, they are exploited. As Cohen writes:
... the labour theory of value does not entail that the workers create anything.
Yet the workers manifestly create something. They create the product. They do not create value, but they create what has value. The small difference of phrasing covers an enormous difference of conception. What raises a charge of exploitation is not that the capitalist gets some of the value the worker produces, but that he gets some of the value of what the worker produces. Whether or not workers produce value, they produce the product, that which has value (1981, pp. 217–18).
And he continues:
The proposition that labour creates value is, to begin with, unnecessary to the thesis that labour is exploited. For if we suppose that something else creates value, the impression that labour is exploited, if it was there before, persists. Thus imagine that the magnitude of value of a commodity is wholly determined by the extent and intensity of desire for it, and that we can therefore say that value is created by desire and not by labour. If it remains true that labour creates all that has value, and that the capitalist appropriates some of the value, does not the charge of exploitation lose force? Surely not. Then the assertion that the workers create value cannot be necessary to that charge, since here we suppose that something else creates value, and the charge persists (ibid., p. 220).
In fact, Cohen’s position (towards which we are sympathetic) could be considered to offer a stronger criticism of exploitation than Marx’s. With Marx’s theory, if acommodity is not sold, then it does not realize value. The labour ‘crystallized’ in it is not socially necessary labour. Consequently, no necessary labour, nor any surplus-labour took place. In which case, no exploitation could have occurred. An account of exploitation which focuses upon products and not value produced allows the charge of exploitation to be levelled against a capitalist who could not sell the commodities his (or her) workers manufactured. He (or she) is still in possession of products made by others. He (or she) has exploited them! Only a critique of Marx from a radical, rather than a bourgeois, point of view is likely to open up such an alternative theory of exploitation.
For Marx, it is competition which will ultimately effect the ruin of capitalists. But competition is a double-edged sword. It has its own dialectical movement, for within it is the source of its own demise. Although it begins by reducing prices, it also throws capitalists out of business, hence creating the conditions for monopoly. The same is true of the increasing organic composition of capital. It begins by lowering the rate of profit, but by restricting access to certain sectors of production, it fertilizes the soil for the growth of monopolies.[71] And monopolization undermines the tendency of the rate of profit to fall, as the experience of Twin Earth shows. If Mandel is correct when he says that the tendency of the rate of profit to fall is ‘the basic weakness, the Achilles heel of capitalism’ (1973, p. 50), then the dialectical tendency in capitalist development towards monopolization fashions ‘capitalism’ with a sturdy pair of protective boots.
So, does centralization of the means of production sound the death knell of capitalist private property? We fear not. We suspect that one ought, instead, to interpret the peeling of the bells as an announcement of the marriage of Madame la Capitaliste to Monsieur I’Etat, who have hastened to legitimize the imminent birth of their progeny — state monopoly (or ‘national’) capitalism. It is vitally important that radicals be aware of this possible outcome indicated by the ‘laws of capitalist development’, rather than assume that they inevitably lead to the breakdown of capitalism and, through such a breakdown, to a better world. Consequently, a critique of the complacency engendered by Marx towards the economic development of capitalism is essential for those with radical concerns.
3.8 Philosophical Issues
The ramifications our arguments have for Marx’s theory labour of value are as follows: The LTV cannot deal adequately with monopolies but CTV analyses can. CTV analyses also give the results which Marx’s does when monopolies are not present and when there is a tendency towards the homogenization of labour.[72] This suggests that it is actually the complement theory which explains economic developments during competitive conditions, and Marx’s theory only apparently explains them because it contingently coincides with the CTV whilst competition obtains. In which case, the LTV would be no more than a special case of the CTV.[73] But even if this does not establish that the complement theory is correct and that the LTV does not stand in its own right, the mere fact that the alternative theory might underlie Marx’s is sufficient to cast in doubt certain important conclusions which Marx arrives at. As it may be the case that Marx’s theory, prior to the advent of monopolies, produces the correct analysis because it happens to correspond to the complement theory, the LTV cannot be relied on in any instance where the CTV leads to different conclusions — e.g. conclusions about the stability or instability of monopoly or ‘national’ capitalism. The results of this are that, rather than it being taken for granted that monopoly capitalism is the stage where crises occur which lead to the collapse of capitalism, monopolies could continue making a profit, the tendency of the rate of profit to fall might cease to operate, crises may stop occurring, and the economy could stabilize and remain secure in a monopoly form.[74]
How is it that Marx has failed to perceive such a possibility? Quite simply, his labour theory of value does not suggest the possibility that an increased organic composition of capital might not be accompanied in the long-term by a fall in the rate of profit. This is because of the theory’s inability to deal adequately with monopolies and automation. But why has Marx been led to adopt a theory which meets its limitations when monopolies and widespread automation arise? The reason is that Marx’s collectivism and subsequent tendency to view society as a labouring totality led him to see value as being produced by an aliquot part of that totality’s labour. His collectivist tendencies then led him to ask: What is the relation of this labour to the totality of labour? Instead, he should have asked: What is the relation of this labour to its complement? His problematic thus led him to regard the value of a commodity as being determined by the amount of the totality of labour contained in it. Hence, Marx has to analyse the capitalist economy in terms of the socially necessary abstract labour-time of the totality. Marx’s collectivist-induced errors can be seen in the Grundrisse:
A product posited as exchange value is in its essence no longer a simple thing; it is posited as a relation, more precisely as a relation in general, not to one commodity but to every commodity, to every possible product. It expresses, therefore, a general relation; the product which relates to itself as the realization of a specific quantity of labour in general, of social labour time, and is therefore the equivalent of every other product in the proportion expressed in its exchange value. Exchange value presupposes social labour as the substance of all products, quite apart from their natural make-up. Nothing can express a relation without relating to one particular thing, and there can be no general relation unless it relates to a general thing (G, p. 205).[75]
This philosophical justification for the centrality of the totality of social labour in determining value is replete with confusions. Marx writes of the product relating to itself, instead of the relation of the product to its value. He conjures up a ‘general thing’ for products to be related to. This then leads him to regard the ‘general thing’ as determining the particulars. And the argument for the existence of such a general thing rests on the most elementary philosophical blunder: a thing is related to a particular thing, a general relation therefore involves a general thing. This is to make the general a particular. Such hypostatization is quite uncalled for. General relations involve being related to things in general, not to general things.
Marx’s economic analyses involve a specific relationship between the producer and the totality of producers. That this is in error is clearly revealed in the case of monopoly production. By focusing on what the collectivity produces, the monopolist is regarded as determining the socially necessary labour-time of what he (or she) produces. In considering the whole to determine its parts, the monopolist’s labour (whilst first representing the whole) determines the value of his (or her) labour (which is then viewed as a part). The fallacy occurs because in claiming that the whole determines its parts, a part (being part of the whole) occurs on both sides of the determining relation. The monopolist is thus treated as if he (or she) were in competition with him- (or her)self, and this is clearly absurd.
But the error remains in principle the same for genuinely competitive situations, only that it is no longer an obvious absurdity. The only way in which this ‘collectivist fallacy’ can be avoided is to adopt our approach and focus upon the relation of the producer to his (or her) complement of producers, rather than to the totality.[76] But then Marx’s substantive economic conclusions must be abandoned, because monopolistic production is seen to result in more value being produced than the quantity of normal labour-time employed. This can be manifest in fully automated plants producing value, and in the structural inequality between the First and Third Worlds increasing the overall value in the system — both manifestations undermining the tendency of the rate of profit to fall.
And we do not have to look far if we wish to locate the source of Marx’s collectivist thinking. His philosophical mentor, Hegel, might be regarded as the archetypal collectivist thinker. Moreover, in a letter to Engels dated 14 January, 1858 when Marx was working on what was to become Capital, he writes: ‘In the method of treatment the fact that by mere accident I again glanced through Hegel’s Logic has been of great service to me...’ (Marx and Engels, 1953, p. 121). It is tempting to remark that, rather than being of great service, Hegel’s Logic was a great distraction which directed Marx towards a collectivist theory of value. This Hegelian influence lies at the heart of the inadequacy of Marx’s economic theory, for if Marx’s tendency towards collectivist thinking did not generate all versions of the LTV (a version was, after all, employed by Ricardo), it did, at the very least, limit his ability to subject the LTV to the sort of critique which we have offered whereby, instead of relating the capitalist producer to the whole of which he (or she) forms a part, he (or she) is related to the complement of that whole. Marx did not merely take over Ricardo’s use of the LTV, but presented it specifically in the form of arguments about the self-development of the reified relations of the labourers to the totality of social labour. Thus, the collectivist influence lies at the heart of Marx’s economic arguments, which present a trap for revolutionary thought — a trap which is sprung with the advent of the Engels’ ‘national capitalist’.
Our analysis suggests that capitalism may not be subject to a final economic collapse. Instead, the economy may evolve into an extremely stable monopoly or ‘national’ phase. Marxists argue that the recurrent cyclical crises of capitalism play an instrumental role in allowing the proletariat to overturn the capitalist system. But if we are correct in arguing that there is a limit to the tendency of the rate of profit to fall (namely, the corresponding tendency towards monopolization), then the struggle between the bourgeoisie and the proletariat, while crises persist, becomes the most important feature of capitalism discussed by Marxists. This is because such a struggle must be successfully concluded by the proletariat prior to a cessation of crises if those crises are thought significantly to aid or support that struggle. And Marx must believe that crises are of such importance or his economic analyses would not occupy so central a position in his thought. The dynamic of capitalism can no longer be assumed to present the forces of production to the proletariat on a plate, as no final economic collapse of capitalism can be predicted. Capitalism might stabilize into a true monopoly or ‘national’ capitalist mode of production immune from crises before the productive forces can be seized. The importance of this for radicals cannot be overstated. We shall, therefore, have to look in detail at the question of class struggle to see if it is such a struggle which provides the basis for the overthrow of capitalism and the establishment of an egalitarian society.
Sociology: 4. Class, Class Struggle and Class Consciousness
‘The history of all hitherto existing society is the history of class struggles’ (MCP, p. 79) — or so Marx and Engels confidently assert at the beginning of The Communist Manifesto. Not surprisingly, this claim is stressed by the class struggle school (d) of Marxism, the school with which we shall now deal. Primafacie, one would expect one’s conception of ‘class struggle’ to be parasitic upon one’s conception of ‘class’. Unfortunately, Marx does not present us with any detailed discussion of his conception of ‘class’. Volume III of Capital breaks off just at the point where Marx was to discuss this concept after outlining some of the difficulties involved. First, we discuss some of the general problems in what appears to be Marx’s concept of ‘class’, and then we attempt to show how a recent interpretation of Marx, a game-theoretical approach, ignores features essential to an adequate account of ‘class’. We then turn to the treatment of ‘class’ suggested by Marxist structuralism, which, whilst developing a theory of class, might, we suggest, undermine the predominant Marxist theory of the organization of class struggle, which is proposed by Lenin. (It is, therefore, ironic that it is the study of Lenin which provides much of the impetus for structuralist Marxism.) Finally, we consider the importance of an adequate approach to the question of promoting a revolutionary consciousness amongst the working class. Our treatments of both structuralist Marxism and class consciousness will be of significance in appraising the role of the party in the revolutionary process.
4.1 Marx on’class’
We shall begin with what appear to be certain ambiguities in Marx’s conception of ‘class’. One problem which confronts anyone attempting to understand what Marx says concerning class is that Marx appears to use the term ‘class’ both loosely and more technically, the latter when the term is employed specifically in the context of his theory of history. We shall be concerned with the latter usage. With regard to this, the delimitation of the class of the bourgeoisie does seem clear. The bourgeoisie consists of those who own sufficient capital to live off it, and therefore directly or otherwise, off the surplus-labour of another class. But what are the defining characteristics of the proletariat? There are several possible answers. The proletariat might be that class which does not own sufficient means of production to hire workers (and this would render us with a binary conception of ‘class’ which would accommodate all of the population in the capitalist mode under both its terms); or, on the other hand, the proletariat might be that class which sells its labour (thus producing a non-binary conception of ‘class’ in that other classes could arise which either do not sell their labour or do not own their means of production, e.g. the petit bourgeoisie or the unemployed in a welfare state).[77]
The difficulty is further compounded by the possibility of an even larger third class arising if the proletariat were to be restricted to those who sell their labour and produce surplus-value. This conception of the proletariat would entail placing all those who sell their labour but do not produce surplus-value (e.g. state schoolteachers, cashiers, etc.) in a class distinct from both the bourgeoisie and the proletariat.[78]
When we try to ‘cash out’ these different conceptions of ‘class’ into a workable notion of ‘class struggle’, then major problems arise with the non-binary conception because a difficulty occurs in locating the other classes within class struggle. Problems arise concerning how they will align with either the bourgeoisie or the proletariat, and ideological or political criteria might be required to supplement the economic, leading to a more sociological notion of ‘class’. Clearly, the Marxist position would be greatly simplified were the binary conception to be defensible.
Now, The Communist Manifesto can be seen to bypass these difficulties when it states: ‘Our epoch, the epoch of the bourgeoisie, possesses...this distinctive feature: it has simplified the class antagonisms. Society as a whole is more and more splitting up into two great hostile camps, into two great classes directly facing each other: Bourgeoisie and Proletariat’ (MCP, p. 80). It is clear that, at this time, Marx considered capitalist society to be dividing into the owners of the means of production, and the producers of surplus-product. This does not overcome the theoretical problem of the actual specificity of each class, but it overcomes any practical problem concerning class struggle. Moreover, the various criteria which might be employed to determine one’s class would, in this case, make no real difference. The same people would be regarded as proletarian on purely economic and on more sociological grounds.
Unfortunately, there is, if anything, empirical evidence to the contrary of what Marx asserts in this famous passage if a nonbinary conception of ‘class’ is employed. Not only can there be seen to be a decline in the size of the proletariat (as yet unspecified) and a rise in the number of those occupying a third class, but this middle class provides, to a large extent, an area of gradations between those who dominate economically, politically and ideologically, and those who are correspondingly dominated. What is important is that Marx himself, later in his life in Theories of Surplus Value, acknowledged the existence of an expanding middle class:
What he [Ricardo] forgets to mention is the continual increase in numbers of the middle classes...situated midway between the workers on one side and the capitalists on the other, who rest with all their weight upon the working classes and at the same time increase the social security and power of the upper ten thousand (quoted in Bottomore, 1973, p. 23).
We are not merely confronting Marx with a development which he could not foresee (because that would be no more than an empirical critique); we are concerned with a development of which he was aware (though it would appear that he was not aware of it as a problem) and which needed to be accommodated within his theory.
One thing is clear: Marx cannot be employing a binary conception of ‘class’ in this particular passage. In Capital, where Marx refers to three great classes (‘wage-labourers, capitalists and landowners’; C3, p. 1025), two of these ‘classes’, the capitalists and the landowners, might be considered fractions of one class, the bourgeoisie. But it is difficult to regard the middle class as a fraction of another class when Marx, in Theories of Surplus Value, locates it between capitalists and workers. This problem of a growing middle class does not seem to have confronted Marx at the time of writing The Communist Manifesto. Consequently, the failure to delimit the proletariat was not important at that time. But with the growth of a middle class acknowledged in later writings, a failure on Marx’s part to theorize the middle class and distinguish it accurately from the proletariat constitutes a serious silence.
Given this silence, it is, therefore, to more recent and fuller Marxist treatments of the problem of class which we must turn. There are two approaches to the question of class which we shall consider: In the first ‘class’ is defined in terms of one essential feature. In the second ‘class’ is specified by a set of features. We shall begin with an examination of the single-feature approach to ‘class’.
4.2 A Single-feature Specification of ‘class’
Hal Draper offers the following definition of ‘class’ as the term would appear to be used by Marx when it is to be understood in the context of his theory of history, rather than as an everyday descriptive term:
Classes define themselves not simply in terms of the process of production (which existed before the separation into classes and will exist after classes are done away with); they must be defined in relation to surplus production, and specifically in relation to control over the appropriation of the surplus product (Draper, 1977, p. 14).
But if we are not careful, this definition readily lends itself to the interpreting of classes in capitalist society in terms of surplusvalue. Now, it is generally held in Marxist circles that the ruling class is in control of the means of production. John E. Roemer, however, in A General Theory of Exploitation and Class, has rebutted the claim that the labour theory of exploitation gives the result that those who benefit by the extraction of surplus-value correspond in all relevant cases to those who own the means of production.[79]
Roemer thus rejects the traditional theory of exploitation. In its place, he offers an account of ‘class’ which is based on a theory of exploitation that is independent of Marx’s labour theory of value:
The general definition of exploitation... is a game-theoretical definition in which property relations, not the labor theory of value, is the central concept. An individual or coalition is considered to be exploited if he (or they) has (have) some alternative which is superior to the present allocation. How we specify the alternative determines the type of exploitation which we conceive of. Formally, we think of the alternative as specified by the characteristic function of a game. If a coalition is receiving less, at a given allocation, than it would receive as its payoff under the characteristic function of the specified game, and if its complementary coalition is receiving more currently than under the alternative, then it is exploited with respect to the conception of exploitation associated with that game (Roemer, 1982a, pp. 19–20).
However, in order to rule out certain anomalies, Roemer has to add a proviso. As this account of exploitation stands, an invalid would be thought to exploit the rest of society. Moreover, if two islands, each with an equally skilled populace, differed in resources such that one was resource-rich and the other was resource-poor, then there is exploitation of the inhabitants of the resource-poor island by the inhabitants of the resource-rich one even though there is no interaction between the different societies. In order to avoid these anomalies, Roemer is forced to add the proviso that a coalition is only exploited if it is dominated by another coalition. Nevertheless, this proviso is relegated to a position of secondary importance, and a single feature — the ownership of property — dominates Roemer’s conception of ‘class’. In capitalism, for example, a member of the bourgeoisie is one who, by virtue of the large amounts of capital he (or she) owns, must hire workers in order to optimize. A member of the proletariat is one who, by virtue of lacking sufficient capital, must hire out his or her labour-power in order to optimize.
What is of immense interest in this theory of exploitation and class is that it generates classes of exploiters and exploited for not only feudal and capitalist societies, but socialist ones as well; thus Roemer makes a tremendous advance over earlier Marxist approaches to the question of class by appearing to bring within the purview of Marxist theory the exploitation which occurs in contemporary socialist societies. Marx’s labour theory of value and its correlative theory of exploitation did not provide the conceptual tools to make sense of exploitation in post-capitalist social formations. By relating the proletarian and bourgeois classes definitionally to the extraction of surplus-value, Marxists have been unable to conceive of exploitation in socialist societies where surplus-value is not supposed to exist. Consequently, Roemer’s general theory of exploitation is no less than a major breakthrough for Marxist theory.[80]
This game-theoretical approach to exploitation and class generates the possibility of conceptualizing different kinds of exploitation. When inequality is the consequence of ties of bondage which do not allow producers with their own assets to engage freely in trade, then we have feudal exploitation. When inequality arises due to unequal access to private alienable property, thus hindering some producers’ opportunities in production, we have capitalist exploitation. Under homogeneous labour, the traditional labour theory of exploitation generates the correct results. Consequently, Marx’s approach to class can be seen to be a special instance of Roemer’s general theory. The ramifications of this bear a striking resemblance to the conclusions of our previous chapter where Marx’s labour theory of value could be argued to be a special instance of the more general alternative theory which we explored. The most important ramification being that when the special theory (which is Marx’s) fails to hold and we must turn to the general theory, then conclusions unwelcome to and unpredictable by Marx might follow — the relevant one here being the possible existence of exploitation under socialism.
How, then, does Roemer conceptualize exploitation in socialism? The answer is in terms of the differential rewards which accrue to the skilled:
Socialist exploitation, the third variety, arises as a consequence of producers’ different endowments of inalienable assets, chiefly skills. The hypothetical alternative against which one tests whether a producer is socialistically exploited is one in which he would have access to his per capita share of society’s skills. Thus, feudal exploitation entails a situation where producers have differential access to freedom from bondage; capitalist exploitation exists when they have differential access to alienable productive assets; socialist exploitation exists when inalienable assets are differentially endowed. All three forms of exploitation exist under feudalism; capitalist and socialist exploitation exist under capitalism, but feudal exploitation does not, in principle; and under socialism, only socialist exploitation continues to exist, in principle. Each revolutionary transition has the historical task of eliminating its characteristic associated form of exploitation (Roemer, 1982a, p. 21).
The use of this typology of exploitation has thus produced a pattern of diminishing varieties of exploitative relationships. This enables Roemer to tie exploitation to historical materialism. But before we can fully appreciate the relationship proposed between Roemer’s general theory and historical materialism, there is a concept which Roemer employs which needs to be understood: ‘socially necessary exploitation in the dynamic sense’.
Roemer shares the mechanistic view of historical materialism — derived from Marx’s 1859 Preface — which insists that the forces of production develop through time, and certain social relationships further their development while others ‘fetter’ it. Marx was of the opinion that it was necessary for certain exploitative relationships to emerge so that technological progress could be facilitated. However, the introduction of such exploitative relationships may result in the exploited being initially ‘worse off than prior to the introduction of those relationships. But the introduction of those relationships is historically justified in that the exploited will, it is claimed, ultimately benefit from the development of new technology, and their lot will then be better than it would have been had the new exploitative relationships not been introduced. In other words, ‘the exploitation is socially necessary in the dynamic sense’ (ibid., p. 267).
Roemer can now offer a general claim about history which ties his pattern of diminishing types of exploitation to the materialist conception of history: ‘...history progresses by the successive elimination of forms of exploitation as they become socially unnecessary in the dynamic sense’ (ibid., p. 265). An epochal transition occurs when the form of exploitative relations no longer aids development and alternative relations would do so. Consequently, ‘feudal relations were eliminated when they became socially unnecessary in the dynamic sense’ (ibid., p. 270). The same is supposedly true of capitalist exploitative relations. The interesting question is: What about socialist exploitative relations?
As we have seen, socialist exploitation as conceived by Roemer involves the unequal distribution of skills. It seems unlikely that skill differentials would narrow given the need to develop complex technology, and given the social consequences of that (which were discussed in section 2.6). Why, then, does Roemer focus upon skill when he perceives inequality in contemporary socialist societies? He does, in fact, observe a form of exploitation which is not the same as the exploitation of the unskilled by the skilled: what he calls ‘status exploitation’, which is ‘that inequality which arises as a consequence of unequal access to privileged positions’ (ibid., p. 22). Yet this form of exploitation is not theorized nor included in the model of progressively diminishing types of exploitation.
Roemer stresses skill in developing his concept of ‘needs exploitation’. Any distribution which is unequal to distribution according to need (such as distribution according to skill) is characterized by Roemer as exploitation of the needy. But what are we to make of this ‘needs exploitation’? Does it strike us as satisfactory? We may well praise a society which operated by distributing its produce solely in proportion to the individual needs of its members, but are we justified in calling a society which does not behave in such a fashion ‘exploitative’? We think not. Let us take two cases. In the first, needs will be considered to be satiable; in the second, they will not. Consider the first case. What if there were a minimum wage in a society such that the needy were catered for. What if A in such a society were to build for him- or herself an extension to his or her house using his or her own skills? Can we really say that A exploits B merely because the remuneration of his or her enterprise is determined by skill?[81] Even when need (understood in the sense of requirements to meet basic capabilities) has already been taken care of? Roemer argues that conceptions of what is exploitative alter with changes in the mode of production. But, even so, we cannot accept that communist society can justifiably hold the view that every society is exploitative which allows remuneration over and above the catering of need to fall to those who applied most effort or employed most skill.
What, though, if ‘needs’ in fact means ‘wants’, and needs (thus interpreted) are considered to be insatiable? What if every demand were considered to be a need so that need could not be met by such a device as a minimum wage? This is the second case we must discuss. Well, for one thing, if this were the case, it would undermine Marx’s post-scarcity thesis, which is essential to his criticism of the desire for revolution when the forces of production are ‘insufficiently’ developed. But for now let us ignore this objection. What if ‘need’ were thought of in terms of marginal utility? What if different people had different marginal utilities with respect to the enjoyment of goods? We might think of distribution according to need as distribution according to marginal utility. The available goods are distributed to those who ‘need’ them most. But it only makes sense to say that any other system of distribution is necessarily exploitative if we presuppose a collectivist political theory which assumes that society owns the labour of its members — a political theory which is intrinsically inimical to freedom.
Such a collectivist approach has its own problems. As long as everyone identifies with the community, then there will be little that is objectionable. And there is some historical evidence for significant identification with the community in certain countries at certain times — in times of war, China in the Cultural Revolution, and so on. But can such identification be maintained? In small face-to-face communities the answer is that it probably can. But as it is large, centralized communities which are the progeny of capitalism, then the likelihood will be considerable that in postcapitalist societies a number will resent the lack of autonomy they will inevitably experience. In which case, the demand by the rest of such a society in the name of die society as a whole for the total enslavement of the labourer to ‘the community’ will strike him or her as oppressive, if not exploitative, even when that labour would otherwise be contributed voluntarily. (As an analogy, I might never wish to leave a town, but if I am told that I am not allowed to leave the town, then it will more than likely feel oppressive.) But such a feeling of oppression would itself reduce the utility in a society and even generate its own extra needs — for example, greater freedom or control over one’s own labour. How are these needs then to be accommodated?
But surely, skill can be used as a basis for exploiting others. How, then, is the home-improver in the example above to escape being thought of as an exploiter? The answer is that exploitation must involve extracting some of the labour-product of another. If food were produced by machinery without labour being involved, and if this were then distributed according to how much skill one possessed, such inequality would obviously not be a case of exploitation. ‘Exploitation’ is conceptually linked to the extraction of another’s product, not to unequal distribution.[82] Consequently, if one refrains from viewing labour as the property of the collectivity, then improving one’s house is not taking away another’s labour, and hence is not exploitative. To suppose, as Roemer does, that rewards proportionately accruing to differential skills are per se exploitative entails, counter-intuitively, that anyone extending his or her house is ipso facto an exploiter.
It should be noted that skill differs significantly from the assets which underlie feudal and capitalist exploitation. For one thing, it is in principle inseparable from its ‘owner’. For another, it reduces Roemer’s game-theoretical approach from one having a practicable basis to one resembling the mere conceptual manoeuvre found in John Rawls’ original position (see Rawls, 1971, pp. 11–12):
A coalition is socialistically exploited if it could improve its lot by withdrawing with its per capita share of society’s inalienable assets, once alienable assets are distributed equally. While carrying out such a redistribution of skills might be impossible, or at least would involve formidable incentive problems, as a thought experiment the calculations can be made (Roemer, 1982b, p. 283).
The fact that people can in principle withdraw from feudal and capitalist social relations with the requisite assets, but not from socialist ones, suggests that mere skill might be a peculiar choice on Roemer’s part as a basis for socialist exploitation. The reason why one might claim to be exploited in a certain situation is precisely because one might in principle be able to withdraw with one’s relevant assets. One could intelligibly claim that one would be better off if one were free to ‘head for the hills’. One could not make such a claim with regard to skills exploitation as conceived by Roemer.
However, if exploitation is not seen as a question of unequal distribution, as it is for Roemer, but as the extraction and appropriation of another’s labour-product, then skill can be regarded as a basis for exploitation. The problem is not that skill can receive differential rewards (i.e. using one’s skill to improve one’s abode), but that in certain situations it can provide the basis for appropriating another’s product. Hence, though heading for the hills with your share of another’s skill is absurd, heading for the hills where another cannot employ his or her skill to extract your surplus-product makes a great deal of sense. So, ‘class’ needs to be comprehended, not so much in terms of the ownership or non-ownership of property to which accrues an inegalitarian distribution of the total labour in a society (because the extra product might be from one’s own labour), but in terms of the ownership of a facility by which one can extract another’s product. So conceived, skill-based exploitation does not have to be contraposed to distribution according to need. Consequently, it is not unrestricted access to one’s ‘per capita share of society’s skills’ which is the alternative to socialist exploitation, but immunity from the extraction of one’s labour-product by those with extra skill. Unequal ownership of skill is not a problem when it cannot be used to extract surplus from another. But if skill can be so used, then it can provide a basis for exploitation. However, it can perhaps be so used only under specific institutional conditions.
The serfs can rebel against feudal exploitation by seizing military power and nullifying bondage. The proletariat can rebel against capitalist exploitation by seizing private alienable property. But how is another’s skill to be seized? What one might be able to do is coerce the skilled into using their skill for others, but how can that be other than a form of oppression? The antidote to so-called ‘socialist exploitation’ is to create a situation in which skill cannot be used to exploit someone else. This brings us back to issues which we discussed in Chapter 2 when we noted the dynamic of the capitalist labour-process. The non-oppressive conditions for an egalitarian society must include a mode of production which is not dependent upon massive skill differentials. But that is unlikely to be the high-technology one developed by capitalism or socialism.
4.3 Status and Dominance
Further problems arise when one turns to consider status exploitation. What might be called ‘status exploitation’ is salient in contemporary socialist societies,[83] but Roemer has failed to theorize it adequately. In socialist societies it is clear that unequal distribution is not always directly proportional to differential efficiencies or skills. It is often the position of importance which the ‘skilled’ have in society that determines their priviliged income.
Roemer suspects that status exploitation may well be endemic to a planned economy. But how is status exploitation to be dealt with theoretically? Roemer includes dominance as a necessary condition of exploitation, but he views it as the background coercion of the state which maintains property relations understood purely economically.[84] Is this a plausible way of dealing with status exploitation? Is a state necessary to sustain excessive rewards accruing to those with high status? If not, where is dominance to fit into the picture?
We would reply by postulating that it is the ideological domination which those with high status possess which allows them, in certain situations, to extract the surplus-product of others. And even more so than with skill, to withdraw with one’s share of social status is absurd, although to withdraw so that status cannot be used to extract one’s surplus-product is not. Having high status involves the ability to dominate ideologically, and hence the ability to exploit. Dominance is too important, therefore, to be relegated to a background position in our conception of ‘class’.
In dealing with socially necessary exploitation in the dynamic sense, Roemer writes: ‘An individual will be said to be better off in state X than in state Y if he receives more income and at least as much leisure in X as in Y’ (1982a, p. 266). Why is dominance left out of account here? Roemer is forced to include dominance so as to avoid certain anomalous results, but he only pays lip-service to it. True to Marx, Roemer is concerned with rooting all problems in the economic, and so political and ideological forms of dominance are reduced to minor background roles. But if dominance is necessary to the theory, why not give it a more active role? Let us now turn our attention to states X and Y, with dominance brought to the forefront. What if development is slower in fbut all dominance is eliminated? Is X still a better state? What if Y develops a qualitatively different technology to X such that Y’s technology inhibits the re-emergence of dominance? What if X develops a technology which inhibits the overcoming of dominance? What if Tdevelops a qualitatively different technology to X such that Ks technology is environmentally sound (a foctor disregarded in X because of the interests of its dominant class), whereas that of X later comes to precipitate ecological crises because the form of that technology is determined by dominance? (As an example, for the state to remain in control of energy, it might be forced to embark on an environmentally hazardous nuclear power programme.) Can we still say that an individual would be better off in X than in T? Can we dismiss dominance so lightly?[85]
What is more, there is a telling relationship between status and political and ideological dominance. Quite simply, unlike (productive) skill, status is not essentially an economic category, but a political or sociological one. To argue that, as one of the last exploitative categtories and one of the most pervasive through time, status should occupy a central theoretical position is to depart from the economistic thinking which underlies Marxism. When status commands disproportionate respect, when it commands excessive remuneration, when it remains after the abolition of private ownership of the means of production, then the centrality accorded to the economy by Marxist thought must be rejected. To treat status exploitation as anything other than an anomaly is tacitly to reject historical materialism. It is not surprising, therefore, that Roemer should have chosen to focus principally on skill as a basis of socialist exploitation.
Clearly, the power, salary and benefits which are enjoyed by party members in the Soviet Union are proportional not so much to skill as to political position and status. Status exploitation deserves a central position on the theoretical stage. So, whereas Roemer offers an historical model in which the feudal mode of production exhibits inequalities related to exploitation based on forced labour (feudal exploitation), capital (capitalist exploitation) and skill (socialist exploitation), where the capitalist mode of production exhibits inequalities related to exploitation based on . capital and skill, and where the socialist mode of production (primarily) exhibits inequalities related to skill (as represented in Figure 4.1a), we suggest that it is possible for skill to be replaced throughout by status (as in Figure 4.1b) in so far as status differentials and their accompanying rewards are evident in feudal, capitalist and socialist societies. And if this is done, then we see, interestingly, how class rests less on a single feature: the economic. Feudal exploitation is mainly political, capitalist exploitation is mainly economic, and socialist exploitation would be mainly ideological in form. Furthermore, replacing skill by status results in a sociological or ideological (as opposed to an economic) category becoming visible as a prime historical protagonist.
However, Figure 4. lb would not present a complete picture of exploitation in ‘actually existing socialism’. What is required is for it to be supplemented by Figure 4.1a, but with ‘skill’ understood more generally as ‘knowledge and ability’.[86] We suggest that socialist societies exhibit expropriation of the labour of others by means of status (e.g. party leaders) and knowledge (e.g. technicians). Clearly, the technicians also possess a degree of status, and party leaders often have some of their status because of their knowledge. But such knowledge, which is not of a purely economic form, must also be regarded as partly ‘ideological’. ‘ Knowledge and status each support the technical and bureaucratic fractions of the techno-bureaucracy in ‘actually existing socialism’.[87]

Roemer himself regards status exploitation as a serious problem for socialists. For example, Roemer considers the attainment of self-actualization by humanity as the primary Marxist value. Self-acutalization is understood by Roemer partly as the overcoming of constraints set on meeting ‘basic capabilities’. But are such constraints purely ‘material’? Roemer rightly thinks not:
There are...classical arguments which examine other constraints to selfactualization once the material constraint is no longer binding. First among these is self-actualization through control of one’s labour, the contention being that socialism makes possible such control to an extent impossible under capitalism. This is not necessarily the case. Socialism may eliminate capitalist exploitation, but it is not clear that the status exploitation which appears to replace it in existing socialism is a quantitative improvement with regard to self-actualization in societies where the material constraint is no longer binding (1982a, p. 274).[88]
This passage reveals a central feature of Marxist thought. It is assumed that the material constraint on self-actualization must be dealt with first. But the development of the productive forces in a dominance-permeated society may occur in such a form that workers’ control and autonomy become precluded. It may be necessary to opt for a different type of productive force at an earlier stage of technological development if direct workers’ control is to be at all feasible, and if class is to be abolished. This is of vital importance when discussing the Third World. If one holds to the direction suggested by Marxist thinking in general, then it is necessary to develop sophisticated, capitalist technology in the ‘underdeveloped’ regions before effective revolutionary activity can take place there. The result could be a dependence of the Third World worker on a class of technologists, with no achievement of direct workers’ control at all. Contrast the view of Ivan Illich: ‘Above all I want to show that two-thirds of mankind still can avoid passing through the industrial age, by choosing right now a postindustrial balance in their mode of production which the hyperindustrial nations will be forced to adopt as an alternative to chaos’ (1973, p. 9).
We might wish to go further. If two-thirds of mankind are to enjoy workers’ control, it may well be imperative that they avoid passing through the industrial age. Instead of supposing that the forces of production developed in capitalism give birth to workers’ control, we might suspect that it is necessary to seize control of less developed productive forces (or choose less capital-intensive, alternative or ‘appropriate’ technology) and then, in the context of non-exploitative relationships, develop productive forces which are appropriate to direct workers’ control. To wait for the productive forces to develop first might lead to the development of inappropriate productive forces which inhibit the realization of workers’ control and hence serve to maintain class differences.[89]
The main reason why this does not occur to Roemer is because exploitation encourages the development of the productive forces, and along with other Marxists he assumes that the development of the productive forces leads to freedom. Yet exploitation requires exploitative relations:
... it is relations of private property which were socially necessary, not particular individual capitalists. It is not that private property was necessary to coax certain specific individuals in possession of scarce skills to employ them (entrepreneurial activity, inventiveness); rather, it was the system of private property in the means of production which stimulated innovation (Roemer, 1982a, p. 269).
But what kind of innovation? Might it not be innovation appropriate to maintaining the very relations of dominance which ostensibly stimulate such innovation?
4.4 Further Issues Raised by Roemer’s Account
Roemer is aware that objections may be raised against his materialist conception of history (see 1982a, p. 266). Historical materialism does not claim that each epoch has the historical task of eliminating the forms of exploitation which have become socially unnecessary; it claims, instead, that the task of each epoch is to transform the relations of production which have come to fetter the development of the productive forces. But does this in fact improve the welfare of the people? And in particular, is it clear that removing the fetters to the development of the productive forces in the socialist mode of production brings about the elimination of status exploitation or knowledge-based exploitation?
Capitalist exploitation is removed in socialism, but socialist exploitation (whether understood primarily in terms of distribution according to ‘skill’, or understood as a combination of ‘skill’ and status) remains. In Chapter 2 we located a dynamic within capitalism which led to the ascendancy of the ‘skilled’ (the technobureaucracy). But what dynamic within socialism leads to the control of production by the proletariat? Because Roemer sees a pattern of diminishing types of exploitation,[90] he is tempted to look forward to the removal of skill-based exploitation under communism. The few doubts he has about socialism which remain do so because he suspects that status might be a necessary feature of planned economies.
How is socialist exploitation to be overcome? Roemer observes: ‘Under feudalism, bondage is legitimate; under capitalism, inequalities arising from private property in both alienable and inalienable assets are legitimate but personal bondage is not; under socialism, only inequalities from private property in inalienable assets are legitimate’ (ibid., p. 283). Evidently, by ‘inalienable assets’ Roemer means skills. However, status as well as ‘skill’ might be employed in such an account. Nevertheless, Roemer can tentatively offer a sociology of different conceptions of justice which might provide the basis for class struggle — a class struggle which might come to be fuelled by the rejection of perceived socialist exploitation:
Perhaps the exploited learn to classify feudal bondage as exploitative under feudalism, but not capitalist inequality; capitalist inequality becomes viewed as exploitative under capitalism, but not inequality due to skill differentials; and so on. Each mode of production might inculcate the beliefs in the exploited class which are necessary for it to perform its ‘historic task.’ Or perhaps the exploited are less discriminating in the kinds of inequality they struggle against (think of the egalitarian experiments which have appeared throughout history), but the only kind of inequality which can be successfully eliminated at a given point in time is the one which is not then socially necessary (ibid., p. 288).
The first suggestion is very interesting, but we think it is false. The feudal aristocracy was overthrown by the capitalist class, which was not exploited by the aristocracy. Similarly, the techno-bureaucracy, which might replace the capitalist class, are not themselves exploited by the bourgeoisie. Consequently, it is not (and definitely not in the case of the transition to capitalism) the exploited class which sees through the current form of exploitation and carries out a ‘historic task’. What is more likely is that a new, arising class would consider a new form of exploitation which it would benefit from to be legitimate, and could safely condemn the form which has become historically redundant.
In the second suggestion, it is not assumed that the exploited class overthrows the exploiters. The ascending class may, by attacking the form of exploitation employed by the current, dominant economic class, invoke the aid of the exploited, and thus increase its own effectivity. In this way, only one form of exploitation is overthrown at a time. But as it is not the exploited class which significantly improves its position by this process, then this cannot act as a model for the abolition of classes in the socialist mode of production. Neither can it be assumed that all forms of exploitation are less able to be overthrown together than ‘skill’ or status exploitation on their own, because all that we have been presented with is the replacement of one form of exploitation by another, not by the abolition of exploitation tout court. Exploitation certainly alters in form, but not necessarily in quantity.
Furthermore, if each form of exploitation is related to social dominance, then it may well be that an attack on dominance in both its coercive and ideological forms is what is required, and that in itself would undermine all types of exploitation. (In fact, given Roemer’s definition, as dominance is a necessary condition of exploitation its elimination would logically be sufficient to end exploitation.) Hence, we have no grounds for preferring the attack to be launched in socialist, rather than in feudal or capitalist societies, if all we are concerned with is the undermining of the basis of exploitation. If, on the other hand, developed technology gives rise to the necessity of a skilled class, and if their skill can even more easily be used to legitimize exploitation than ownership of capital can, then socialist society would be the one in which it would be most difficult to end exploitation and class divisions, which is the converse of what Marxists, on the whole, believe.[91]
It might be necessary to concentrate our attack, not on exploitation itself, but on the political and ideological dominance which underlies it. Roemer, however, acknowledges that the state provides the backdrop for exploitation, and hence he says nothing to rule out an attack on the state as a means ultimately to ending exploitation. Unfortunately, Roemer sees exploitation and class as being fundamentally economic in both form and substance. Consequently, dominance as such, though perceived to be a necessary condition of exploitation, is left out of the picture. What needs to be realized, alternatively, is that dominance is not some mere attending feature which as long as it is present can be forgotten about when discussing ‘class’. Instead, feudal exploitation should be seen as inequality based primarily on political dominance, capitalist exploitation as inequaltiy based primarily on economic dominance, and socialist exploitation as inequality based primarily on ideological dominance. Correlatively, instead of seeing dominant classes as consisting of the holders of (economic) property, they should be seen as consisting of the actual and potential exerters of certain modes of domination.
Roemer’s intellectual project is motivated by a desire to explain exploitation observable in socialist societies: ‘Our task will be to propose a theory of exploitation that is operative even when private property in the means of production is absent’ (1982b, p. 256). But if Roemer wants to be able to theorize exploitation in ‘actually existing socialism’, then he should take cognizance of the route whereby the socialist exploiters acquired their privileged position. It would not be too controversial to state that many of the early socialist exploiters owed their position to their role in the party during the October Revolution. Consequently, by regarding, instead of domination, (economically conceived) ‘property relations (exploitation) as key’ (Roemer, 1982a, p. 105), he puts the cart before the horse.
We require a theory of class which reveals both that exploitative relations generate power and that power maintains, and even produces, exploitative relations. Such a theory of class can only draw attention to both of these features if the bases of power — coercive, economic and ideological — are exposed in our understanding of ‘class’. As Erik Olin Wright remarks:
Marxism is not fundamentally a theory of class structure. It is above all a theory of class struggle and social change. The analysis of class structure is intended not as the end point of an investigation, but as the starting point. The premise is that the structure of class relations establishes the basic context within which social struggle and change will take place. The purpose of studying class structure is to be able to understand the constraints on and possibilities of transformation (1980, p. 365).
But social transformation, according to Marxists, involves the ability to seize power. If we are attempting to understand the motion of history in terms of class struggle, then we need to inject political and ideological factors into our conception of ‘class’. We need to know at the very least the attributes of classes which enable them to achieve power. It is because the basis of power and its ability to generate exploitation has not been fully exposed by the Marxist approach to class that revolutionaries have stumbled from one form of exploitation and oppression to another. When one really seeks liberation for the oppressed, then domination (both coercive and ideological) needs to be inserted into any radical’s conception of ‘class’. If it is not, then one runs the risk of attacking (economically conceived) property-based exploitation and leaving another class which is dominant coercively or ideologically in a position to reintroduce the old exploitation or to introduce exploitation in a new form.
Roemer attempted to provide an essentially single-feature solution to the problem of ‘class’. This feature concerns property relations, and therefore stresses the economic. This economic focus, necessitated by fidelity to Marx, enabled Roemer to encompass skill since it is a category amenable to an economic analysis. Status, however, remained an anomaly. In addition, the central importance of dominance could not be accommodated, even though it had to be employed in the general theory in order to prevent the entailment of ludicrous results. (For example, as we mentioned above, without the dominance proviso the inhabitants of a resource-rich island would be described as exploiting the inhabitants of a resource-poor one.) However, the desire to present an economic treatment of ‘class’ led to no more than lip-service being paid to this clearly indispensible feature — dominance — and the failure to deal at all adequately with the problem of status in socialism. Roemer acknowledges the problem of status, but he does not incorporate it effectively into his theory. We have sought to rectify that by shifting the focus from the economic to the ideological with regard to exploitation in socialism. Thus, we see that Roemer’s singularly economic account of ‘class’ is inadequate because it fails to deal effectively with non-economic criteria.
Now, Roemer seems to admit the possibility of including the political within the core concepts of his theory when he writes: ‘Clearly, one could extend the scope of the exploitation concept to include political repression, as that enters into the determination of an individual’s welfare’ (1982a, p. 263n). The remark, however, occupies no more than a footnote in his exposition. The same syndrome is apparent in Roemer’s distinction between exploitation and alienation. The former concerns property relations and the latter the organization of work, including the lack of control over one’s labour. And Roemer associates domination with the latter, thus failing to acknowledge domination as central to exploitation itself. Roemer strongly resists giving domination any meaningful role in the concepts ‘class’ or ‘exploitation’.
Perhaps, though, coercive and ideological domination can be incorporated into a game-theoretical conception of ‘class’ in another way? What Roemer has actually done is take a standard, single-feature, Marxist account of ‘class’ — namely, that the concept is defined in relation to property — and then broaden the concept ‘property’ to include such things as skill. He then proceeded to identify exploitation by asking whether an individual would be better or worse off if he or she were to withdraw from the specified ‘game’ with his or her share of the total amount of the specified property present. But, as we have seen, Roemer’s concentration upon skill so extends the concept ‘property’ that the term ‘withdraw’ also has to extend so as to mean ‘withdraw in a thought experiment’. In which case, we are free to propose that control over another’s labour is property, that decision-making is property, that influencing or impressing others is property, and so on. We are free to regard any form of political, ideological or economic dominance whatsoever as property. Consequently, one can be, for example, politically exploited if the decision-making in a society is not equally distributed.
Now, Roemer considers exploitation to be more important than alienation in determining historical change, because property relations are key. But when we realize that alienation, as understood by Roemer, is just as capable of being described in terms of property relations (i.e. the lack of ownership of control over one’s own labour), then property relations no longer direct us to regard exploitation as of primary historical importance. In fact, the economic can no longer be regarded as primary at all, because the historically determinant feature with regard to class struggle — property relations — can now be seen equally to allow the inclusion of political and ideological elements. Accordingly, nothing substantial remains of Roemer’s historical materialism.
Thus, ‘class’ can, if we accept Roemer’s general approach, be expanded beyond the immediately economic to include political and ideological groupings. The notion of ‘class’ derived by extending Roemer’s theory in an obvious way becomes so radically unlike Marx’s economic conception that we should reject Marx’s approach as being too narrowly economic. But what specific ‘property’ should we consider when attempting to isolate a new class arising out of capitalism? Perhaps the multiple-feature approach to ‘class’ will help us here?
4.5 A Multiple-feature Specification of ‘class’
Shortly after Marx’s death, there was a tendency for Marxist theory to adopt a progressively more mechanistic approach. More recently, however, there has been, on the Continent, a move away from this position. The superstructure is regarded less as a mere epiphenomenon, and more as a set of spheres existing with a degree of autonomy with respect to the economic base. This conception is visible in the work of the young Lukacs and, more recently, in Althusser. Interestingly, both Lukacs and Althusser claim Lenin’s authority for their views. We discuss Althusser first because of the ramifications his position has for the conception of ‘class’ espoused by Poulantzas. And the concept ‘class’ is our present concern.
Althusser stresses the importance of the superstructure in an analysis of Lenin’s political accomplishments in 1917. Mechanistic Marxism had ruled out the possibility of a revolution occurring in a relatively backward country such as Russia. However, Russia is precisely where a proletarian revolution occurred. How is this to be explained? Althusser attempts to do so using Lenin’s notion of ‘the weakest link’: Russia was the weakest link in the capitalist/imperialist chain. It had the largest capitalist factory in the world (the Putilov works), but it also possessed a semi-feudal social structure with a large peasantry. It had a divided, dominant economic class, which lacked support from the international bourgeoisie. Waiting in the wings, there was a ‘revolutionary elite’ which had become ‘cultivated’ in exile — an exile imposed on it by Tsarist repression. What is more, the political system was losing its ideological and political support because of a disastrous war. In the space created by economic, political and ideological factors, Lenin was able to come to power. Lenin’s very achievement showed that revolutionary change could not be explained by economic developments alone.
In the light of this Althusser offered a reinterpretation of Marx. He observed that Marx’s concrete historical analyses showed that particular social formations were not pure modes of production. Specific social formations contained ‘survivals’ from earlier periods, e.g. the feudal monarchy still existed in Britain, which was the most developed capitalist country of the time.
How, then, are we to think these survivals? Surely, with a number of realities, which are precisely realities for Marx, whether superstructures, ideologies, ‘national traditions’ or the customs and ‘spirit’ of a people, etc. Surely, with the overdetermination of any contradiction dnd of any constitutive element of a society, which means: (1) that a revolution in the structure does not ipso facto modify the existing superstructure and particularly the ideologies at one blow (as it would if the economic was the sole determinant factor), for they have sufficient of their own consistency to survive beyond their immediate life context, even to recreate, to ‘secrete’ substitute conditions of existence temporarily; (2) that the new society produced by the Revolution may itself ensure the survival, that is, the reactivation, of older elements through both the forms of its new superstructures and specific (national and international) ‘circumstances’. Such a reactivation would be totally inconceivable for a dialectic deprived of overdetermination (1979, pp. 115–16).
The example of the Russian Revolution and the problem posed by survivals in specific social formations show that superstructural levels must be given some degree of autonomy. And Marx, had he lived, might have agreed with Engels’ letter to Bloch of 21 September, 1890:
According to the materialist conception of history, the economy is the ultimately determining element in history. [But] if someone twists this into saying that it is the only determining [one], he transforms this proposition into a meaningless, abstract, senseless phrase. The economic situation is the basis, but the various elements of the superstructure... also exercise their influence upon the course of events...and in many cases preponderate in determining their form. There is an interaction of all these elements in which, amid the endless host of accidents, the economic movement finally asserts itself as necessary (1968, p. 692).
While the economy determines whether the economic, political or ideological instance is dominant, the superstructure, Althusser claims, continually influences the social structure:
...overdetermination does not just refer to apparently unique and aberrant historical situations (Germany, for example), but is universal; the economic dialectic is never active in the pure state; in History, these instances, the superstructures, etc. — are never seen to step aside when their work is done or. when the Time comes, as his pure phenomena, to scatter before His Majesty the Economy as he strides along the royal road of the Dialectic. From the first moment to the last, the lonely hour of the ‘last instance’ never comes (1979, p. 113).
For Althusser, the political and ideological spheres are ever-influential components of the structure of society. Althusser goes further. He claims, in one of his most influential essays, ‘Ideology and Ideological State Apparatuses’, that the relatively autonomous ideological factors are themselves material! Althusser’s ploy is to locate the ideological, as well as the economic and political, within institutions. How does Althusser accomplish this?
He begins by asking the question ‘How is the reproduction of the relations of production secured?’ This is a central question because Marx focuses upon the material when he asks: How does a society reproduce itself? Althusser’s answer:
In the topographical language (Infrastructure. Superstructure), I can say: for the most part, it is secured by the legal-political and ideological superstructure.
But... it is essential to go beyond this still descriptive language, I shall say: for the most part, it is secured by the exercise of State power in the State Apparatuses, on the one hand the (Repressive) State Apparatuses, on the other the Ideological State Apparatuses (1977, p. 141).
Repressive State Apparatuses function predominantly (though not exclusively) by violence. This distinguishes them from Ideological State Apparatuses, which function ‘by ideology’. But what, here, is ‘ideology’? Althusser proposes two theses: first, ‘ideology represents the imaginary relationship of individuals to their real conditions of existence’ (ibid., p. 153); and second, ‘ideology has a material existence’ (ibid., p. 155) because ‘an ideology always exists in an apparatus, and its practice, or practices’. As practices are material, to the extent that ideology is located in those practices, ideology is material (see ibid., p. 158). The ideological apparatuses Althusser mentions are the Church, the media, and the educational institutions: the schools and universities.
Thus, for Althusser, ideology is effective because of its practices. But talk of ‘material ideology’ does strike one as rather odd. However, the term ‘material ideology’ could be employed uncontroversially if one were to regard it merely as a technical formulation. To the extent that ideological practices play a prime role in reproducing the social structure, and factors which play such a role can technically be termed ‘material’, then ideology is, technically, ‘material’.
But ideology might not just serve to reproduce an inegalitarian economic system; real inequality might be generated by and within ideological institutions. For example, confession is an activity situated within an institution (the Catholic Church). This institution is located, not at the economic, nor at the political, but at the ideological level. Yet the power to hear confession, like the power of excommunication (see Russell, 1961, pp. 402–3), gave the Church considerable political power. Moreover, for payment, the clergy could reduce the time an individual would ostensibly have to spend in purgatory. This ability to extract payment contributed to the wealth of the Church. And real inequality could arise within the Church because bishops could, for example, add to their private wealth by selling ecclesiastical preferment.
What, one might ask, has any of this to do with our conception of ‘class’? Well, it is our thesis that because ideology has institutional manifestations, inequality is often not confined to the economic sphere alone, but is often located in the ideological one as well. The relations within ideological institutions must be given adequate weighting when one seeks to theorize the reproduction of social inequalities. The same can be said for the relations within political institutions.
This means that Nicos Poulantzas is correct to utilize ideological and political criteria, as well as economic, to determine the class which has the potential to engage in revolutionary activity; i.e. the class which seeks to overthrow the basis of the specific inequalities or restrictions which it suffers.
4.6 Poulantzas on ‘class’
What must be continually borne in mind when discussing Poulantzas’ notion of ‘class’ is that, for Poulantzas, classes are situated in class struggle: ‘Social classes coincide with class practices, i.e. the class struggle, and are only defined in their mutual opposition’ (1978a, p. 14). Now, this might appear to contradict our suggestion at the beginning of this chapter that the concept ‘class struggle’ is parasitic upon the concept ‘class’. But we think not. What constitutes ‘class struggle’ conceptually is identified by what is meant by ‘class’. If ‘class’ is defined purely in economic terms, then class struggle is economic; but if ‘class’ is defined in political, ideological and economic terms, then class struggle must be understood to take place on all these levels.
We shall now examine Poulantzas’ criteria for determining one’s class. Erik Olin Wright summarizes:
Poulantzas’s basic conclusion is that only manual, non-supervisory workers who produce surplus value directly (productive labour) should be included in the proletariat. Other categories of wage-labourers (unproductive employees, mental labour, supervisory labour) must be placed in a separate class — either the ‘new’ petty bourgeoisie, or in the case of managers, the bourgeoisie itself (1978, p. 31).
One immediate consequence of this is that the industrial proletariat, in the United States at least, becomes extremely small by contrast with the proletariat of The Communist Manifesto, which is a great and growing class. This has led Poulantzas and his followers to lay stress on class alliances, and others to reject Poulantzas’ criteria so as to preserve a much larger proletariat. What, then, are we to make of Poulantzas’ criteria?
First, productive/non-productive labour. Surely, a cashier at a till is a member of the working class. But he or she does not produce anything, and so, on Poulantzas’ stipulations, must be excluded from the proletariat. Poulantzas has reasons for excluding those such as cashiers from the proletariat, but if we bring those reasons to light we shall see that there may well be an equivocation in his use of the term ‘class struggle’. According to Wright, ‘Class struggle, in Poulantzas’s analysis, does not refer to the conscious self-organization of a class as a social force, but rather to the antagonistic, contradictory quality of the social relations which comprise the social division of labour. Class struggle exists even when classes are disorganized’ (ibid., p. 32). How can this be? According to Poulantzas, because class relations are antagonistic in their everyday manifestations. In his or her daily labour, the proletarian struggles with the capitalist. He or she does not need to be conscious of a struggle to overthrow capitalism. Merely to resist wage reductions or to fight for higher pay is to engage in class struggle which, according to Marx’s analysis of the tendency of the rate of profit to fall (see Chapter 3), leads to crises in capitalism — one of which, supposedly, will effect its overthrow. And this tendency of the rate of profit to fall is determined, according to Marx, not just by the increasing degree to which socially necessary labour is concentrated in capital, but also inversely by the extent to which surplus-value is extracted from the proletariat. Hence, only those producing surplus-value participate in the struggle which brings crises of capitalism.
But, surely, this is a purely economistic conception of struggle, whereas the conception of struggle needed for either the political or ideological antagonisms, or for the forging of class alliances cannot be. In the latter case, it is clear that organized class struggle which brings the ‘new petit bourgeoisie’ into alignment with the proletariat is not to be understood in terms of a resistance to the more efficient extraction of surplus-value, but in terms of political confrontation (see PP, p. 168). It seems likely, then, that Poulantzas’ criterion of productive labour is most suspect in that the required political confrontation certainly involves criteria other than the production of surplus-value. A more fruitful approach might be to consider the proletariat as not just consisting of those who produce surplus-value (for others have a stake in the political overthrow of the bourgeoisie, e.g. the cashier), but as consisting of those who are employed by the owners of capital but, at the same time, meet the political and ideological criteria as well. Clearly, not all those who sell their labour are potential libertarian communists. Managers, for example, greatly benefit from an inegalitarian society even though they sell their labour. Fortunately, as we shall see, the following political and ideological criteria are sufficient to eliminate such strata as managers from the ‘revolutionary class’.[92]
What, then, of the second criterion: non-supervisory/supervisory positions? It is clear that the primary role of supervisors is to maximize the profit of the bourgeoisie by facilitating the exploitation of the proletariat. For this activity the supervisors can be paid with a proportion of the surplus-product they have helped to extract. For this reason, their political affiliation is most likely to be either with the bourgeoisie who provide them with a relatively high and privileged standard of living, or at least against the proletariat to the extent that they wish to retain or even improve their relatively dominant position in society. And as Wright observes: ‘ “Experts” of various sorts at all stages of the production process help to legitimize the subordination of labour to capital, by making it appear natural that workers are incapable of organizing themselves’ (1978, p. 38).
We can now turn to the third criterion: manual/mental labour. This is important because
the division of mental and manual labour, is...directly bound up with the monopolization of knowledge, the capitalist form of appropriation of scientific discoveries and of the reproduction of ideological relations of domination/ subordination, by the permanent exclusion on the subordinated side of those who are deemed not to ‘know how’ (Poulantzas, 1978a, p. 237).
Not only are the proletariat unequal to the bourgeoisie and the ‘new petit bourgeoisie’ in terms of knowledge and access to it, but this inequality plays a significant part in maintaining the political inequality which is manifest in the supervision of productive activity. This shows to some extent the degree to which economic, political and ideological factors can interrelate.
Although we have expressed some doubts concerning Poulantzas’ economic criterion of productive labour, we find ourselves in agreement with him that supervisory roles and roles involving privileged access to knowledge militate against trustworthy involvement in revolutionary activity on the side of the proletariat. This is because those who occupy privileged positions are unlikely to have an interest in genuine equality. But an interesting side issue arises concerning Poulantzas’ conception of ‘class’. As he himself admits, his essays ‘concern the imperialist metropolises, and Europe in particular’ (ibid., p. 9). How would the present-day heirs to the Russian Revolution be classified according to Poulantzas’ criteria?
Raymond Aron has commented on political and economic positions in Soviet society. He notes that the members of the ruling group have
infinitely more power than the political rulers in a democratic society, because both political and economic power are concentrated in their hands.... Politicians, trade union leaders, public officials, generals and managers all belong to one party and are part of an authoritarian organization. The unified elite has absolute and unbounded power (quoted in Bottomore, 1965, p. 52).
To which Tom Bottomore has added a consideration of the ideological facets: Another element in its power is the ideological monopoly which it enjoys through its control of the exposition and interpretation of an official creed — Marxism — which shapes the thoughts and opinions of the people and provides justifications for the actions of the ruling group’ (ibid.). This suggests that we either regard the Soviet Union as a ‘new petit bourgeois’ state run by nonproductive, knowledge-holding supervisors, or we regard it as something similar to state monopoly capitalism where a new bourgeoisie has replaced the old. In which case, from Poulantzas’ standpoint, little significant improvement in the economic, political and ideological subordination of the Russian working class would have resulted from the Revolution. We suggest that the actual cause of the continuation of subordination of the Russian working class can be located in the application of Lenin’s theory of revolutionary organization. This claim is ironic, for Lenin’s success provided the basis for overdetermination in the structuralist Marxist analysis which we have been examining — an analysis which is responsible for this multiple-feature approach to ‘class’. Let us now turn to Lenin’s prescription for the organization of class struggle.
4.7 Lenin and the Proletariat
Lenin’s major discussion of revolutionary organization is to be found in What is to be Done? Lenin argues that the working class, left to itself, is so immersed in capitalist life that the form of struggle which it can take is restricted to wage demands. Left by itself, it is only capable of achieving a trade union consciousness and cannot see the situation as a whole. It cannot step outside of its relations with the bourgeoisie in order to conceive of the possibility of transcending capitalist society. Lenin calls the revolutionary perspective which can conceive of transcending capitalism: ’Social-Democratic consciousness’. But where can this consciousness come from? Genuine revolutionary thought comes not out of the proletariat, but out of the bourgeois intellectuals who side with the working class (see Lenin, 1975c, p. 37). Lenin goes so far as to quote Kautsky approvingly: ‘Modern socialist consciousness can arise only on the basis of profound scientific knowledge.... The vehicle ofscience is not the proletariat, but the bourgeois intelligentsia’ (quoted in ibid., p. 47). The intellectuals who attain a position of theoretical eminence in the revolutionary party are the source of revolutionary ideas and strategy.
The party serves the function of organizing the revolutionary struggle of the proletariat. Lenin maintains that the party is to be led by ‘professional’ revolutionaries: ‘...the organizations of revolutionaries must consist first, foremost and mainly of people who make revolutionary activity their profession’ (ibid., p. 138).[93] These revolutionaries are to be maintained by the party, a body which does not produce a surplus-product nor, as a consequence, surplus-value. Clearly, they live on the surplus-labour of the proletariat.
Moreover, the most obvious role taken by the party leaders is that of supervising the revolutionary activity of the working class:
We must take upon ourselves the task of organizing an all-round political struggle under the leadership of our party in such a manner to obtain all the support possible of all opposition strata for the struggle and for our Party. We must train our Social-Democratic practical workers to become political leaders, able to guide all the manifestations of this all-round struggle, able at the right time to ‘dictate a positive program of action’ for the restless students, [etc.]....
The active and widespread participation of the masses will not suffer; on the contrary, it will benefit by the fact that a ‘dozen’ experienced revolutionaries, trained professionally no less than the police, will centralize all the secret aspects of the work — drawing up leaflets, working out approximate plans and appointing bodies of leaders for each urban district, for each factory district and for each educational institution, etc. (ibid., pp. 105–6, 154–5).
Accordingly, the revolutionary leadership exhibits the following important characteristics in the production of organized revolutionary struggle:
-
it lives off the surplus-labour of the proletariat;
-
its role is supervisory; and
-
its labour is mental, for it is the exclusive source of true revolutionary ideas.
In other words, vis-à-vis the proletariat who will supposedly overthrow the bourgeoisie in revolutionary activity, and with respect to that activity, the party leadership fits all of Poulantzas ‘ criteria for the ‘new’ petit bourgeoisie’! It should, therefore, come as no surprise to Marxists if the proletariat after the revolution were to find itself occupying a social position which was economically, politically and ideologically subordinate. Such subordination is exhibited in the very form of revolutionary praxis dictated by Lenin prior to the revolution and to be employed in the production of the new society.[94] Yet what is most interesting is that these three criteria of domination and subordination were developed by Marxists from an analysis of the situation in Russia prior to Lenin seizing power. To be precise, Lenin could not have seized power without there being a considerable degree of autonomy exerted by the political and ideological spheres. But Lenin maintained inequality in those spheres and, partly as a result, immense inequality is maintained in Russia today.
Why, though, was Lenin indifferent to inequalities of power in revolutionary political and ideological practices? Why did he content himself with such an elitist revolutionary organization? To see why we shall have to consider his attitude to the question of ‘spontaneous’ action on the part of the masses; for, as we shall soon discover, it is his response to this issue which reveals his intrinsically elitist and dictatorial posture, and which also reveals its basis in the theoretical stance that he adopts.
Lenin was of the opinion that the proletariat is locked in an economic struggle with the bourgeoisie, and will tend, as a result, to see the solution of its problems within the context of the present economic order — higher wages, etc. Lenin thus considers the workers to be incapable, on their own, of achieving anything other than a ‘trade union consciousness’. As a result, action instigated by the masses themselves will not be of a consciously revolutionary form. The spontaneous upsurges of the workers must, therefore, be opposed and replaced by revolutionary activity directed by the party:
Since there can be no talk of an independent ideology being produced by the masses of the workers themselves in the process of their movement the only choice is: either the bourgeois or the socialist ideology. There is no middle course (for humanity has not created a ‘third’ ideology, and, moreover, in a society torn by class antagonisms there can never be a non-class or above-class ideology). Hence, to belittle the socialist ideology in any way, to turn away from it in the slightest degree means to strengthen bourgeois ideology. There is a lot of talk about spontaneity, but the spontaneous development of the working-class movement leads to its becoming subordinated to the bourgeois ideology..., for the spontaneous working-class movement is trade unionism...and trade unionism means the ideological enslavement of the workers by the bourgeoisie. Hence, our task, the task of Social-Democracy, is to combat spontaneity, to divert the working-class movement from this spontaneous, trade-unionist striving to come under the wing of the bourgeoisie, and to bring it under the wing of revolutionary Social-Democracy (Lenin, 1975c, pp. 48–9).
But who is it who provides the much needed ‘socialist ideology’? The party intelligentsia, which satisfies the indices of the ‘new petit bourgeoisie’ (or, in our terminology, the techno-bureaucracy), some of whom are drawn from the old bourgeoisie, and whose theory was discovered by non-proletarian intellectuals!
Lenin is at great pains to stress that there is no third ideology apart from the bourgeois and socialist ones (a claim which is only persuasive given a binary conception of ‘class’). But the very fact that these remarks of his result from his being engaged in a debate within the revolutionary Left shows that there is more than one claimant to the ownership of socialist ideology. Are these not separate ideologies? And how are we to distinguish between them? Moreover, the fact that there are more than two ideologies means that not every ideology purporting to be the ‘true socialist ideology’ can be so. The ‘true socialist ideology’ might, conceivably, demand workers’ control not only of the coming society, but of the revolutionary process as well in order to ensure that the workers will end up in control of the future society. Lenin’s ‘socialist ideology’ might be the ideology of a rising intelligentsia which seeks to organize the proletariat, rather than allowing the proletariat to organize itself. Lenin’s rejoinder, of course, would be that the (empirically observable) trade union consciousness of the proletariat shows that it cannot organize itself and must, instead, be organized. We now wish to argue that such a reply would be a non sequitur.
The immediate problem confronting Lenin would appear to be the lack of a revolutionary consciousness on the part of the revolutionary class. A revolutionary theory which can support such a consciousness is, however, in the hands of a revolutionary intelligentsia. For Lenin, the relevant revolutionary theory is Marxism. Lenin rightly holds that the revolutionary class must, if it is to act effectively in bringing about the desired transformation of society, act in accordance with the ‘correct’ theory. His solution to the problem of how this is to be achieved is for the proletariat to be led by the tightly disciplined revolutionary group which is in possession of the required theory: ‘...the role of vanguard fighter can be fulfilled only by a party that is guided by the most advanced theory’ (ibid., p. 29).[95] The result is that as the intelligentsia have the theory, for the party to be guided by the theory, it must be guided by the intelligentsia. And the proletariat must be similarly led. But what is Lenin’s conception of leadership here?
We might think of the term ‘leader’ in several different ways. For example, a despot is often thought of as a strong leader. The leader in such a case is the one with political power. As another example, we might think of the person who initiates a proceeding. The first person to do something and who shows the way for others to follow is a leader. Often such leaders exert considerable influence over those who follow them, but not necessarily as a result of exercising coercive power over them. The mere fact that at any moment in time a leader might be required does not entail that coercive power is always required. Certainly, if the proletariat does not produce a revolutionary theory on its own, then a few theorists can show the way, can ‘lead’.
But this does not mean that the proletariat must be organized by and must obey such leaders; unless, that is, one is so elitist as to assume that the proletariat is so stupid as to be incapable of acting in accordance with the revolutionary theory except when it obeys the explicit instructions of those who have produced such a theory. Quite simply, two different answers to the problem of the lack of theory amongst the proletariat present themselves: (1) steps are taken to ensure that the proletariat avails itself of the theory; (2) commands are given to the proletariat by those who possess the theory. In both cases the proletariat acts in accordance with the theory. But if one wants to prevent a privileged group directing the course of a revolution which results in rule by a techno-bureaucratic elite, then the workers must themselves be in control of the revolutionary process, and answer (1) becomes much more appropriate.
Lenin, however, saw no problem with the second of the two answers. He saw nothing problematic in employing a dictatorial conception of leadership. Consider his reply to a pamphlet written by ‘Lefts’ among the German communists who questioned the strategy of favouring dictatorial leadership, rather than workers’ control of the revolution:
The mere presentation of the question — “dictatorship of the Party or dictatorship of the class, dictatorship (Party) of the leaders or dictatorship (Party) of the masses?’ — testifies to the most incredible and hopeless confusion of mind. These people are straining to invent something quite out of the ordinary, and, in their effort to be clever, make themselves ridiculous. Everyone knows...that usually, and in the majority of cases, at least in modern civilised countries, classes are led by political parties; that political parties, as a general rule, are directed by more or less stable groups composed of the most authoritative, influential and experienced members, who are elected to the most responsible positions and are called leaders. All this is elementary. Why replace this by some rigmarole, by some new Volapuk [artificial language]? (1975b, pp. 28–9).
The passage depends upon a tendentious confusion of our two senses of leadership.
This casts considerable light on an issue which has been disputed on the Left ever since the Russian Revolution. Did Marxism/ Leninism give birth to Stalinism, or was Stalin the result of the special difficulties attending the Russian Revolution? A common Marxist response is seen to be disingenuous when one considers the following remark by Lenin:
When instead of this customary procedure, it became necessary, due to the stormy development of the revolution and the development of the civil war, to pass quickly from legality to illegality, to combine the two, and to adopt the ‘inconvenient’ and ‘undemocratic’ methods of singling out, or forming, or preserving ‘groups of leaders’ — people lost their heads and began to think up some supernatural nonsense (ibid., p. 29).
The ‘supernatural nonsense’ being the distinction between control by the masses and control by leaders! Lenin even goes so far as to put ‘undemocratic’ in scare quotes. This passage makes it quite clear that Lenin does not see any problem with centralized, dictatorial leadership. It is quite illicit to single out for blame the civil war which followed the Russian Revolution for the dictatorship which arose in Russia when Lenin had no major objections to such a dictatorship in the first place.
Having seen that Lenin was not overly concerned with the question of the exercise of political and ideological power, we are now in a position to see the inadequacy of Lenin’s critique of spontaneity. Lenin correctly saw the need for the masses to be led by theory. He also believed that non-proletarian intellectuals would supply the theory. This might even be so. But because Lenin saw no problem with the centralization of political and ideological power, he was able to obscure the distinction between our two senses of ‘lead’. It is particularly objectionable when equivocations on the term ‘leader’ obscure the profound distinction between those who set an example, those who have innovatory ideas, and those who command. Lenin’s obfuscation prevents him from taking seriously the problems of dictatorial power.
But a further and related obfuscation requires mention. Because the leaders have the theory, Lenin, being both a leader and a theorist, fails to distinguish between ‘following a theorist’ and ‘following a theory’.[96] Many anarchists see the need for the people to be led by ‘theory’. They do not hold, for example, that it is acceptable for the people ‘spontaneously’ to attack Jews because they identify them as the source of the problems in their lives. On the contrary, anarchists see the need for the people to oppose critically the social and political structure which is responsible for their oppression. But they also believe that once they lay hold of such a critical perspective, then they are capable of organizing the struggle themselves. Lenin’s whole approach rests on an elitist attitude towards the proletariat, which he felt needed the nonproletarian intelligentsia to lead it. And the ‘iron discipline’ which he advocated in the party leaves no room for doubt what ‘leadership’ means here.
Lenin equates ‘spontaneity’ with ‘not being guided by theory’. But ‘spontaneity’ might only imply that the masses act autonomously. In other words, ‘spontaneous’ action on the part of the masses could involve action which they instigate and that is in accordance with a theoretical stance which they have assimilated after subjecting it to their own critical appraisal. Such ‘spontaneity’ would be guided by theory. Lenin mistakenly equates ‘spontaneity’ with ‘not being guided by theory’, because he conflates ‘being led by theory’ with ‘being led by the party’. If the potentially revolutionary sectors of society have a trade union consciousness, what they require is a revolutionary consciousness. Only then can they be expected to act successfully in bringing about a society which is under their own control. If the revolutionary means are out of their hands, if they are in the hands of a techno-bureaucratic elite, then such an elite will be in a position to direct to their own benefit not only the course of the revolution, but the future society as well. If the proletariat are to ensure that an elite will not control the future society, they must prevent them from controlling the course of the revolution.
The question of how theory is to be disseminated now becomes crucial. To some extent, and pace Lenin, a critical and theoretical approach may arise in the potentially revolutionary sectors of society in the course of their everyday struggle.[97] However, the failure of many rebellions would indicate that the degree of acceptance of such a theory (or the kind of theory which emerges in the course of such struggle) is inadequate for effective revolutionary change. If, for example, we are right that the workers should remain in control of the revolution, then a theoretical element which they must accept and grasp lucidly is precisely the need to control the revolution themselves, otherwise the future society will not end up in their control. When the workers in Russia rested from their revolutionary activity by allowing Lenin to carry out the revolution for them under the slogan of ‘All power to the soviets’, then the need for constantly keeping in mind such a theoretical element becomes evident. Instead of holding on to the revolutionary power which they were in the process of taking, the workers gave political power to Lenin because he offered to give them power! It is in situations such as these that theory must be held by the potentially revolutionary sectors. But how is such a theory to be given to the workers without the process of their coming to act in accordance with the theory itself being one which makes the workers subordinate?
The most articulate reply to this question has come from Paulo Freire. In his educational practice, Freire found the need to distinguish between two approaches to education: the banking and the problem-posing approaches. The banking approach regards knowledge as being essentially information which is deposited in the pupil by the teacher. The conveying of that information to the pupil sets up power relationships between the teacher and the pupil. The problem-posing approach, on the other hand, attempts to frustrate the growth of such power relationships by allowing the ‘pupil’ to arrive at a grasp of the knowledge through his or her own abilities, and this approach, rather than rendering the pupil subordinate, ‘empowers’ him or her. Freire:
Problem posing education does not and cannot serve the interests of the oppressor. No oppressive order could permit the oppressed to begin to question: Why? While only a revolutionary society can carry out this education in systematic terms, the revolutionary leaders need not take full power before they can employ the method.
In the revolutionary process, the leaders cannot utilise the banking method as an interim measure, justified on grounds of expediency, with the intention of later behaving in a genuinely revolutionary fashion. They must be revolutionary — that is to say, dialogical — from the outset (1972, pp. 58–9).
It is clear that Lenin’s attitude is more consistent with the banking, rather than the problem-posing, approach. In fact, the nature of Marxist theory as a whole with its scientific pretensions is such that Marxists tend to adopt uncritically the banking approach. The very corpus of Marx’s theory invites this.
If one wishes to find references to an approach to the question of the acquisition of theory by the masses which accords with the problem-posing approach, which stresses the need for the masses to act upon a theory which they possess and have scrutinised, which stresses the need for the workers to act without being under the control of an elite group, then it is not to Marxism/Leninism that one should turn, but to anarchism:
The former [the communists] would like to impose science by force; the latter [the revolutionary socialists of which the author considered himself to be a member] would try to propagate it so that human groups, once convinced, would organize and federalize spontaneously, freely, from the bottom up, of their own accord and true to their interests, never following a prearranged plan imposed upon the ‘ignorant’ masses by a few ‘superior’ minds (Bakunin, 1973, p. 263).
But it is not necessary to have a banking conception of theory in order to establish the political basis for the rise of an elite. It is even possible so to conceptualize revolutionary consciousness that the doors are opened to the seizure of political control by an emergent class situated above the workers. To see how this might be so, we now turn to the early work of Lukacs.
4.8 Lukacs and Class Consciousness
Clearly, the question of class consciousness cannot be divorced from epistemological issues. Lukacs faces up to this squarely, and develops his theory from a specific epistemological standpoint. True to Marx, Lukacs is of the view that conceptions of the world are related to class position. Each class position will, according to the theory, generate its own world view and, correlatively, its own ‘knowledge’. This presents us with a sociology of knowledge which appears at first glance to leave us with a relativist account of truth. However, Lukacs wishes to establish that the ‘truths’ of the proletariat are in some way superior to those of the bourgeoisie. How does he propose to achieve this?
Several connected reasons are given for the superiority of proletarian truth-claims (see Craib, 1977). One reason involves Marx’s assertion that the proletariat is the universal class. If knowledge is relative to class position, then it would appear to be subjective. However, the proletariat is supposedly the universal class, hence its subjective knowledge is universal. But a universal subjectivity would have to be regarded as being objective. The universal status of the proletariat establishes a contrast between its standpoint and the purely subjective standpoint of the bourgeoisie. Now, one reason why this might initially seem plausible is that the proletariat is the class which, according to Marx, must abolish class distinctions. If nearly everyone believed the same thing as a result of this ‘universalization’, then what the proletariat believed would clearly be regarded as being true. Two objections immediately arise. First, if everyone believed that the world was flat would this belief be true? Not if we need to subscribe to a correspondence theory of truth. We shall return to this issue later. Second, in Chapter 2 we raised objections to the claim to universality on the part of the proletariat. And if the proletariat is not in fact universal, then the initial premise is missing, and the argument does not even get off the ground.
A more interesting reason offered by Lukacs for the superiority of proletarian knowledge is related to Hegel’s epistemology. Hegel considers the concrete, the most complete and developed knowledge, to be knowledge not of isolated particulars in the world, but of a totality in which individual moments are situated. Lukacs agrees that truth is a complete network of related but distinct concepts, each of which acquiring its full meaning by virtue of the totality to which it is related. The reason why the proletariat finds itself in a privileged epistemological position is that, from its perspective, it is able to see the relations in capitalist society which enable sense to be made of that society. Such relations underlie the social structure, and cannot be read off the surface in an empiricist fashion. By contrast, the bourgeoisie ‘reify’ commodities because they, unlike the proletariat, cannot see that exchange-values embody relations between producers. Hence the proletariat can generate a greater totality of knowledge. But earlier we noted that Lenin was in disagreement with the ‘Lefts’. Given Lukacs’ epistemology, what criteria could be employed to distinguish between these two potentially ‘proletarian’ positions?
A further reason for the alleged superiority of proletarian knowledge is also unmistakably derived from Hegel. The proletariat is a subject which, through the development of capitalism, becomes aware of itself as an object produced by that mode of production. This, Lukacs believes, means that the subject/object dichotomy which has plagued epistemology is overcome. Bourgeois knowledge, on the other hand, is deemed to be confined within the subject/object dichotomy, and hence is incapable of achieving the completeness of knowledge available to the proletariat. But why should seeing oneself as a produced object mean that one must correctly perceive the process whereby one is produced as such an object? The fact that the object is also a subject does not entail that the subject correctly understands its objective nature. That one is both a subject and an object does not overcome the subject/object dichotomy in epistemology.
What might enable the dichotomy to be overcome is the experimenting activity of the subject as a result of which it comes to ascertain its objective nature. Here, in praxis, lies Lukacs’ final attempt to demonstrate the superiority of proletarian knowledge. However, the bourgeoisie is also capable of such activity. Only when one overrates the nature of the proletariat as an object of the historical process does its subjective praxis seem to overcome the subject/object distinction in a way which is unavailable to the bourgeoisie. However, one door does remain open. The superiority of proletarian knowledge can be revealed post festum by its effectivity with regard to historical transformation. It is with this effectivity, therefore, that Lukacs’ epistemological claims stand or fall.
Thus, proletarian knowledge is superior because it is not merely reflective, but based on historical activity in the world, and in tune with the process of change within the historical totality. Theory and action are united in revolutionary praxis. It is, however, difficult not to notice that, despite its supposed unique epistemological position, no significant revolutionary theory has arisen amongst the proletariat. The driving force of Lukacs’ discussion of class consciousness is the need to overcome the problem posed by the lack of revolutionary theory arising amidst the proletariat. We can now turn to that discussion.
Drawing upon Max Weber’s notion of ‘ideal types’, Lukacs relates consciousness not to actual class positions, but to ‘ideal-typical’ ones:
However much detailed researches are able to refine social typologies there will always be a number of clearly distinguished basic types whose characteristics are determined by the types of position available in the process of production. Now class consciousness consists in fact of the appropriate and rational reactions ‘imputed’ [zugerechnet] to a particular typical position in the process of production. This consciousness is, therefore, neither the sum nor the average of what is thought or felt by the single individuals who make up the class. And yet the historically significant actions of the class as a whole are determined in the last resort by this consciousness and not by the thought of the individual — and these actions can be understood only by reference to this consciousness (Lukacs, 1971, p. 51).
However, Lukacs is not content with the collective consciousness which the class is reputed to have. He is interested in the consciousness that it should have:
By relating consciousness to the whole of society it becomes possible to infer the thoughts and feelings which men would have in a particular situation if they were able to assess both it and the interests arising from it in their impact on immediate action and on the whole structure of society. That is to say, it would be possible to infer the thoughts and feelings appropriate to their objective situation (ibid.).
And who should make such inferences about the proletariat? The intellectuals of the party, no less. But why is there a need for the party? Precisely because the historical subject (the proletariat) does not actually possess a revolutionary self-consciousness!
How then does the historical subject/object engage in praxis? Lukacs’ answer is: by means of the party. The historical activity of the proletariat is interpreted by the party theorists. Their theories can be tested by the practice of the proletariat when it is guided by those theories. Thus, theory and practice are united by the subordination of the proletariat to the party. Note that this does not entail the banking conception of knowledge acquisition. Theory is situated in the historical process. It is not a corpus of static empirical facts, because there is a constant revision of the theory as practice in the world by the proletariat necessitates changes in the theory. But this can only be so if the world is intractable. Praxis can only necessitate theoretical revision when the world shows itself to be other than as theorized. Yet this seems to suggest a correspondence and not a coherence theory of truth, because the theory is shown not to correspond to an existing world which is other than theoretically apprehended. But if we need a correspondence theory of truth, then the epistemological foundation of Lukacs’ position collapses, since, being based on assumptions concerning a totality of knowledge, his epistemology implies a coherence theory of truth.
There is, however, a more important and decisive objection which can be levelled against Lukacs. It involves the problem of how to determine what constitutes a class. Consider the following assertion: ‘For a class to be ripe for hegemony means that its interests and consciousness enable it to organize the whole of society in accordance with those interests. The crucial question in every class struggle is this: which class possesses this capacity and this consciousness at the decisive moment?’ (ibid., p. 52). If we have in mind the Russian Revolution, what is the answer? Lukacs obviously believes that it is the proletariat. But what if the answer is the techno-bureaucracy and its leaders residing in the party? Lukacs never considers this possibility. Why does he fail to do so? He writes:
Bourgeoisie and proletariat are the only pure classes in bourgeois society. They are the only classes whose existence and development are entirely dependent on the course taken by the modern evolution of production and only from the vantage point of these classes can a plan for the total organization of society even be imagined (ibid., p. 59).
But this only reveals Lukacs’ myopia. The managerial/technical class is linked to the development of modern production (as was argued in section 2.6). Though the (old) petit bourgeoisie and the peasants may not be based upon the capitalist system, nor tied to its development, this is not true of the rising techno-bureaucracy. Moreover, the theory which the Russian party leaders actually came to espouse was, in effect, a managerial one.[98]
What, then, if the theory residing in the party is not actually proletarian after all? What if it is the theory of an emerging techno-bureaucratic elite wishing to use the proletariat in order to acquire power? Such an elite need not possess evil intentions. They may genuinely believe that their theory is proletarian and that their theory will serve the proletariat. They might believe that the ‘proletarian’ forces of production in the post-revolutionary society will require their organization. The bourgeoisie might very well have believed something similar when they employed the aid of the proletariat in their own revolution. What the suggestion that the theory residing in the party is a techno-bureaucratic one does do is make sense of the lack of ‘scientific’ knowledge amongst the proletariat. It would not be proletarian ‘science’ which the intelligentsia had produced — it would be techno-bureaucratic science. Moreover, it would be a science emerging from its own perspective.
This alternative diagnosis, itself compatible with Lukacs’ sociology of knowledge, reveals the inadequacy of Lukacs’ account. The proletariat have the privileged standpoint, yet they do not produce the knowledge. The intelligentsia produce the knowledge, but in what sense do they have a genuine proletarian standpoint? What they do have is a managerial standpoint, and that might explain why they produce a managerial theory of historical transformation and envisage a future managerial society[99] — a society requiring the co-ordinating skills of the party intelligentsia, and requiring a technical elite to run and design the new technology valued by the party. Though a technological elite may not exist within the revolutionary party, its fortunes ride with the party, which champions the future society in which they will have such a privileged place. Out of the praxis of the party emerges a society dominated by a techno-bureaucratic elite — a society with a class of technologists dominating the workplace and the party intelligentsia delivering the overall plan for the workers to follow. The ‘knowledge’ of the party is historically situated in the present which ‘foresees’ such a future.
Furthermore, the new class reveals post facto the correctness of its ‘science’ when it finds itself in control of the means of production after the revolution (this, according to Lukacs, being one criterion for the superiority of one class’s knowledge vis-à-vis another’s). The ascending class in Russia in the early years of this century would be the techno-bureaucracy, which was not hampered by the limited perspective offered to the bourgeoisie — a limited perspective which left the bourgeoisie
quite unable to perfect its fundamental science, its own science of classes: the reef on which it foundered was its failure to discover even a theoretical solution to the problem of crises. The fact that a scientifically acceptable solution does exist is of no avail. For to accept that solution, even in theory, would be tantamount to observing society from a class standpoint other than that of the bourgeoisie. And no class can do that — unless it is willing to abdicate its power freely. Thus the barrier which converts the class consciousness of the bourgeoisie into ‘false’ consciousness is objective; it is the class situation itself. It is the objective result of the economic set-up, and is neither arbitrary, subjective nor psychological (Lukacs, 1971, pp. 54–5).
But even if this were true, it does not establish that the proletariat must take control. All that is necessary in principle to stop crises is, as we saw in the previous chapter, to end competition — and that can be achieved by a techno-bureaucratic elite which keeps power in its own hands. Such a class would, moreover, have the standpoint which would allow it to see the solution to capitalism’s crises. Thus, its own ‘science’, and not just that of the proletariat (which could instead solve the problem by ‘federal planning’), would fit the historical criterion of a ‘truer’ knowledge to that of the bourgeoisie.
If we adopt our alternative application of Lukacs’ sociology of knowledge, it becomes clear why Marxism/Leninism is unable to accommodate this problem: Having the standpoint of the technobureaucracy it is unable to theorize a social solution which would mean the abandonment of techno-bureaucratic power. Consequently, it presents itself as the proletarian party. It claims that its interests and those of the proletariat are identical. And it is this inability to separate the party from the proletariat (an inability revealed not only here in Lukacs but also, as we have seen, in Lenin) which prevents Marxists from seeing the party intelligentsia as being a newly emerging class with its own position and ideology. Furthermore, in so far as this new class of intellectuals leads the party and through it the proletariat, the party and the led proletarians use the ‘science’ of this new class, and not the science of the proletariat. If Marx cannot adequately theorize such a new class (constituted politically), yet such a grouping forms a new exploiting class after the revolution, then an alternative conception of ‘class’ is essential if the radical Left is to be in a position to employ a conceptual tool which enlightens, rather than obscures, historical trends.
4.9 Concluding Remarks
Marx’s analyses tend at times to suggest a binary conception of ‘class’ in which the bourgeoisie owns the means of production and hires workers which it exploits. But not all those who sell their labour produce a surplus-product, nor are they likely to side with those who do in the class struggle, which Marx considered to be political and not merely economic. Clearly, criteria other than an economic one concerning the production of surplus-value are required if political alliances are to be developed for the sake of united struggle: ‘class struggle’ cannot be understood in a binary economic manner.[100] Those engaged in revolutionary struggle in the capitalist mode of production against the bourgeoisie are neither all those who sell their labour (for example, some managers of large firms may be expected to side with the bourgoisie), nor just those who produce a surplus-product. This would not be a problem were present-day capitalist society tending towards a division into those who produce a surplus-product and those who own sufficient means of production to exploit others. However, if anything, the tendency is for more and more people to move into the middle ground between these two positions, and for the traditional industrial proletariat to decline numerically. Marx’s lack of discussion of the middle class is, consequently, a considerable hiatus in his theory, especially when such a middle class may well be on the road to becoming the next dominant economic class, if it has not become so already in some societies. Moreover, the rapid recent decline in numbers of the traditional working class in the developed capitalist countries demands that an alternative revolutionary engine to the industrial proletariat be discovered.
It is in more recent Marxist writings, particularly by Poulantzas’, where a theory of the middle class is to be found. Here, it has been necessary to isolate criteria other than economic ones in order to account for the middle class and its relation to class struggle. This necessity was even found to arise when we examined Roemer’s attempt to offer a game-theoretical approach to class theory. These criteria are indicated by observing that levels other than the economic (namely, the political and the ideological) exert considerable influence on the structure of society and on the course of historical transformation. Hence, they are in a sense ‘material’ factors in so far as they are located in material practices. We have argued that this implies that inequality can exist on levels other than the economic. Thus, a change in the effective control of the means of production (e.g. the bourgeoisie being replaced by the party) would be unlikely to eliminate exploitation were domination and subordination to continue at the political and ideological levels.
We therefore see the necessity of employing Poulantzas’ noneconomic criteria if the term ‘class’ is to aid us in identifying the groups capable of becoming socially dominant. However, Poulantzas’ approach to ‘class’ does not indicate how the term is to be employed in pre- or post-capitalist societies. A more adequate conception of ‘class’ could be derived by using the extended notion of ‘class’ which is suggested by our earlier claim that Roemer’s conception of the term can encompass non-economic groupings by interpreting ‘property’ other than just economically. If we were to employ such an extended version of Roemer’s general theory of ‘class’, then the central question would be: What ‘property’ should we be concerned with in the transition from the capitalist to the post-capitalist modes of production in order to isolate the historically relevant classes? Our discussion of Poulantzas answers this question. The historically relevant classes at present are the one which ‘owns’ capital and with it the ability to extract another’s surplus-product (the bourgeoisie), and the one which ‘owns’ supervisory positions and privileged knowledge (the technobureaucracy) . The next struggle could well be between them for the right to exploit the dispossessed.
We have also seen that Marxist/Leninist conceptions of revolutionary organization maintain political and ideological domination by retaining supervisory roles and notions of privileged access to knowledge. We have further seen that the term ‘class consciousness’ is employed to facilitate such domination over the workers. It is not what the workers think, but what the party leaders think they ought to think that constitutes the revolutionary consciousness imputed to the workers. This exposé of political and ideological domination enables us to explain why the Soviet Union has a class system today. It is due not to any Stalinist deviation, but to the class structure in Leninist revolutionary praxis, which is carried forward to post-revolutionary institutions.[101]
This conclusion is of immense importance. We are not fundamentally concerned with apportioning blame for the disastrous course taken by the Russian Revolution. We, as radicals, are concerned with developing an adequate theory which will prevent history repeating itself in fresh tragedy. We are concerned with exposing the revolutionary blindspots generated by an inadequate theory — blindspots which prevent us from seeing which pitfalls on the revolutionary road are to be avoided. That is why isolating the causes of the Russian problem is so important. If the wrong theory is proposed, then the mistakes may be repeated. We have argued that the problem is to be found in Marxist/Leninist revolutionary praxis itself. In particular, the problem is to be located in the political and ideological inequalities within Marxist revolutionary institutions and practices such as the party.[102] These inequalities are obscured because of the central role usually given to economic considerations in the Marxist categorization of class. This prevents Marxists from seeing the class structure in their own party.
The radical who really seeks to liberate or aid the liberation of the workers must, therefore, be aware of the rising class of leaders residing in Marxist parties. And to do so he or she requires a conception of ‘class’ (such as our extended version of Roemer’s) which does not dull such awareness. Why, though, has Marxist theory tended to dull such awareness? The reason is that it has failed to make any significant distinctions within what it takes to be the class with the historical mission of overthrowing capitalist society. By viewing the proletariat as an undifferentiated unity, Marx fails to perceive the possibility that a relatively privileged stratum could emerge from out of those who hire out their labour-power — namely, a techno-bureaucracy. And the reason Marx regarded the proletariat as a unity is because he uncritically took on board Hegel’s notion of the universal class, and merely altered the referent of the concept.
However, to understand further why it is that Marxists have never taken seriously the problems of political power within the revolutionary process, and have therefore demoted political and ideological considerations below economic ones in their delimitation of ‘class’, it is necessary to examine not merely the Marxist treatment of ‘class’ and ‘class struggle’, but also Marx’s analysis of the state and political power.
Politics: 5. The State and Society
The question of how the state is to be correctly depicted (and, correlatively, how political power is to be adequately theorized) is one of the most important questions for radical social and political philosophy. This is because the way in which this question is answered by and large determines both social and political goals, as well as the revolutionary or reformist strategy necessary to achieve those goals. If the nature of the state and political power is misunderstood, then disastrous results can be expected to follow the implementation of any strategy suggested by that misunderstanding. If the state is analysed incorrectly, then serious problems may emerge with regard to providing a satisfactory answer to whether the state is to be ‘captured’ or ‘smashed’, and if it is necessary to ‘smash’ it, the way in which it is to be ‘smashed’. If it is decided to ‘smash’ the state only partly, a deficient theory of the state will fail to depict accurately the nature of the residual political power in a postrevolutionary society.
We are inclined to believe that the ultimately disastrous course taken by the Russian Revolution can primarily be attributed not to the backward economic conditions in Russia at the time, nor to a prolonged war with counter-revolutionaries and interventionists, but to the acceptance of a revolutionary programme sanctioned by Marx’s theory of the state — a theory we take to be highly deficient. We therefore agree with Ralph Miliband that ‘the exercise of socialist power remains the Achilles’ heel of Marxism’ (1970, p. 309). What, then, is Marx’s theory of the state?
Unfortunately, we confront an immediate difficulty not unlike the one encountered in the previous chapter: at no point does Marx present a complete theory of the state.[103] In a letter to Engels he indicated his intention to undertake a massive project consisting of six books which were to be on capital, landed property, wage labour, the state, international trade and the world market. As this project was never completed, we have to construct Marx’s theory of the state from various comments scattered throughout his theoretical work and his historical writings. We must, therefore, be left in some doubt as to whether there are further elements which should be added to this theory, and which would have become apparent had he come to devote a specific book to the subject of the state. However, in the Gundrisse, Marx briefly outlines what he had intended to discuss in this section of his projected magnum opus. Here he mentions: ‘Concentration ofbourgeois society in the form of the state. Viewed in relation to itself. The “unproductive” classes. Taxes. State debt. Public credit. The population. The colonies. Emigration’ (G, p. 108). There is nothing in these rubrics to suggest that Marx had intended to provide a substantially different analysis of the state to that which can be derived from his completed writings. And one thing is clear: economic concerns were to play a major role in his proposed discussion of the state.
Marx and Engels make their most famous pronouncement on the state in The Communist Manifesto: ‘...the bourgeoisie has at last, since the establishment of Modern Industry and of the world market, conquered for itself, in the modern representative State, exclusive political sway. The executive of the modern State is but a committee for managing the common affairs of the whole bourgeoisie’ (MCP, p. 82). This statement stands in contrast with Marx’s later remark concerning Louis Bonaparte’s regime in France: Tn reality, it was the only form of government possible at a time when the bourgeoisie had already lost, and the working class had not yet acquired, the faculty of ruling the nation’ (CWF, p. 208). This suggests that it is possible for the state to exert at least some autonomy vis-à-vis the dominant economic class. One possible interpretation is that the state ordinarily serves to protect the interests of the dominant economic class, but when economic classes are balanced so as to produce a vacuum of dominance, then the state is in a position to behave as a power unto itself (see Engels, 1970f, p. 578). Louis Bonaparte’s state would be the paradigm case.
What is important is that the possibility of independent state power suggests a view of the state not tied to a dominant economic group: ‘This secondary view is that of the state as independent from and superior to ail social classes, as being the dominant force in society rather than the instrument of a dominant class’ (Miliband, 1965, p. 283). How seriously, then, must one regard the ‘autonomy’ of the state? And in particular, how separate is political power from the economy? These are vital questions. If political power is an epiphenomenon of the economy, then there are limitations on one’s ability to employ political power in order to change that economy. If, on the other hand, political power is quite independent of the economic structure of society and is, consequently, a substantive and independent power, then it is extremely dangerous to strengthen such a power above society in the hope that it will effect a salutary transformation of the economic structure. Moreover, if the political sphere is independent, then can a revolutionary be satisfied with merely altering the economic sphere, especially by strengthening the state? Eliminating economic oppression alone would not be a universal panacea when political oppression remains as a potentially distinct feature of society. What, then, does Marx take to be the relationship between the state and society? In order to answer this, we shall have to examine his early texts, for it is there that Marx devotes a considerable discussion to the state — a discussion which sets the stage for much of his later attitude to it.
5.1 Hegel’s Influence on Marx’s Theory of the State
Much of Marx’s early work was concerned with countering certain features of Hegel’s philosophy while at the same time accepting others. This holds true for his attitude to the relationship between the state and civil society as it is portrayed by Hegel. In his Philosophy of Right, Hegel claimed that ethical mind progressed from the family through civil society to the state (see 1967, p. 110). For Hegel, ‘the State is the actuality of the ethical Idea’ (ibid., p. 155). Conflicting interests in civil society divide people. It is through their unity in the state, which is the area where public interest is pursued, that their private inclinations are mediated. But Marx does not accept the efficacy of the institutions which Hegel advances as a means to the overcoming of disharmony in civil society. However,
even while criticizing Hegel’s institutional conclusions, Marx remains within the general framework of Hegel’s doctrine. In fact, he formulates the basic features of his own social and political theory through a systematic rejection of the agencies for social-political unity offered by Hegel. For Hegel’s bureaucracy he eventually substitutes the proletariat as universal class; in place of landed property under primogeniture he advocates the abolition of private property; and he demands in place of the Assembly of Estates the institution of universal suffrage as the medium par excellence for the abolition (Aufliebung) of the state-civil society duality (Joseph O’Malley, intro, to Marx, 1977a, p. li).
As a result, Marx’s political solution is very much determined by the problem as it is posed by Hegel.
For Hegel, the way to overcome the fission of society into distinct persons with private rights is to unite them in the state. For Marx, the answer is to transform radically the nature of civil society. Private property has split society into discrete persons. To heal such a split a change is required in the economic basis of society. But the state owes its existence to this division in society, and so the abrogation of property rights seals the fate of the state. This is the economic basis of Marx’s theory of the state. Since Marx agrees with Hegel that the state exists in order to resolve the antagonisms of civil society, he takes it for granted that if the economic structure of society is altered in a certain manner (civil society being the arena of economic intercourse), then the state becomes redundant. The nature of the state is thought to be due to the nature of civil society — that area of antagonism which it serves to mediate — and so it is easy to consider the state as merely reflecting civil society. It requires little further effort to regard the state as being the product of civil society, as being determined by it. But does Marx consider the state to be merely an epiphenomenon of civil society? We shall have to attend to his own words.
Marx points out that ‘it is only.. .above the particular elements, that the state constitutes itself as universality’ (JQ, p. 220). He adds that ’man [egoistic man], the member of civil society, is now the foundation, the presupposition of the political state. In the rights of man the state acknowledges him as such’ (JQ, p. 233). And he makes the further claim that
the right of man to freedom is not based on the association of man with man but rather on the separation of man from man. It is the right of this separation, the right of the restricted individual, restricted to himself.
The practical application of the right of man to freedom is the right of man to private properiy (JQ, p. 229).
But one could not justifiably claim that individuals should be allowed no freedom from other individuals merely because the freedom which the modern state espouses is that of the private property-holder. To do so would be to leave open the door for the most oppressive social order — at the very least, the tyranny of the majority would be an ever present threat. It is, moreover, not only rights in private alienable property which create an artificial separation of individuals. Gender, race, religion, status can all be used to divide humanity, and such distinctions are overlooked in an analysis which focuses exclusively on the economic structure of society. When other factors can lead to individuals being separated from each other, merely abrogating property rights is insufficient for human unity — especially when the abrogation of private property is so achieved as to create or consolidate such other factors in the process. This, of course, is something which may happen when the state is expanded in order to employ it to redistribute wealth, because the state itself encompasses status positions.
Nevertheless, the economic structure of society is clearly responsible for certain social divisions which the state claims to transcend. From this Marx proceeds to argue that
the perfected political state is by its nature the species-life of man in opposition to his material life. All the presuppositions of this egoistic life continue to exist outside the sphere of the state in civil society, but as qualities of civil society. Where the political state has attained its full degree of development man leads a double life, a life in heaven and a life on earth, not only in his mind, in his consciousness, but in reality. He lives in the political community, where he regards himself as a communal being, and in civil society, where he is active as a private individual, regards other men as means, debases himself and becomes a plaything of alien powers. The relationship of the political state to civil society is just as spiritual as the relationship of heaven to earth. The state stands in the same opposition to civil society and overcomes it in the same way as religion overcomes the restrictions of the profane world, i.e., it has to acknowledge it again, reinstate it and allow itself to be dominated by it. Man in his immediate reality, in civil society, is a profane being. Here, where he regards himself and is regarded by others as a real individual, he is an illusory phenomenon. In the state, on the other hand, where he is considered to be a species-being, he is the imaginary member of a fictitious sovereignty, he is divested of his real individual life and filled with an unreal universality (JQ, p. 220).
And he later remarks:
The members of the political state are religious because of the dualism between individual life and species-life, between the life of civil society and political life. They are religious as man considers political life, which is far removed from his actual individuality, to be his true life and inasmuch as religion is here the spirit of civil society and the expression of the separation and distance of man from man (JQ, p. 225).
So, if one is to understand Marx’s attitude to the state, one must bear in mind his attitude to religion. Hence, the key to a comprehension of Marx’s theory of the state is to be found in his development of Feuerbach’s critique of religion. What Marx does is to transpose that modified critique so as to apply it to the Hegelian analysis of the state — a procedure necessitated by Marx’s fundamental disagreement with Hegel’s attempt to remedy the conflict in civil society. The key to Marx’s attitude to the state is his highly condensed discussion of religion in the fourth of his ‘Theses on Feuerbach’:
Feuerbach starts out from the fact of religious self-alienation, the duplication of the world into a religious, imaginary world and a real one. His work consists in the dissolution of the religious world into its secular basis. He overlooks the fact that after completing this work, the chief thing still remains to be done. For the fact that the secular foundation detaches itself from itself and establishes itself in the clouds as an independent realm is really only to be explained by the selfcleavage and self-contradictoriness of this secular basis. The latter must itself, therefore, first be understood in its contradiction and then, by the removal of the contradiction, revolutionized in practice. Thus, for instance, once the earthly family is discovered to be the secret of the holy family, the former must then be criticized in theory and revolutionized in practice (1970c, p. 29).
Translated into a critique of the state, this means that just as Christianity (or certain aspects of it) will be abandoned only if a transformation of that social arrangement called the family takes place, the political state, likewise, will be a thing of the past only when the antagonisms of civil society are resolved. Furthermore, the state would have no life of its own independent of the economic structure which is considered to presuppose and give rise to that state.
5.2 Some Objections to Marx’s Theory
Is this attitude to the state acceptable? Surely it is as unacceptable as the analysis of religion is. If someone has a wild belief, then something in the world may well have given rise to it. But the rejection of that belief does not necessarily require a change in the structure of the world which gave rise to it. Nor is it clear that religion can be made to evaporate merely by attacking its worldly basis. To take Marx’s instance — the institution of the family — that several communistic sects remained Christian suggests otherwise. And even if a critique such as Feuerbach’s, which applies to a nebulous entity such as God, might be applicable to something as ethereal as a national Geist (and, hence, a Feuerbachian critique of the Hegelian state as an ethical object is quite possible), is it safe to apply such a critique mutatis mutandis to anything as substantive as an actual nation-state with its concrete institutions? To constitutional ideology, perhaps, but to the state itself?
It is, in any case, unclear that political power is due solely to antagonistic economic relations. Conquest indicates that states can have at their disposal a great deal of physical power — more power, we suspect, than Marx’s analysis is able to admit. Can the power of conquerors over the conquered be readily assimilated by a Marxist analysis of the state? Surely, conquerors do hold political power, and so that power would have to be explicable in terms of the Marxist thesis which ties all political power to economic relations. Harold Barclay cites anthropological evidence to controvert such a thesis:
In Marxist theory power derives primarily, if not exclusively, from control of the means of production and distribution of wealth, that is, from economic factors. Yet, it is evident that power derived from knowledge — and usually ‘religious’ style knowledge — is often highly significant, at least in the social dynamics of small societies. The Australian [aboriginal] leader derives his power by his control of esoteric ceremonial knowledge, the Eskimo shaman by his control of curing techniques and the manipulation of the dark arts. The Nuer leopard skin chief has the power of the cure as do the elders and rainmakers among the Lugbara. The foundation and legitimacy of the Anuak chief s role is in its ritual and supernatural significance. Economic factors are hardly the only source of power. Indeed, we see this in modern society as well, where the capitalist owner does not wield total power. Rather technicians and other specialists command it as well, not because of their economic wealth, but because of their knowledge (1982, p. 124).[104]
However, were Marx right to view political power as a manifestation of economic power, what exactly would be the solution to social antagonisms? Feudal society gave way to capitalist society, and this involved a change in political as well as economic relationships. Political power was no longer tied to feudal rights. Consequently, a degree of political emancipation occurred. But, for Marx, political emancipation is insufficient:
Political emancipation is the reduction of man on the one hand to the member of civil society, the egoistic, independent individual, and on the other hand to the citizen, the moral person.
Only when real, individual man resumes the abstract citizen into himself and as an individual man has become a species-being in his empirical life, his individual work and his individual relationships, only when man has recognized and organized his forces propre [own forces] as social forces so that social force is no longer separated from him in the form of political force, only then will human emancipation be completed (JQ, p. 234).
In other words, it is human emancipation which Marx seeks. However, political emancipation is the first stage, and Marx considers that it follows as a matter of course from capitalist development. Capitalism is based upon formal rights which give rise to a society of free property-owners related by the market. For capitalism to be consistent with itself everyone must have rights, and this eventually entails the implementation of universal suffrage. But, Marx asks rhetorically, ‘is not private property abolished in an ideal sense when the propertyless come to legislate for the propertied? The property qualification is the last political form to recognize private property’ (JQ, p. 219). But it must be pointed out that, unfortunately, this would not be so if private property were perceived by all to be legitimate. Universal suffrage does not lead to the abolition of private property when property is sanctified by a politico-ideological substructure.
However, although abolition of the property qualification for voting does not of itself entail the abolition of private property, the maintenance of the property qualification is unlikely to allow the right to private property to be abrogated. If only those who hold a significant amount of property can vote, it would seem a fair guess that those whom they vote into power will be unlikely to damage the interests of the holders of substantial private property. Nineteenth-century Europe (universal suffrage being an extremely modern phenomenon) would seem to provide an example of those elected to power protecting the interests of the propertied class. To the extent that the state plays some role in maintaining civil society, an onslaught on that state would be necessary in order to realize any significant transformation of civil society. Marx, however, has one particular response to this problem. Paul Thomas, quoting Marx, explains:
‘National means,’ Marx argued — fatefully, as it turned out — are necessary to develop co-operative labour to national dimensions; and because ‘the lords of the land and the lords of capital will always use their political privileges for the defence and perpetuation of their economical monopolies.... [To] conquer political power has therefore become the great duty of the working class’ (1980, p. 262).
However, this is not the only conclusion which could be drawn. One could, instead, conclude that it is necessary, not to capture political power, but to dissipate it — to render the powerful impotent by removing the substructural basis of their power. For example, to the extent that power arises due to everyone’s behaviour maintaining a situational logic, non-co-operation with the powerful, when generalized, can dissolve their power. This alternative approach (often ignored by Marxists partly because they lack the conception of a politico-ideological substructure) occupies, interestingly, a central role in the political theories of both anarchism and pacifism.[105]
But Marx’s reference to political power presupposes something which goes further than any analogy of the state with religion would allow. The state actually exerts a coercive force which an imaginary God does not possess. Nevertheless, as Shlomo Avineri makes clear, ‘Marx never loses sight of this coercive element in all political institutions, but his argument implies that this element derives from circumstances which made the historical state dependent upon civil society. Once this dependence upon civil society disappears with civil society itself, coercion will automatically disappear as well’ (1968, p. 207). But if the state has coercive means, and these can be applied to those who constitute civil society, in what way is the state actually dependent upon civil society? Hegel’s analysis of the relationship of the state to civil society considers the state to be the result of the nature of civil society. But his analysis focuses on, and (as we are about to see) is only really convincing when it limits itself to, the ethical status of the political realm. It would be exceedingly hasty to assume that such an analysis explains the ontological status of that realm, especially when one is not an idealist but, like Marx, a materialist.
Hegel points out that self-subsistent individuals are associated through the state. But it is obvious that self-subsistent individuals do not require a state in order to live securely. The existence of acephalous societies attests to this fact (see Middleton and Tait, 1970; also Taylor, 1982). Communities similarly exist side by side in peace without a higher order state to relate them together. They exchange goods in a peaceful manner without any external state being required in order for such exchange to take place. The international nature of capitalism proves the point. Now, it may be the case that common presuppositions concerning property, etc. must necessarily be shared for exchange to take place; but that is quite a different matter from claiming that a state above those wishing to enter into an economic relationship must exist if such an economic relationship is to arise. The economic needs of selfsubsistent individuals do not on their own, therefore, explain how the modern state is brought into being.
However, individuals may well exchange in a manner laid down by the legal system of the state which they belong to. In such a case, the state could be considered, as it is by Hegel, to constitute the ethical realm in which self-subsistent individuals associate. But this is a grounding of the ethical and not the ontological status of the state. We are without any convincing ontological grounding of the state in the individualism of capitalist society and the corresponding division between people. And without any proof of the ontology of the state resting on an ethical (rather than a material) support, a claim that the state can only rightfitlly exist if there are divisions in society does not force us to conclude that the state can only exist if there are such divisions. That the ethical justification of the state depends upon a particular divided form of civil society tells us nothing about whether or not the physical power of the state also depends upon that particular form.
We thus require an answer to the question: How is the power of the state dependent upon civil society? Now, Marx goes on to argue that the state represents a particular economic class. Could it be that the answer to our question lies here — that by representing an economic class, the state is able to exert power, and so its power would therefore in some way reflect the (economic) class structure of society?
5.3 State and Class
One question which immediately arises is: Why is it that the state represents the interests of only one economic class? Miliband provides a possible answer. But, in order to appreciate it fully, it is necessary to understand how he conceptualizes the state:
There is one preliminary problem about the state which is very seldom considered, yet which requires attention if the discussion of its nature and role is to be properly focused. This is the fact that ‘the state’ is not a thing, that it does not, as such, exist. What ‘the state’ stands for is a number of particular institutions which, together, constitute its reality, and which interact as parts of what may be called the state system (1973, p. 46).
It is important that this be born in mind, since
the treatment of one part of the state — usually the government — as the state itself introduces a major element of confusion in the discussion of the nature and incidence of state power; and that confusion can have large political consequences. Thus, if it is believed that the government is in fact the state, it may also be believed that the assumption of governmental power is equivalent to the acquisition of state power. Such a belief, resting as it does on vast assumptions about the nature of state power, is fraught with great risks and disappointments. To understand the nature of state power, it is necessary first of all to distinguish, and then to relate, the various elements which make up the state system (ibid.).
Moreover, we might point out, if it is believed that the government is in fact the state, it may be believed that the transformation of the nature of the institution of government is equivalent to the transformation of state power. And that too can have large political consequences.
However, it is the institutions that comprise the state (Miliband lists the government, the administration, the military and the police, the judicial branch, sub-central government and parliamentary assemblies) ‘in which “state power” lies, and it is through them that this power is wielded in its different manifestations by the people who occupy the leading positions in each of these institutions’ (ibid., p. 50). It is immediately evident that, under such an analysis of the state, the isolation of the characteristics of those individuals who occupy leading positions in the ‘state system’ might be extremely important. What Miliband claims is that most of those who occupy the leading positions in the state institutions in present-day capitalist society are of the same class origins as those who wield economic power. It is hardly surprising, therefore, that with the same class origins and, as is thus likely, the same class affiliations, the leaders of the state represent the interests of capital.
Now, this would be unproblematic when the property qualification prevailed, but what about the case where suffrage is universal? Not every individual who occupies a leading position in the state is from a bourgeois background. What of those who rise to leading positions from a lower-class origin? Why should such individuals represent the interests of capital? Miliband replies:
It is undoubtedly true that a process of social dilution has occurred in the state service, and has brought people born in the working classes, and even more commonly in the lower-middle classes, into elite positions inside the state system. But to speak of ‘democratization’ in this connection is somewhat misleading. What is involved here is rather a process of ‘bourgeoisification’ of the most able and thrusting recruits from the subordinate classes. As these recruits rise in the state hierarchy, so do they become part, in every significant sense, of the social classes to which their position, income and status gives them access (ibid., pp. 59–60).
But this now begins to look less like an analysis of class origins and more like an acknowledgement of certain structural features of a society which affect the behaviour of individuals enmeshed in its institutions. What needs to be kept in sight is the fact that such structural influences might weigh not only on the individuals within capitalist state institutions, but also on those who occupy positions in institutions which are located in a different social formation. Although a non-capitalist social formation would not offer ‘bourgeois’ satisfactions as such, the holders of privileged positions in its institutions might be linked to a dominant economic class because of special enjoyments associated with those positions. This could lead to a unitary elite irrespective of the mode of production. What would be consequential would be, not the particular mode of production, but the institutional forms in differing modes of production which shared features conducive to the growth of elitism.
Miliband’s analysis of capitalist society prima facie suggests that the common class affiliation of the owners of capital and the leaders of the state institutions is what dictates an immediate concern with the protection of the interests of the bourgeoisie. This has led to a famous debate between Miliband and Poulantzas, who takes issue with Miliband for two reasons: (1) because he sees the state as being such that it would protect the interests of the dominant economic class even if a class identity between the owners of capital and the leaders of the state did not obtain; and (2) because the state adopts policies which are not in the immediate interest of the dominant economic class, and this indicates a far greater degree of independence of the state from the dominant economic class than Miliband’s thesis of class identity would appear to allow. Poulantzas argues that the state continues to protect the interests of the dominant economic class because the state serves to maintain the prevailing mode of production. Hence, the capitalist state protects the interests of the bourgeoisie.
In his ‘Problem of the Capitalist State’, Poulantzas argues that Miliband
sometimes allows himself to be unduly influenced by the methodological principles of the adversary. How is this manifested? Very briefly, I would say that it is visible in the difficulties that Miliband has in comprehending social classes and the State as objective structures, and their relations are as an objective system of regular connections, a structure and a system whose agents, ‘men’, are in the words of Marx, ‘bearers’ of it — träger. Miliband constantly gives the impression that for him social classes or ‘groups’ are in some way reducible to inter-personal relations, that the State is reducible to inter-personal relations of the members of the diverse ‘groups’ that constitute the State apparatus, and finally that the relation between social classes and the State is itself reducible to inter-personal relations of ‘individuals’ composing the State apparatus (1972, p. 242).
Poulantzas vehemently objects to such an analysis:
According to this problematic (wrong), the agents of a social formation, ‘men’, are not considered as the ‘bearers’ of objective instances (as they are for Marx), but as the genetic principle of the levels of the social whole. This is a problematic of social actors, of individuals as the origin of social action: sociological research thus leads finally, not to the study of the objective co-ordinates that determine the distribution of agents into social classes and the contradictions between these classes, but to the search for finalist explanations founded on the motivations of conduct of the individual actors (ibid.).
In contrast to Miliband’s approach, Poulantzas focuses not upon the social actors, but upon the location of the political instance within the social formation as a total structure. For Poulantzas,
the relation between the bourgeois class and the State is an objective relation. This means that if the function of the State in a determinate social formation and the interests of the dominant class in this formation coincide, it is by reason of the system itself: the direct participation of members of the ruling class in the State apparatus is not the cause but the effect, and moreover a chance and contingent one, of this objective coincidence (ibid., p. 245).
When it is perceived that the state serves to preserve the interests of the dominant economic class as a matter of course, then the actual class origins of the wielders of state power are irrelevant. In fact, Poulantzas goes so far as to argue, the interests of the dominant economic class can occasionally be even better served when the leaders of the state institutions are not from the same class background (see 1979, passim).
But a possible counter-example to the Marxist claim that the state always represents an economic class is the ‘autonomy’ of the Bonapartist state. Marx himself appears at first to consider the Bonapartist state as representing, not a class, but one man — Louis Bonaparte :
France... seems to have escaped the despotism of a class only to fall back beneath the despotism of an individual, and indeed beneath the authority of an individual without authority. The struggle seems to have reached the compromise that all classes fall on their knees, equally mute and equally impotent, before the rifle butt (18B, p. 236).
Here, the state appears to experience a genuine autonomy vis-à-vis the economy, and this would appear to rest on its coercive nature. However, Marx writes: ‘Only under the second Bonaparte does the state seem to have attained a completely autonomous position...’ (emphasis added; 18B, p. 238). He continues: ‘But the state power does not hover in mid-air. Bonaparte represents a class, indeed he represents the most numerous class of French society, the smallpeasant proprietors’ (ibid.).
Marx, in defence of his thesis concerning the relation of the state to the (economic) class structure of society, thus insists that even such an apparently autonomous state as Bonaparte’s rests upon a particular economic class. In response to this we must point out that, while the ‘small-peasant proprietors’ may well have elected Bonaparte to power, it does not follow that it is at their behest that he continued to hold power. Through this and parallel errors Marxist theory may overlook the possibility that the state is in fact more substantial than it allows.
This brings us to the question of the exact nature of the ‘relative autonomy’ of the state. Marx argues that the Bonapartist state, instead of serving the interests of the peasants (which he claimed it ‘represented’), actually served the interests of the bourgeoisie, who were not capable of managing the state themselves. That Bonaparte was able to serve the interests of an economic class other than the one he ‘represented’ suggests that the state can, at least in certain circumstances, behave independently of its ostensible class base. Moreover, why should Bonaparte serve the interests of the bourgeoisie if they did not put him into power? A satisfactory answer to this question would surely suggest that Bonaparte’s power did not in fact rest on the peasantry.
Marx’s argument seems to rely on an equivocation involving the word ‘represents’. One sense of the word suggests that the way in which Bonaparte represented the peasants was by presenting their case; and we might possibly assume that this gave him power since by doing so he was backed by the peasants. The other sense suggests that the representation was merely nominal, and no substantive support from the peasants can be assumed to follow. But, as Miliband remarks,
‘represents’ is here a confusing word. In the context, the only meaning that may be attached to it is that the small-holding peasants hoped to have their interests represented by Louis Bonaparte. But this does not turn Inuis Bonaparte or the state into the mere instrument of their will; at the most, it may limit the executive’s freedom of action somewhat (1965, p. 284).
This seems to allow Marx the best of both worlds. Bonaparte can rely on the support of the peasants, but he does not have to pursue their interests. Such an interpretation of what Marx meant by ‘Bonaparte represents a class..., the small-peasant proprietors’ appears to explain how it is that Bonaparte held power (the peasants, hoping to have their interests represented, backed him up), yet did not actually serve the interests of the peasants. And as Bonaparte thus ‘represents’ the most numerous economic class— the peasantry — his power looks to be assured.
However, after discussing this ‘representation’ in ‘The Eighteenth Brumaire’, Marx proceeds to acknowledge the fact that many peasants had been revolutionary. Either it is the case that only some peasants are conservative or, alternatively, it is only their conservative side which Bonaparte ‘represents’. But Marx also acknowledges that peasants rebelled against Louis Bonaparte after he came to power.[106] This undermines the attempt to defend Marx’s analysis of the ‘exceptional’ state. His account of the basis of Bonaparte’s retention of power is now noticeably inadequate. Marx appears to offer an explanation of this power: Bonaparte’s power supposedly rests on the peasantry. But the later opposition of at least some of the peasantry shows that this explanation is not wholly satisfactory. The vitality of state power is attenuated in theory and the actual basis of state power is overlooked because it is assumed that it is always conjoined to the power of a class in civil society. The power of the state appears to be subordinate to civil society, because of the loose use of the term ‘represents’ and the obfuscation of the two quite distinct questions ‘How does someone acquire state power?’ and ‘What makes that power effective?’
So, what is the explanation of Marx’s inadequate treatment of the phenomenon of Bonapartism? It is our contention that Marx has been led by his Feuerbachian transformation of the Hegelian conception of the state to search for a form of representation which would tie the state to civil society and make it a reflection of it. By doing so, he failed to acknowledge fully that the representation of a class in civil society by Bonaparte has changed from being substantive to being merely formal. In consequence, he failed to perceive the actual degree of independent power which the state possesses.
However, Marx does observe that the state has grown to significant proportions and has done so across major social transformations:
The task of the first French revolution was to destroy all separate local, territorial, urban and provincial powers in order to create the civil unity of the nation. It had to carry further the centralization that the absolute monarchy had begun, but at the same time it had to develop the extent, the attributes and the number of underlings of the governmental power. Napoleon perfected this state machinery. The legitimist and July monarchies only added a greater division of labour, which grew in proportion to the creation of new interest groups, and therefore new material for state administration, by the division of labour within bourgeois society. Every common interest was immediately detached from society, opposed to it as a higher, general interest, torn away from the self-activity of the individual members of society and made a subject for governmental activity, whether it was a bridge, a schoolhouse, the communal property of a village community, or the railways, the national wealth and the national university of France. Finally, the parliamentary republic was compelled in its struggle against the revolution to strengthen by means of repressive measures the resources and centralization of governmental power. All political upheavals perfected this machine instead of smashing it. The parties that strove in turn for mastery regarded possession of this immense state edifice as the main booty for the victor (18B, pp. 237–8).
But if one recalls Miliband’s claim that the state is a system of institutions, and his warning against identifying the state with one of those institutions, namely the government, questions immediately arise concerning what it is that must be smashed. Since Marx insists that central administrative functions will remain after the revolution, one might suspect that Marx has reduced the problem of the state to that of the government. The machine which he observes previous revolutions to have perfected, rather than having smashed, is the form of government (along with its coercive apparatuses) which is taken to be the promoter of bourgeois interests. This identification may lead one to overlook certain difficulties concerning any ‘transitional’ state which may be thought a requisite following the next major social transformation.
It may also allow some sense to be made of those who argue that the state must be smashed and yet a transitional state is required by the revolution. For, as Miliband comments on Marx’s remark about smashing the state,
the obvious and crucial question which this raises is what kind of postrevolutionary state is to succeed the smashed bourgeois state. For it is of course one of the basic tenets of Marxism, and one of its basic differences with anarchism, that while the proletarian revolution must smash the old state, it does not abolish the state itself: a state remains in being, and even endures for a long time to come, even though it begins immediately to ‘wither away’ (1970, p. 310).
In one sense of ‘state’ (understood in terms of a form of government serving the interests of the bourgeoisie), the state is smashed. In another sense, the state (alternatively understood in terms of a form of government serving the interests of the workers) is employed temporarily in aid of the revolution.
We shall return to this issue in more detail when we direct our attention towards Lenin, in whose writings and political practice these problems crystallize out. Meanwhile, a question remains concerning Poulantzas’ stress on the relative autonomy of the state: Why should it be assumed that the function of the state corresponds to the interests of the dominant economic class in a social formation? Surely this is because it is taken for granted that the function of the state as a whole is to facilitate the reproduction of that social formation (and the interests of the dominant economic class are best served by its reproduction). Then, ifMiliband is right to distinguish among institutions of which the state is composed, other institutions besides the government may similarly serve the reproduction of a social formation. If this is so, Poulantzas’ analysis would not support a vanguard which attempted to transform society by an alteration in the governmental institution, and yet which also maintained the other state institutions intact.
Moreover, is the state bound to reproduce a social formation? Even though Poulantzas is critical of ‘functionalist’ social theory, it would seem that he in fact offers such a functionalist analysis. The state may well be thought to exist in order to reproduce a social formation, but why must it do so? What is it about the structure of society as a whole which ensures that the state will carry out this function assigned to it? Without a satisfactory answer to these questions, Miliband is right to accuse Poulantzas of ‘superdeterminism’. He argues that Poulantzas
goes much too far in dismissing the nature of the state elite as of altogether no account. For what his exclusive stress on ‘objective relations’ suggests is that what the state does is in every particular and at all time wholly determined by these ‘objective relations’: in other words, that the structural constraints of the system are so absolutely compelling as to turn those who run the state into the merest functionaries and executants of policies imposed upon them by ‘the system’ (1972, pp. 258–9).
Nevertheless, Poulantzas insists that ‘inside the structure of several levels dislocated by uneven development, the state has the particular function of constituting the factor of cohesion between the levels of a social formation’ (1973, p. 44). He adds that it operates as ‘a factor of “order” or “organizational principle” of a formation... in the sense of the cohesion of the ensemble of the levels of a complex unity, and as the regulating factor of its global equilibrium as a system’ (ibid., pp. 44–5). Poulantzas regards one ramification of this view to be that the political sphere is that area where ‘contradictions’ in the formation are condensed. This enables Poulantzas to argue that the specificity of political practice depends on its having state power as its objective. The political sphere, being the point of cohesion, is crucial for transformations of the social formation.
Now, the political sphere is that level of the structure of a social formation where political power is exercised. But what exactly is political power? For Poulantzas, ’class relations are relations of power’ (ibid., p. 99). Even if that is so, it does not follow that all relations of power are (economic) class relations, as Poulantzas appears to presume. He takes power to be so tied to an economic class that he designates it as ’the capacity of a social class to realize its specific objective interests’ (ibid., p. 104). Hence,
when we speak, for example, of state power, we cannot mean by it the mode of the state’s articulation and intervention at the other levels of the structure; we can only mean the power of a determinate class to whose interests (rather than to those of other social classes) the state corresponds (ibid., p. 100).
With this approach to power, state institutions do not, strictly speaking, have any. ‘Institutions, considered from the point of view of power, can be related only to social classes which hold power’ (ibid., p. 115). Consequently, the problem facing the revolutionary is how to have the interests of the working class realized. Thus, as this involves transforming the cohesive centre of the social structure — the state — such that it corresponds to the interests of the working class, Poulantzas can therefore claim that the ‘motive power of history’ is political struggle. And such political struggle is class struggle.
But this argument is doubly deceptive. First, it is only as Marxist as it seems if the term ‘class’ refers exclusively to an economic category. If class is determined in the way that it is by Poulantzas (see 1978a, passim), namely by political and ideological factors as well as by economic ones, then to say that power is the capacity of a class to realize its interests is to say that any possible social grouping may have its interests represented (and hence have power). This is because any group can be designated by its specific economic, political and ideological features. Poulantzas’ criteria for assigning class location only concern capitalist society. He does not employ them as determinants of post-capitalist classes. But we are free to do so. As state personnel in post-capitalism could be designated as forming a class if the political and ideological criteria are employed, according to the theory they would thus be able to represent their own interests. In which case, Marxist claims about the state managing the affairs of a class, rather than being apparently quite specific and interesting, would be trivial. However, the conclusions which could be derived from a study of how the interests of a class widely defined are realized are far from trivial, as the question of the exercise of non-economic power returns to the agenda. An informative Marxist claim would be that, ultimately, only an economic grouping has its interests represented by the state.
Second, if the term ‘power’ is defined in terms of economic interests, and if ‘class’ is a purely economic category, then Marxist claims about the relationship between power and class are merely analytic. But an important question would remain unanswered: What of the interests of political and ideological groupings and their influence? Political and ideological power would be overlooked because both of these forms of what would ordinarily be regarded as power had been defined out of existence. Military and Church oppression would not be questions of power — by definition. Consequently, an economic definition of power opens the door for political and ideological tyranny.
In the work of Poulantzas, state power is related to (economic) class interests, but our analysis of his position suggests that the relationship is only recognizably Marxist and uncontroversially rigid when it is reduced to little more than a definitional relationship arising from a narrow conception of the term ‘power’. In Miliband, on the other hand, (economic) class interests are represented in the state because the dominant economic class happens to occupy the leading positions in the state institutions. Both positions encourage the following claims to be made: (1) social antagonisms are resolvable by replacing a government representing the interests of capital with a ‘working-class’ administration; and (2) there can be no state when there are no classes, and ‘class’ is understood as an economic category. Both claims can be attributed to Marx. We wish to argue that both are (depending upon how they are to be construed) either inadequate or false, that they are dangerously misleading, and that the importance of this emerges when one turns to consider Lenin.
5.4 Lenin’s Authoritarian Centralism
The supposedly most libertarian of Lenin’s works is The State and Revolution, which was written in 1917, and based directly upon Marx’s assessment of the 1871 Paris Commune. Yet shortly after writing it, Lenin was to make unmistakably authoritarian pronouncements. Only three years later he wrote that
the art of politics (and the Communist’s correct understanding of his tasks) lies in correctly gauging the moment when the vanguard of the proletariat can successfully seize power, when it is able, during and after the seizure of power, to obtain adequate support from adequately broad strata of the working class and of non-proletarian working masses, and when it is able thereafter to maintain, consolidate and extend its rule by educating, training and attracting ever broader masses of the working people (1975b, p. 42).
Is this the ‘dictatorship of the proletariat’ under which the state, to use Engels’ famous phrase, will ‘wither away’? It is surely in practice the dictatorship over the proletariat by an elite. Moreover, questions can be asked about the kind of ‘education’ the proletariat will receive in order that the vanguard will be able to ‘consolidate and extend its rule’.
If there is any doubt about his authoritarianism, note Lenin’s remark that ‘Bolshevism was able, in 1917–20...to build up and successfully maintain the strictest centralization and iron discipline’ (ibid., p. 7). How is this control of the masses to be consolidated? ‘The immediate task...consists in being able to lead the masses to the new position that can ensure the victory of the vanguard in the revolution — this immediate task cannot be accomplished without eliminating Left doctrinairism; without completely overcoming and eliminating its mistakes’ (ibid., p. 96). Note well: Lenin does not speak of the victory of the proletariat, but of the vanguard - this vanguard being enshrined in the party, which is victorious when ‘Left doctrinairism’ (which included, among other things, the call for direct democracy in the workplace and uncompromising soviet autonomy) is completely eliminated. And Lenin’s systematic stress on unquestioned direction from the top — state administration — was by no means a late development. Back in 1918 he had written that the Bolsheviks ‘have won Russia from the rich for the poor, from the exploiters for the working people. Now [the Bolshevik Party] must administer Russia’ (1970, p. 8). Again, note well: although the Bolsheviks may intend to ‘represent’ the poor, it is not the poor, but the Bolsheviks, who have actually ‘won’ Russia. Lenin is, moreover, quite clear that the workers will not administer themselves: the Bolshevik Party will do so.
Because Marx believed that communism required extremely developed production capabilities, Lenin thought it necessary to increase the productive capacity of Russia significantly. What is more, he takes it to be the case that any socialist revolution will have to do the same: Tn every socialist revolution...there necessarily comes to the forefront the fundamental task of creating a social system superior to capitalism, namely, raising the productivity of labour, and in this connection (and for this purpose) securing better organization of labour’ (ibid., p. 22). But not all methods of increasing production constitute a social improvement. One such dubious method is the Taylor system. Yet Lenin is in favour of it as a method for increasing productivity: ‘We must raise the question of piece-work and apply and test it in practice; we must raise the question of applying much of what is scientific and progressive in the Taylor system...’ (ibid., pp. 23–4).
Now, it might be objected that we are being too harsh here, since such methods would only apply to a transitional period on the way to full communism. And Marx argued that one could not expect full communism to be created overnight. Concerning the period immediately following a revolution, Marx commented:
We are dealing here with a communist society, not as it has developed on its own foundations, but on the contrary, just as it emerges from capitalist society. In every respect, economically, morally, intellectually, it is thus still stamped with the birth-marks of the old society from whose womb it has emerged (CGP, p. 346).
However, Marx has this to say about communist society as it would be after a transitional phase:
In a more advanced phase of communist society, when the enslaving subjugation of individuals to the division of labour, and thereby the antithesis between intellectual and physical labour, have disappeared; when labour is no longer just a means of keeping alive but has itself become a vital need; when the all-round development of individuals has also increased their productive powers and all the springs of cooperative wealth flow more abundantly — only then can society wholly cross the narrow horizon of bourgeois right and inscribe on its banner: From each according to his abilities, to each according to his needs! (CGP, p. 347).
But surely, then, Lenin’s introduction of the Taylor system cannot be assumed to be confined only to a transitional period, for it is necessary to maintain the ‘springs of cooperative wealth’ and their abundant flow. Unless one assumes the unrealistic scenario of full automation (which many Marxists have assumed) by ignoring the energy requirements and environmental pollution associated with it, then the extensive manufacturing output envisaged by Marx might only be guaranteed by keeping the most productive labour techniques. These techniques may overcome poverty, but do they overcome all social ills? What freedom remains for the worker thus administered?[107]
Moreover, who is to administer the workers? And to what type of administration will they be subject? The workers will be subject to at least two sorts of administration: (a) to administration in the day-to-day running of their workplace; and (b) to the overall planning by administrators which situates each workplace in the socialist economy. Who will take the decisions which affect the day-to-day running of industry? By subordinating any revolution to the professed panacea of increased productivity, socialism requires the managerial and technical staff who are capable of maximizing efficiency within an industry. The inefficiency of capitalism is not due to capitalist managers and technicians who work for a highly productive factory; it is due to the market. Consequently, there is no reason with regard to productivity for the state replacing capitalist managers and technicians. Rather, the religion of increased productivity demands their retention.
How, though, are managers and technicians who formerly worked for high remuneration under capitalism to be fitted into a socialist economy?
.. the best organizers and top experts can be utilized by the state either in the old way (i.e. for high salaries), or in the new way, in the proletarian way (i.e. creating the conditions of national accounting and control from below, which would inevitably and of itself subordinate the experts and enlist them for our work).
Now we have to resort to the old bourgeois method and agree to pay a very high price for the ‘services’ of the top bourgeois experts (Lenin, 1970. p. 14).
If Lenin did not resort to the ‘expedient’ of preserving the special interests and privileges of the ‘best organizers and top experts’, then the proletariat could not count on their ‘co-operation’. But this is not a problem of an underdeveloped industrial economy. On the contrary, it is the problem facing a revolution in any developed industrial society. A more technologically advanced society than the Russia of 1917 would have had even greater need of these ‘best organizers and top experts’ in order to keep industry running. The creation or preservation of managerial and technical strata above the proletariat cannot be attributed to the problems attending a revolution in a ‘backward’ country. On the contrary, the more ‘advanced’ a country is, the greater such problems will be.[108]
Having seen that the everyday administration at the level of the workplace requires a ‘transitional’ period in which the state must preserve managerial and technical strata (and, almost certainly, their privileges too), who is it that generally administers the new society? Undoubtedly, it is here that any fondamental change is thought to take place. Factory administration may remain the same or fairly similar, but the administration of society as a whole changes from the rule of the bourgeoisie to something quite different. But to what? With the Engels/Kautsky/Lenin thesis that state monopoly capitalism would transform itself into socialism, the major difference between advanced capitalism and socialism would seem to concern only one state institution — the government — and not the state as a whole.
The question which now comes to the fore is: How different would a socialist government be from a capitalist one? Lenin observes that ’unquestioning subordination to a single will is absolutely necessary for the success of processes organized on the pattern of large-scale machine industry’ (ibid., p. 33) and ‘it may assume the sharp forms of a dictatorship if ideal discipline and class-consciousness are lacking’ (ibid.). It is certain that Lenin is not referring to the bourgeoisie lacking class consciousness. Therefore, the possibility of a dictatorship over the proletariat is being explicity acknowledged. What is considered to be distinctly socialist about this central direction is that it is not the class of the bourgeoisie which holds power. The revolution has changed the government so that the class now ‘represented’ is the working class. And their ‘representatives’ in the overall administration of society are the leaders of the party. As Lenin exclaims:
For the first time in human history a socialist party has managed to complete in the main the conquest of power and the suppression of exploiters, and has managed to approach directly the task of administration. We must prove worthy executors of this most difficult (and most gratifying) task of the socialist revolution. We must fully realize that in order to administer successfully, besides being able to win a civil war, we must be able to do practical organizational work. This is the most difficult task, because it is a matter of organizing in a new way the most deep-rooted, the economic, foundations of life of scores of millions of people. And it is the most gratifying task, because only after it has been fulfilled (in the principal and main outlines) will it be possible to say that Russia has become not only a Soviet, but also a socialist, republic (ibid., p. 8).
Here we have the socialist state being born. The capitalist government has been replaced by a workers’ government.
However, all is not well. Twice in the above passage Lenin refers to the ‘gratifying’ task of socialist administration. If the work of administrating is enjoyable, it cannot be certain that the administrators will happily move aside to allow other administrators to replace them. Moreover, does this new workers’ government ‘represent’ the working class in any way different from that in which Louis Bonaparte ‘represented’ the peasantry? As Lenin declares, the first task of the revolutionary party is to convince the majority of the people of the correctness of its programme and tactics. The second task is to capture political power. The third task is ‘the task of organizing administration of Russia’ (ibid.).
Yet this is precisely what Marx claimed Louis Bonaparte did with respect to the peasantry. And just as Bonaparte rose free of any dependency on peasant support in maintaining his power, the Bolsheviks proceeded to raise themselves above society without being unduly restricted by their ‘class base’. And what, according to Lenin, is the task of the ‘class base’ of the new socialist administration following a revolution? To ’unquestioningly obey the single will of the leaders of labour’ (ibid., p. 34). And ‘how can strict unity of will be ensured? By thousands subordinating their will to the will of one’ (ibid., p. 33). By ‘obeying the will of the Soviet leader, of the dictator...’ (ibid., p. 35). What type of ‘dictatorship of the proletariat’ is this? Undoubtedly it is of the same form as the ‘dictatorship of the peasantry’ exercised by Louis Bonaparte. The rule of the proletariat is in name only.
Lenin thus appears to equate the workers’ state with ‘a state which represents the workers’, rather than with direct workers’ power. But even the reduction of workers’ power to a nominal form can hardly justify the naked authoritarianism to which Lenin has descended. How can dictatorial methods applied to the working class be justified? Lenin tries to justify the ‘personal dictatorship’ (ibid., p. 32) of the Bolshevik leaders as follows:
If we are not anarchists, we must admit that the state, that is, coercion, is necessary for the transition from capitalism to socialism.... There is, therefore, absolutely no contradiction in principle between Soviet (that is, socialist) democracy and the exercise of dictatorial powers by individuals. The difference between proletarian dictatorship and bourgeois dictatorship is that the former strikes at the exploiting minority in the interests of the exploited majority, and that it is exercised — also through individuals - not only by the working and exploited people, but also by organizations [emphasis added] which are built in such a way as to rouse these people to history-making activity (ibid., p. 33).
Individuals carry out the coercion over the bourgeoisie in a ‘transition period’ to full communism, and so nothing is wrong with individuals having dictatorial powers! Surely the point is that the oppressed people as a whole are the individuals who must coerce those who are attempting to carry on exploitation. This can involve (and if the outcome is to be genuine workers’ control, we should want to claim that this must involve) the widest possible distribution of power amongst the exploited. That there are ‘dictators with unlimited powers’ (ibid., p. 32) means that the widest possible distribution of power throughout society is ruled out. At the very least, Marx’s reference to a ‘dictatorship of the proletariat’ (CGP, p. 355) invites such Leninist attempts to justify outright and uninhibited authoritarianism.
But what, it must be asked, of Lenin’s State and Revolution? Is it not itself a libertarian work? Was Lenin first a libertarian, and more authoritarian only later? In fact, we doubt that even The State and Revolution is genuinely libertarian. In order to defend this claim, we now turn to that work.
5.5 Qualifications on Lenin’s Authoritarianism Considered
Having seen how authoritarian Lenin could be in his writings, it is possible to see the apparently libertarian State and Revolution in a new light. For one thing, there is little reference in it to the party — a particularly odd fact given that not only in his later writings, but also in as early a work as What is to be Done?, the party is a central concern. Moreover, in one of the few passages in The State and Revolution in which Lenin does refer to the party, it is not at all clear what he intends to convey:
By educating the workers’ party, Marxism educates the vanguard of the proletariat which is capable of assuming power and of leading the whole people to socialism, of directing and organizing the new order, of being the teacher, the guide, the leader of all the toilers and exploited in the task of building up their social life without the bourgeoisie and against the bourgeoisie (1973, p. 30).
Unfortunately, as Miliband observes, ‘it is not entirely clear from this passage whether it is the proletariat which is capable of assuming power, leading, directing, organizing, etc.; or whether it is the vanguard of the proletariat, i.e., the workers’ party, which is here designated’ (1970, pp. 313–14).
When The State and Revolution is read in isolation, it is possible for libertarian Marxists to conclude from the above passage that power will fall to the proletariat as a whole. It seems to us, however, that Lenin’s earlier and later pronouncements on the party constrain how the passage must be read, and that the usual libertarian interpretation of this influential work is therefore inadequate.[109] This is a matter of vital concern for anyone who considers Leninism a contender for the means of establishing something more than nominal workers’ power. What, then, is the usual interpretation of The State and Revolution?
Lenin stresses that Marx believed that the goal of revolutionary praxis was not to ‘capture’ the capitalist state, but to ‘smash’ it. However, some transitional state would be necessary while (economic) class conflict remained. But unlike the capitalist state, the socialist one would serve the interests of the proletariat and suppress the bourgeoisie. That which had made possible the maintenance of that state of affairs which facilitated the exploitation of the proletariat would be smashed. And, true to Marx, Lenin does write:
If the state is the product of the irreconcilability of class antagonisms, if it is a power standing above society and ’increasingly alienating itself from it’, then it is obvious that the liberation of the oppressed class is impossible not only without a violent revolution, but also without the destruction of the apparatus of state power which was created by the ruling class and which is the embodiment of this ‘alienation’ (1973. p. 9).
But the only thing that appears to hold down the workers is the institution of government and its subordinate organs which serve the interests of the bourgeoisie by maintaining property relations. These must be ‘smashed’ so that new, socialist relations of production may replace the old ones and effect a transition to a new mode of production.
What is often overlooked is, as we have intimated, that it is only strictly necessary, according to this view, to ‘smash’ the institutions which, in their present form, maintain capitalist relations of production. Other features of state institutions are beside the point since, if they are unsalutary, they will supposedly not survive the overthrow of private ownership of the means of production and, correspondingly, the class relations (economically conceived) upon which they are ostensibly based. This latter assumption is quite true to Marx. As Lenin writes:
The Communist Manifesto gives a general summary of history, which compels us to regard the state as the organ of class rule and leads us to the inevitable conclusion that the proletariat cannot overthrow the bourgeoisie without first capturing political power, without attaining political supremacy, without transforming the state into the ‘proletariat organized as the ruling class’; and that this proletarian state will begin to wither away immediately after its victory, because the state is unnecessary and cannot exist in a society in which there are no class antagonisms (ibid., p. 33).
If the state is the organ of (economic) class coercion, and if the governmental institution represents the working class while the bourgeoisie continue to exist in some form, a state will correlatively exist during that period. When only the workers exist, the state will have disappeared. Such an analysis seems to render the transitional state unproblematic. However, this argument depends entirely on the peculiar Marxist definition of ‘the state’ which we encountered in the work of Poulantzas. With a new socialist mode of production entailing the destruction of ‘classes’ as such, the state — that entity which is conceived of as serving ‘class interests’ — will, by definition, be smashed.
Now, Lenin reproached the anarchists for not knowing what to put in the place of the capitalist state after it has been smashed (see ibid., p. 125; this, of course, begs the question by assuming that something must be put in its place). Lenin’s reproach suggests that some form of state is necessary during the period of ‘transition’ to full communism. But what is Lenin’s view of the state in The State and Revolution? How does it differ from the authoritarian socialist state of his later writings? He writes that ‘the workers, having conquered political power, will smash the old bureaucratic apparatus, they will shatter it to its very foundations, they will destroy it to the very roots’; which sounds extremely radical and libertarian. But his very next words are:
And they will replace it by a new one, consisting of the very same workers and office employees, against whose transformation into bureaucrats the measures will at once be taken which were specified in detail by Marx and Engels: 1) not only election, but also recall at any time; 2) pay not exceeding that of a workman; 3) immediate introduction of control and supervision by all, so that all shall become ‘bureaucrats’ for a time and that, therefore, nobody may be able to become a ‘bureaucrat’ (ibid., p. 131).[110]
In actual fact, certain of the socialist state institutions would almost be the same as capitalist state institutions were it not for the restrictions imposed upon socialist state personnel. The new state presides over (temporary) class relationships (economically conceived), but state employees are to be subject to certain forms of accountability to the workers. Interestingly, Lenin has shown that the very features of the Paris Commune which Marx so enthusiastically praised are quite compatible with a state as it is theorized by Marxists. The vital question is: Are these restrictions (i) feasible and (ii) sufficient to ensure genuine workers’ control and to pre-empt the re-emergence of old or the establishment of new classes? We first consider (i) their feasibility.
Lenin’s vision would appear to be one of the workers electing administrators who are subject to having their ‘accounts’ checked periodically by the workers. He assumed that socialism would render decision-making sufficiently elementary for the workers to scrutinize competently any decision made by the administrators. But does this make any sense in the kind of hyper-developed industrial society envisaged by Marxists? Administrative decisions will depend upon technical information fed to the decision-makers by the experts required by such a society; either that or the administrators will have to possess such expertise themselves — i.e. they must be experts. How could such individuals be replaceable? Even those who began as having no more expertise than anyone else would soon acquire so much more than anyone else as to become indispensable.[111]
This is a perennial problem accompanying the centralization of information. What is more, is the technical information subject to workers’ scrutiny in any case? Marx believed that socialist society would develop the all-round nature of the worker so that everyone would have a greatly increased technical ability; but what of the transition period? Furthermore, to think that everyone can be sufficiently qualified in nuclear physics, genetic engineering, biochemistry and metallurgy, to name but a few areas, so as to be able to ‘check the books’ adequately is laughable. Nuclear power alone is an area where not even top physicists can agree on technical matters, never mind on dependent issues such as environmental and social effects. So, not only are the books not readily checkable, but also the ‘best organizers and top experts’ are not subject to immediate recall — a fact Lenin was forced to confront when he had to pay them high salaries.[112]
Even if they were feasible, would Lenin’s restrictions on state personnel be sufficient to ensure genuine workers’ control and to pre-empt the re-emergence of old or the establishment of new classes? We now consider this second issue: (ii) the sufficiency of Lenin’s restrictions. If such administrators actually administer, who is to stop them from raising their salaries above an ordinary worker? And who is to object to the payment of high salaries to specialists? Lenin’s claim in The State and Revolution that such an eventuality could not occur is based on an argument that displays the fundamental weakness and naivety of Marxist political theory:
Under capitalism democracy is restricted, cramped, curtailed, mutilated by all the conditions of wage slavery, and the poverty and misery of the masses. This and this alone is the reason why the functionaries of our political organizations and trade unions are corrupted — or, more precisely, tend to be corrupted — by the conditions of capitalism and betray a tendency to become bureaucrats, i.e., privileged persons divorced from the masses and standing above the masses (Lenin, 1973. p. 138).[113]
Because all inequality is based fundamentally, for Marx as well as Lenin, on economic inequality, the very political and ideological differences (and here, following Poulantzas, we include within the notion ‘ideological differences’ privileged access to knowledge) from which inequality can arise are dismissed a priori. It is precisely for this reason that Marxists opt for economistic conceptions of ‘class’ and ‘class struggle’. Moreover, this is why they see class struggle as a fundamental motive power in history. But individuals who are privileged in having their commands, rather than those of others, obeyed or have privileged access to knowledge or possess certain rare skills are distinct from and usually do stand above the masses, if for none other than these very reasons. What is more, any one of these privileges can be cashed out as real power which can be used to further that privilege (hence increasing such power), and can be used to create other privileges (including economic ones) which, in their turn, increase the power of such individuals still further.[114]
It is for such reasons as these that Bakunin was so critical of Marx. We shall turn to this in a moment, but before we do there is a further point to be made in connection with Lenin’s most ‘libertarian’ work. Lenin assumes that all that it will be necessary for the workers to do politically in the socialist ‘transitional’ state, and perhaps in any society corresponding to his conception of ‘workers’ control’, is to check the books. But as Maurice Brinton accutely observes:
No one disputes the importance of keeping reliable records but Lenin’s identification of workers’ control, in a ‘workers’ state’, with the function of accountancy (i.e. checking the implementation of decisions taken by others) is extremely revealing. Nowhere in Lenin’s writings is workers’ control ever equated with fundamental decision-taking (i.e. with the initiation of decisions) relating to production (how much to produce, how to produce it, at what cost, at whose cost, etc.) (1975, p. 12).
There is certainly no requirement of direct workers’ control nor of genuine workers’ initiative stressed anywhere in The State and Revolution.
But though Brinton notices that this omission is true of Lenin, he does not add that it is also true of Marx. ‘The Civil War in France’, the work where Marx devotes most space to the forms of revolutionary society, does not address itself to the question of direct decisions being taken by the workers themselves. True to form, the tenor is unmistakably that of representation. Planning is not actually in the workers’ own hands. Once one realizes that even elected administrators, though formally revocable, can in practice become indispensable precisely because of their administrative role (in other words, because decision-taking has become alien to the worker, and because the administrator has become the store of vital knowledge), then Marxist revolutionary organization reduces itself to a position not that unlike western democracies. Its recommendations are tantamount to: ‘If you don’t like what the present government is doing, don’t re-elect it!’ And not unlike that in western democracies would be the degree of powerlessness experienced by the workers.
Moreover, is Lenin justified in assuming that even the most well-meaning delegates can direct the new state machine (almost certainly composed of many of the same individuals as the old one) to do anything that they wish? Large administrative systems often have an inertia of their own which prevents sudden changes of direction. An aspect of this which is of vital importance is that if it is realized that managerial and technical echelons constitute a class (the techno-bureaucracy), then there is a crucial problem ignored by Lenin. Such a class will have its own interests. Those interests may be served in capitalism by working for the bourgeoisie and enjoying the high salaries which pivotal positions in the capitalist system can command. They may also be served in a different way in a socialist society — by occupying pivotal positions in the state system.[115] Once achieved, there is just a short step required for the new government to declare: ‘The elective principle must now be replaced by the principle of selection’ (Lenin; quoted in Brinton, 1975, p. 63).[116] And an even shorter one for the consolidation of a state above the workers which actually serves to protect the interests of the higher echelons of that state.
Interestingly, some of these criticisms of Lenin are anticipated in Michael Bakunin’s critique of Marx, to which we now turn.
5.6 Bakunin’s Critique of Marx
Having noted the problems which can result from Marxist/Leninist political practice, we can now see the force of Bakunin’s aperçu:
A scientific body to which had been confided the government of society would soon end by devoting itself no longer to science at all, but to quite another affair; and that affair, as in the case of all established powers, would be its own eternal perpetuation by rendering the society confided to its care ever more stupid and consequently more in need of its government and direction (1970, pp. 31–2).
But Marx consistently failed to appreciate the full significance of Bakunin’s concern. This is quite apparent in his response to Bakunin.
Bakunin realized that any state, socialist as well as capitalist, is quite capable of achieving a sufficient degree of independence from the rest of society so as to serve the interests of those within the state institutions, rather than serve society as a whole or a class which is not merely defined by the membership of state institutions. The members of state institutions will, what is more, tend to maintain their positions of dominance irrespective of their good intentions, should they have any, if for no other reason than their belief that their own policies are the ones which ought to be implemented. (Marx’s eventually successful efforts to have Bakunin expelled from the International Workingmen’s Association constitute a case in point.) Consequently, Bakunin was extremely fearful of relying on the state as a means of transition to communism. Marx’s heavy-handed dismissal of these fears has consigned revolutionary praxis (due to the centrality of Marx’s subsequent influence) to the role of an unwitting accomplice of any Stalin who is awaiting his entrance onto the world stage.
Marx had indicated that the next revolution would make the working class the ruling class. Bakunin asks, ‘Over whom will it rule?’ Marx replies that as long as the bourgeoisie still exists the proletariat ‘must use coercive means, hence governmental means’ (SA, p. 561). Why, one might ask, must coercion take a governmental form? The workers can forcefully resist the bourgeoisie without governmental control. The Spanish militias of 1936 attest to this fact. We thus see that Lenin’s non sequitur concerning dictatorship stands endorsed by Marx. Moreover, if coercion does in fact take a governmental form who will occupy the leading positions in the governmental institution? ‘Will, perhaps,’ asks Bakunin, ‘the whole of the proletariat be at the head of the government?’ To which Marx replies, Tn a trade union, for example, is the executive committee composed of the whole of the union?’ (SA, p. 562).
Now, this might have seemed to Marx a century ago to be a satisfactory rejoinder, but it can hardly do today. In the infancy of trade unions, which is all that Marx knew, the possibility of the executives of a trade union becoming divorced from the ordinary members may not have seemed to him to be a likely outcome. We, however, have behind us a long history of union leaders ‘selling out’ and being out of touch with their members. Time has ably demonstrated that to reject Bakunin’s fears on the basis of the practice of trade union officials constitutes a woeful complacency with regard to power and privilege — a complacency that has born ample fruit in the form of present Marxist parties and ‘communist’ societies. Bakunin’s premonition (based on his mistrust of power) enabled the following words to be as true of the leaders of current trade unions as of socialist states:
The Marxists say that this minority will consist of workers. Yes, possibly of former workers, who, as soon as they become the rulers of the representatives of the people, will cease to be workers and will look down at the plain working masses from the governing heights of the State; they will no longer represent the people, but only themselves and their claims to rulership over the people (1973, p. 331).
Moreover, this is by no means confined to reactionaries who are limited to . a ‘trade union consciousness’, for
men who were democrats and rebels of the reddest variety when they were a part of the mass of governed people, became exceedingly moderate when they rose to power. Usually these backslidings are attributed to treason. That, however, is an erroneous idea; they have for their main cause the change of position and perspective (1964, p. 218).
Marx’s failure to take such problems seriously paved the way for Lenin’s authoritarianism. Lenin did not build his theories on air: they arose on the basis of serious inadequacies in Marx’s conception of the state and political power.[117]
Now, Marx’s glowing comments on the Paris Commune[118] indicate that he was not opposed to some element of workers’ power. However, his dispute with Bakunin shows quite clearly that Marx did not stress the continued control of the revolution by the mass of the people as a prerequisite for the transcendence of all significant social antagonisms. Furthermore, since Marx vigorously opposed Bakunin’s efforts to ensure that only libertarian and decentralist means were employed by revolutionaries so as to facilitate the revolution remaining in the hands of the mass of workers, he must accept a fair measure of culpability for the authoritarian outcome of the Russian Revolution. By arguing against the anarchists who attempted to preclude what was to become the Leninist form of revolutionary strategy, Marx tacitly condoned the Leninist development. It is here that Marx’s theorization of political power, that very theorization which inspired Marx to oppose Bakunin, shows itself to be so dangerous for revolutionaries today.
Bakunin saw that there were wrong ‘revolutionary’ roads which could lead to a consolidated state power with privileged strata having their interests served by the state after a revolution. Consequently, Bakunin was not satisfied with trusting revolutionary leaders to liberate the oppressed. For him, unlike Marx, it was essential to build safeguards into the revolutionary process so that the revolution was not left to chance — the sheer good fortune that the revolutionary leadership would eventually dissipate its own power acquired in the revolutionary process. Instead, constant criticism had to be made of the role of revolutionary leaders. The oppressed people had to be made aware that the only security against replacing one repressive structure with another was the deliberate retaining of control of the revolution by the whole of the working classes, and not naively trusting it to some vanguard.
Marx, on the other hand, though praising the revolutionary forms thrown up by the working classes during the Paris Commune, did not see such forms, with their stress on mandated delegates subject to immediate recall, etc. (archetypally anarchist restrictions), as being the pre-requisite for guaranteed revolutionary success. If the working class threw up such forms, all well and good. If it threw up less libertarian and less egalitarian forms then, for Marx, history would vindicate those revolutionary forms with the ultimate withering away of the ‘transitional’ state. Whatever revolutionary forms spring up are given explicit sanction by Marx: ‘They [the working class] have no ideals to realize, but to set free the elements of the new society with which old collapsing bourgeois society itself is pregnant’ (CWF, p. 213).[119] This belief is due not only to his ultimately millenarian theory of history, but also, and most importantly, to his implicit theory of the state — a theory which, in reducing political power to the realization of the interests of the dominant economic classes, precludes any concern with the potentially authoritarian and oppressive outcome of authoritarian and centralized revolutionary methods. When libertarian Marxists try to distinguish themselves from authoritarian Marxists, they adopt a stance forbidden by Marx’s political theory. And in this lies the real danger of Marx’s theory of the state for would-be liberators of humanity. This danger (namely, the dismissal of warranted fears concerning political power) is latent in the central features of Marx’s approach to politics.
What is exceptionally ironic is Marx’s programme for removing the fragmenting basis of civil society, which includes:
A heavy progressive or graduated income tax....
Extension of factories and instruments of production owned by the State; the bringing into cultivation of waste-lands, and the improvement of the soil generally in accordance with a common plan.
Equal liability of all to labour. Establishment of industrial armies, especially for agriculture... (MCP, pp. 104–5).
Not only does the ‘transitional’ state grow with the implementation of this programme (increased taxation requires more tax officers, increased nationalization requires larger state administration, etc.), but also the seeds of Lenin’s authoritarianism are planted. Point 8 blossoms, in Lenin, into the militarization of labour subject to ‘iron discipline’. Point 7 gives rise to a plethora of ‘best organizers and top experts’ who will form a new privileged stratum in a socialist society.
And what could such a privileged stratum do? For one thing, if an elite managed the economy, then it would be in a position to play off one factory against another, one industry against another, agriculture against industry, industry against agriculture. It could play one group of workers off against another in the way that Louis Bonaparte is argued to have played one class off against another. And there, in the middle, ‘representing’ the interests of all against the private interests of one factory, or one industry, standing above society as the universal, and, what is more, doing so without any private ownership of the means of production, is the state.
5.7 Summation of Marx’s Philosophical Errors
The theory of the state found in Marx is ripe with confusion. Either Marx is making an empirical claim about the relationship between political power and the (economic) class structure of society, or he is defining political power in terms of the (economic) class structure of society. If Marx is making an empirical claim, what could falsify it? The answer is the relatively independent power of the Bonapartist state. But this is rejected because of semantic confusions surrounding the use of the word ‘represents’. When such confusions are cleared up, it becomes apparent that the power of the Bonapartist state was not maintained by the largest economic class in France at the time — the peasantry. In which case, the Bonapartist state can easily be thought of as falsifying a genuinely empirical thesis concerning the dependence of political power solely on economic groupings.
However, the claim that Bonapartism refutes Marx’s political theory must be abandoned if the relationship between political power and economic class is not, after all, an empirical claim but, instead, the elucidation of a technical definition of ‘political power’.[120] In The Communist Manifesto, Marx sums up his view of the relationship of the state to economic interests:
When, in the course of development, class distinctions have disappeared, and all production has been concentrated in the whole nation, the public power will lose its political character. Political power, properly so called, is merely the organized power of one class for oppressing another. If the proletariat during its contest with the bourgeoisie is compelled, by the force of circumstances, to organize itself as a class, if, by means of a revolution, it makes itself the ruling class, and, as such, sweeps away by force the old conditions of production, then it will, along with these conditions, have swept away the conditions for the existence of class antagonisms and of classes generally, and will thereby have abolished its own supremacy as a class.
In place of the old bourgeois society, with its classes and class antagonisms, we shall have an association, in which the free development of each is the condition for the free development of all (MCP, p. 105).[121]
Here, in this brief passage, the central confusions of Marxist political theorists are encouraged. If, in the first paragraph, Marx intends ‘class’ to be an exclusively economic category, and if the old conditions of production are changed so that there is no longer any private ownership of the means of production, then classes no longer exist by definition when they are defined in terms of either the private ownership of the means of production or selling one’s labour-power to the owners of the means of production. If Marx also defines ‘political power’ as ‘the organized power of one [economic] class for oppressing another’, then the first part of the argument is no more than a tautology, and is trivially true. But, then, this would add nothing of any content to our understanding of the real world.
If this is so, the second paragraph does not follow from the first. We cannot conclude from the first paragraph, if it is a mere tautology, that with a condition obtaining of no private ownership of the means of production there would be no strata (we cannot now use the term ‘class’): dominant and subordinate strata, privileged and unprivileged strata — strata defined in terms of unequal distributions of administrative weight or access to knowledge. And such differences entail privileged positions whose holders do not regard the development of others as being the condition for their own development. Lenin’s authoritarianism takes root in the hiatus between these two paragraphs from The Communist Manifesto.
Moreover, that which others refer to as ‘political power’ which is not at the same time (economic) class-based power would be ignored in Marx’s analysis. The question of political power would be radically denatured through redefinition, and the problems concerning non-economic-based power would be removed from the political agenda. If one were to define political power as the power of an economic category, all other forms of political power would vanish before our eyes — not because they ceased to exist, but because they could no longer be spoken of with any ease. This would, clearly, be obstructive to the development of an adequate revolutionary theory. What is more, the state would, in actual fact, only be ‘smashed’, not because of any fundamental transformation, but because the change in the class nature of society which accompanied the birth of a new mode of production would entail the negation of the state — also by definition. In reality, that which was, prior to the revolution, called the state would remain as repressive and dictatorial as ever. It would, therefore, be unacceptable to defend Marx by relating ‘political power’ definitionally to economic class.
For Marx, it is only the state as an organ above society which will, supposedly, disappear after the revolution. The state, though Marx would no longer call it one, actually remains as an organ within society. After socialist policies have been implemented (for example, the nationalization of the land),
there will be no longer any government or state power, distinct from society itself! Agriculture, mining, manufacture, in one word, all branches of production, will gradually be organized in the most adequate manner. Nationalization of the means of production will become the national basis of a society composed of associations of free and equal producers, carrying on the social business on a common and rational plan (Marx, 1969, p. 290).
There is no state above society because there is no organ passing laws (through which the individuals in civil society are united) concerning inter alia the private ownership of the means of production. Instead, there is a state within society in as much as the administration of a ‘common plan’ involves the management of the means of production on a national level. But such management is mistakenly deemed to be unproblematic, because it escapes Marx’s analysis of class power. Here, in the failure to question the power of such management, can be found all the justification Lenin requires to lay claim to a Marxist heritage. Here, Lenin’s administrators find all the space they require in order to take their place in Marx’s theory.
However, what must be stressed is that Marx’s errors ultimately lie not in political confusions, but in philosophical ones growing out of his illegitimate translation of Hegel’s idealist analysis of the state (as resolving the antagonisms of civil society on an ethical plane) into an analysis of the ontology of power based on material relations. That the existence of the state is justified by civil society (because of the fragmented form that the latter might take with no such state to combine it into an ethical whole) is an ethical claim which does not entail that the actual existence of the state is dependent upon civil society being fragmented. Nor does it entail that the state lacks substantial power as a relatively independent agent — unless, that is, perceived ethical justification is the actual basis of the state’s existence and power. But then it would not be economic factors which were of prime importance, but ideological ones. And if ideological factors were so important, a nonfragmented civil society, given general acceptance of a statist ideology, could give the state tremendous power due to the allegiance held by individuals to it. In which case, our notion of a politico-ideological substructure should come to the force.
Thus, the reason why Marx fails to consider the possible growth of a socialist state above the workers is his early reliance on Hegel’s analysis of bourgeois society. From the moment he thought that Hegel had isolated the fundamental features of the modern state (namely, the way it stands as a professed universal above a fragmented civil society), Marx was unable to stand back and consider whether or not it is really the case that the state cannot stand without antagonisms between economic groupings. The conclusion Marx reached whilst confined to an Hegelian perspective was: remove the fragmenting basis of civil society, remove the right of a few to the ownership of the means of production which creates isolated ‘persons’, and the state will dissolve of its own accord.
Marx believed that Hegel had accurately depicted the dependence of the state on the economic nature of civil society. But that dependence is, in point of fact, only ethical in nature; and a materialist such as Marx, a materialist not interested in ethical justification but in ‘real’ relationships, cannot assume that the actual existence (the ontological status) of the state and the nature of its power have the same dependence.[122] That the state can claim to exist justifiably above society and promulgate the laws which the members of civil society must obey when, without such a state, there would only be isolated individuals lacking any social unity does not mean to say that without individuals enclosed in spheres of economically oriented rights there would be no state above society. Hegel may well have correctly described the dependence of the state’s ethical validity on a fragmented civil society. That is not to say that he also correctly described the relationship between the actual existence of the state and civil fragmentation. Marx, in failing to make a distinction between these issues while at the same time basing his theory of the modern state on Hegel’s, unjustifiably argues that the destruction of the power of a state above society can be effected by transcending the economic fragmentation of that society. The only conclusion that Hegel’s analysis of the state effectively supports is that the ethical justification claimed by the modern state is destroyed along with the removal of property relations which isolate producers. But given the attitude he professes to morality, that is not a conclusion which should interest Marx.
However, let us go so far as to assume that the state has in actual fact come into existence because of fragmentation in civil society. Even the establishment of such a fact would prove neither that the state could only come into existence, nor that it could only continue to exist, given such civil fragmentation. It could not be ascertained a priori, nor from an empirical study of how the state arose, that such fragmentation was a necessary condition for the state’s existence, only that it was a sufficient condition. But such fragmentation is a necessary condition for the ethically justified existence of the state if one takes the view that the state can only coerce justifiably when, by doing so, it unites an otherwise divided society or prevents (further) division. This can mislead one into thinking that it is also a necessary condition for the actual existence of the state. Because in the first case fragmentation is a necessary condition, it can uncritically be thought to be so in the second case as well.
We have noted that Marx approached the state in a similar way to how he approached religion. Such an approach tends to put the state on a par with a non-existent God. But Marx’s early model of alienation developed in Capital into the theory of commodity fetishism. What happens if, instead of the Feuerbachian approach to man’s alienation from his own humanity acting as the model for the relationship of the state to civil society, one employs the notion of commodity fetishism? For Marx (as we noted in Chapter 3), abstract labour is an abstraction which is reified and, as a result, acquires the power of self-expansion, leading to its increasing dominance over individual labour (see, for example, Banaji, 1979; also Elson, 1979). Why should the state, similarly an ‘abstraction’, not likewise be regarded as one which has been reified and has come to acquire the power of self-expansion and increasing dominance? As Marx has acknowledged a process whereby an abstraction is reified and exerts real historical power, his complacency concerning the state might be regarded as subject to criticism from his own standpoint.[123]
One aspect of Marx’s stress on the economic basis of political power is the assumption that ‘the executive of the modern State is but a committee for managing the common affairs of the whole bourgeoisie’ (MCP, p. 82). The main reason for this assumption would seem to be the apparent fact that the modern state tends to protect the interests of the bourgeoisie. But if it is the case, as Theda Skocpol claims, that ‘states are actual organizations controlling (or attempting to control) territories and people’ (1979, p. 31), then ‘both the state and the dominant class(es) share a broad interest in keeping the subordinate classes in place in society and at work in the existing economy’ (ibid., p. 30). The interests of the bourgeoisie are clearly to keep the subordinate classes at work. And the interests of the state are also usually served by having the subordinate classes ‘at work in the existing economy’ — producing the wealth which the state can tax, for example. But this is not always so. Sometimes the state will prefer to have them occupied in purely military roles.
Once one notices the possibility that the state protects the interests of the bourgeoisie only because it thereby also protects its own interests, a new question arises: What happens when the interests of the state and the bourgeoisie do not at a particular time correspond? In fact, a discrepancy between these interests provides an elegant explanation for the sorts of phenomena (the provision of welfare services, etc.) which lead Marxists to attribute an awkward ‘relative autonomy’ to the state. Skocpol:
The state normally performs two basic sets of tasks: it maintains order, and it competes with other actual or potential states. As Marxists have pointed out, states usually do function to preserve existing economic and class structures, for that is normally the smoothest way to enforce order. Nevertheless, the state has its own distinct interests vis-à-vis subordinate classes.... The state’s own fundamental interest in maintaining sheer physical order and political peace may lead it — especially in periods of crisis — to enforce concessions to subordinate-class demands. These concessions may be at the expense of the interests of the dominant class, but not contrary to the state’s own interests in controlling the population and collecting taxes and military recruits (ibid., p. 30).
Now, it might be claimed that such state actions stabilize the political and economic order. They are, therefore, in the long-term interests of the dominant economic class. Such actions do not indicate any discrepancy between state and dominant economic class interests, at least in the long run. However, it is undeniably true that
international and military pressures and opportunities can prompt state rulers to attempt policies that conflict with, and even in extreme instances contradict, the fundamental interests of a dominant class. State rulers may, for example, undertake military adventures abroad that drain resources from economic development at home, or that have the immediate or ultimate effect of undermining the position of the dominant socioeconomic interests (ibid., p. 31).
Thus, we may conclude that the state certainly has interests of its own. This suggests that the state acts to protect its own interests, and protects the interests of the bourgeoisie when those interests happen to coincide with its own, as, indeed, they usually do. In other words, it only appears that the state necessarily protects the interests of the bourgeoisie. In fact, it only protects the latter’s interests because of a contingent correspondence between state and bourgeois interests. The usual correspondence of interests might have helped to cause Marxists to suppose that the state is merely an organ for protecting the interests of the dominant economic class, and to suppose that the political instance is subordinate to the economic. Marxists have failed to see that the state only ever carries out what is in its own interests. It follows that the state cannot be trusted to liberate society. What we might expect it to do, however, is try to facilitate a change to a mode of production even better suited to its own interests. Perhaps following capitalism, that means a state-planned economy?
One final point needs to be made before we conclude this section. We have not stressed the interpretation of Bonapartism which derives from Engels. In that interpretation, it is argued that the state ordinarily serves the interests of the dominant economic class in a social formation; however, when two economic classes are approximately in ‘equilibrium’, then the state may rise free of its subordination to the interests of one class and behave as an independent entity pursuing its own course. But if the state is thus kept in check only when a dominant economic class is sufficiently strong enough to subordinate it to its interests, with no economic classes (hence no dominant economic class), it might be argued that there is nothing to keep the state in check and it is free to serve its own interests as it likes. For example, the actions of the state might be limited by its need to ensure some co-operation from the dominant economic class in extracting surplus from the workers. With no powerful, dominant economic class, such a limitation would no longer apply.
The ‘dictatorship of the proletariat’ is, moreover, only necessary when there is a struggle between the proletariat and the bourgeoisie. The Engels-based interpretation of Marx’s theory of the state could make the employment of the state in the aid of the revolution an even more suicidal manoeuvre. The beginning of a revolution might well consist in the struggle between equally strong economic classes. But it is precisely then that the state, on such an interpretation, has greatest power and autonomy. In other words, the revolutionary ‘period of transition’ could well be the time when the state is most likely and able to serve, not the interests of an economic class, but its own interests.[124]
5.8 A Contribution to the Critique of Political Economism
If state power does not rest solely on private property, if the divisions engendered by private property are only a sufficient condition and not also a necessary condition for the state, what (else) does the state rest on? We are of the opinion that it rests on what we have called the politico-ideological substructure. It will be recalled that conceptions of property de jure and of legitimate authority can generate power. Moreover, the situational logic which an agent confronts can also generate power — recall the conscript army example, where the conscripts were diffident to each other. One way in which diffidence towards others can manifest itself is in the possibility of surveillance. Anthony Giddens sees the surveillance activities of the state as undergirding state power. He goes so far as to add that ‘the concentration of the surveillance activities of the state in modern times is the chief basis of the looming threat of totalitarianism, a phenomenon that has to be distinguished from the “despotism” of non-capitalist states’ (1981, p. 5).
One should be aware, however, that political power does not have to rest on actual surveillance, as Giddens seems to suggest. What can be most effective in leading to subordination is the feeling of visibility to the surveillants by the subordinated — a point which is made by Foucault in his discussion of panopticism (see 1979, pp. 195 ff.). The major effect of Bentham’s Panopticon was ‘to introduce a state of conscious and permanent visibility that assures the automatic functioning of power’. The aim was ‘so to arrange things that the surveillance is permanent in its effects, even if it is discontinuous in its action’ (ibid., p. 201). Ironically, by feeling continually subject to possible surveillance, the subordinated may feel it necessary to become surveillants for their superordinates, thus increasing the degree of actual surveillance in a society. This is the same as the conscript army’s behaviour with regard to military discipline. It is clear, therefore, that modern political power does not require private property as a necessary condition for its existence.
As such situational logic can underwrite military (political) power, this can act as one support for the state. Beliefs in the legitimacy of political authority can further support it. But the state can also be supported financially. The appropriation of surplus by the state through, say, taxation can allow it to fund its army and ideologues. The state can even play an active role in the economy through nationalizing industry, loaning capital, and so on. Hence, the state can rest on political, ideological and economic supports. Earlier though, we claimed that economic relations were a function of the politico-ideological substructure. We now claim that the state is also a function of that substructure. If the state also rests on the economy (and can affect the economy) how are these various claims to be reconciled? In order to claim that the state rests on economic as well as political and ideological elements, and that the economic rests on political and ideological elements at the same time, we posit that the politico-ideological substructure can ground military and ideological power independently of grounding economic relations, and that the latter are also able to generate power which can act as a grounding for the state. The state, however, being independently grounded on the substructure, is in a position to stabilize the economic relations even though it inter alia rests on them. This is principally because it only in part rests on them.
The political support could primarily involve situational logic, the ideological support could primarily involve conceptions of authority, and the economic support could primarily involve conceptions of property. The state might, therefore, stand on one, two or three elements. While needing to be supported by one or two elements only, the state might be in a position to effect changes in the remaining element(s). For example, if the state’s military power were secure, and if the respect amongst the majority of the nation for the authority of the government were particularly strong, then the economic element could be ‘tampered’ with: the state could effectively intervene directly in the economy or it could indirectly do so by altering the legal status of certain economic relations. As an analogy for the state’s ability to transform its supporting elements, think of the state as being rather like a man in possession of a crutch. If both of his legs are healthy, he can stand without its assistance. However, the crutch allows him to stand comfortably even when one leg is weak. He could even stand on the healthy leg alone while making adjustments to his crutch. Similarly, if the state ‘stands’ on relatively independent political, ideological and economic ‘supports’, then if the political and/or ideological are/is sufficiently strong, ‘adjustments’ could safely be made to the economic.
We have noted that the interests of the state often contingently correspond to those of the dominant economic class. The state needs to finance its army, police, etc. To do so it needs surplus to be extracted from the workers. Consequently, it will tend to support the economic class most able to extract such a surplus. However, should a new class be in a position to extract a greater surplus (perhaps, following capitalism, a techno-bureaucratic class ideally situated in a planned economy), then the state might choose to withhold its ability to stabilize the existing economic relations which benefit the present dominant economic class. Instead, it might encourage relations that favour the new emerging class which is capable of offering to the state the prospect of a greater surplus. But we should also expect the state to favour only the transition to new relations of production which allow the state to increase its share of the surplus and/or to remain in control of the nation — other new relations (for example, those which facilitate a genuine independence of the dominant economic class from the state) would tend to be resisted.
We thus have the beginnings of a politically-centred account of epochal transition which takes into account the development of the productive forces and the suitability of certain relations of production for their development. But to acknowledge an active role being taken by the state in determining the change of economic relations so as to suit its own purposes is to reject the economism of Marxist political theory. It also suggests that one ought not to be complacent about the state ‘withering away’ in a post-capitalist society.
Any revolutionary who seeks to serve the liberation of the oppressed or anyone who does not wish one authoritarian regime to be replaced by another must reject Marx’s theory of the state and look to a theory which honours the state’s independent power vis-à-vis, in particular, the property relations of a society. Correlatively, such a revolutionary must pay adequate attention to the problems attending the centralization of power which may accompany certain ‘revolutionary’ roads (most notably, Marxist/Leninist) if he or she is to avoid advocating a political theory which, if put into practice, would result, except for the most unlikely good fortune, in an authoritarian cul-de-sac.
Greater possibilities for a revolution towards a truly libertarian communism arise out of unstable capitalist societies than from the far more stable totalitarian dictatorships which are the progeny of Marxist/Leninist revolutionary praxis. The Marxist failure to take the problems of political centralization seriously is clearly revealed when Marxists attribute oppression in the present-day Soviet Union to
‘socialism in one country’ — as if there would have been more direct workers’ control and workers’ freedom in the world had the centralized power of the Bolsheviks and, in particular, that of Lenin and Trotsky extended over the whole surface of the globe!
By focusing too much attention on the economic structure of society and insufficient attention on the problems of political power, Marx has left a legacy we would have done better not to inherit. The perceived need for authoritarian and centralized revolutionary organization is sanctioned by Marx’s theory because his theoretical subordination of political power to economic classes apparently renders post-revolutionary political power unproblematic. Hence, not only does authoritarian Leninism arise out of the Marxist theory of the state, but so does the blindness of Marxists to the true reasons for the failure of the Russian Revolution. And the consequences of that blindness are disastrous. Instead of learning from the Russian failure so as not to repeat it, Marxists are led by their theory to seek even more widespread political centralization in order that the power of the party is not limited to ruling one isolated country. Their ‘cure’ is to spread the disease to epidemic proportions.
This is not to argue, as bourgeois critics of Marx might, that western capitalism should not be overthrown because the societies which so far have followed it are, at least in terms of individual freedom, a regression. It is, instead, to argue for a prophylactic for the Marxist syndrome. It is to argue that such regression can only be avoided if adequate attention is paid to the political problems which face revolutionary strategy. It is to argue not against revolution, but against ‘revolutionary’ praxis employing central authority. It is to argue that any revolution must remain in the hands of the mass of people and that they must be aware of the dangers of allowing power to fall into the hands of a minority in the course of the revolution. Latent within Marxist theory, as we have argued, is the tacit condoning of political inequality in the course and aftermath of revolutionary praxis. Only when such inequality is openly and widely rejected can there be any hope of a libertarian communist revolution. The lesson to learn is that we must oppose not revolutionary practice, but authoritarian ‘revolutionary’ practice. Such authoritarian practice will continue to prevail in revolutionary circles as long as the Marxist theory of the state and the corresponding theory of power remain above criticism within them.
In the final chapter we attempt to draw together the alternative stance which we have been steadily expounding in opposition to Marxist theory.
Conclusion: 6. A Radical Alternative
The arguments which we have presented attempt to demonstrate that the Marxist faith in a coming millennium is wholly unwarranted. These arguments have not taken the form of opposing Marx’s predictions with empirical studies which ostensibly refute those predictions. That would be the method characteristic of bourgeois critics. Instead, they have taken a quite different form. The critique of Marx which has been developed here is one which has attempted to cast doubt upon Marx’s conclusions, even given the validity of his premises (although some of those premises have had to be rejected in the course or our discussion). We can broadly conclude that even if the materialist conception of history is valid, Marxists are unjustified in their faith in a coming communist society.
We believe that it has been demonstrated that Marx’s conclusions do not follow from his premises and that certain features of capitalism which were visible to Marx vitiate his predictions. For instance, Marx has apparently discovered a dynamic in history which involves the economically ascendent (in certain circumstances) becoming the politically dominant. However, within this dynamic whereby the dominant economic class in capitalism (the bourgeoisie) consolidate their position is a process which undermines the power of the proletariat while at the same time brings to the fore a class comprising the technically skilled. With the ascendency of a new techno-bureaucratic class, any belief in the necessity of a rise to power by the proletariat must be questioned.
But unlike James Burnham, for example, we do not criticize Marx because such an eventuality has occurred — an eventuality which, it might be claimed, was unforeseeable by Marx. The need to develop the productive forces and, correlatively, the need to promote a class which could design new forces of production are not only consistent with Marx’s theory, they are entailed by it. In other words, we have not opposed contingent eventualities to Marx, we have offered a critique of Marx which is comprehensible in terms of his own theory. We have offered an ‘immanent’ critique of Marx. The strength of an immanent critique over an empirical one is that empirical eventualities can always, in principle at least, be dealt with in an ad hoc fashion. As an illustration, the problems which arose in Russia after the 1917 Revolution when presented as empirical ‘refutations’ of Marx can always be answered in an ad hoc way: Marx did not deal fully with the question of premature revolutions; Marx did not in any detail examine the status of a revolution in a single country. Consequently, ‘premature’ revolutions or ‘socialism in one country’ present abnormal extra-theoretical cases that do not trouble the theory. If, on the other hand, one offers an immanent critique, if one shows that the problems Russia faced after 1917 were consistent with theoretical expectations when the theory is presented in a form cleansed of errors or unjustified claims, then ad hoc defences are precluded.
This immanent critique, then, purports to show that Marx arrives illegitimately at his conclusions about future social structures. What happens if Marx’s theory is modified so as to accommodate our criticisms? What happens if we rewrite Marxist theory so that the ascendency of a techno-bureaucratic class is expected, rather than a proletarian revolution? Do we then have a materialist conception of history which is capable of accurately predicting certain features of the future of any society? These questions lead us to some interesting possibilities.
Let us call Marx’s theory modified so as to accommodate our criticisms ‘the modified version of Marxism’ (MVM), and let us call Marx’s theory as he presented it ‘the traditional version of Marxism’ (TVM). The TVM tells us that the ‘natural’ course of historical development is such that a communist age will dawn where the workers will be in control of the means of production. This is represented in Figure 6.1a. At present, we occupy time Nt within the capitalist mode of production. Shortly there will be a revolution at time Rt, and after a transitional period we can expect communism to be fully established. This predicted future occurs at time Pt.
We, however, have rejected these conclusions. We have argued that the materialist conception of history when it is cleansed of invalid arguments and unsupported assumptions should instead predict a future which does not involve any significant increase in direct workers’ control of the means of production. This is represented as time Ft in Figure 6. lb. As we would appear to be in fact heading for a post-capitalist society consistent with that occupying Ft in Figure 6.1b, does this mean that the MVM is the correct theory of history? We wish to reject this suggestion. Figure 6.1c represents a scenario where at time Rt the workers begin to utilize an alternative technology which is appropriate to direct workers’ control and, partly as a consequence, at time At find themselves in direct control of the means of production.[125] A future communist society based upon technology further developed within this mode of production (specified by direct workers’ control) leads to a mature libertarian communism at time Ct. But this is only possible because the ‘natural’ course of history has not been encouraged, but wholeheartedly opposed. The new technology in this scenario has been implemented because the technological trends of capitalist society have been decisively and consciously rejected. Such voluntaristic action seeking to change the direction of technological and economic trends in capitalist society stands outside the scope of Marxist revolutionary praxis based upon the materialist conception of history.

What needs to be seen is that the TVM opposes such voluntaristic efforts because it sees a communist future (Pt in Figure 6.1a) as resulting from the capitalist development of technology and the economy. Consequently, from the projected standpoint of this predicted future the rejection of capitalist technology is condemned as romantic or reactionary. To be exact, the TVM opposes precisely the kind of revolutionary praxis which is the necessary condition for the scenario presented as an alternative to the future which the MVM leads us to expect. So, remarkably, to the extent that the TVM is successful in undermining the kind of radical approach to technology necessary to engender direct workers’ control of the means of production (as represented in Figure 6.1c at time Rt), then the MVM will successfully predict the future!
It is clear, therefore, that we must reject the TVM. And to the extent that the MVM offers us no hope we must reject that theory too. Furthermore, the MVM, in its successful predictions due to widespread acceptance of the TVM amongst the radical Left, reinforces a materialist conception of history and the rejection of voluntarism enunciated by the TVM. If the MVM were dominant amongst the Left, it would consign radical critics of capitalism to the role of helpless observers of the growth of a techno-bureaucracy. James Burnham is a case in point. Therefore the MVM is also an obstacle to effective revolutionary praxis. Only after we have introduced extra-economic factors as major revolutionary protagonists can we escape the gloomy future which Marxism offers.
Which factors do we have in mind? A cultural critique of the technology fetishism of bourgeois and Marxist alike, and a political thrust taking into consideration political organization and theory which are consistent with direct workers’ control. And to be more theoretically tendentious, factors which take full cognizance of the importance of the politico-ideological substructure of society. The economism and materialism of Marxism frustrate revolutionary potential by relegating these factors to roles subordinate to economic and technological development. Marxism stands in the way of revolutionary action necessary to change the course of history. And only by changing the course of history from that which beckons, only by opposing the historical direction of capitalist and socialist development, can we hope to arrive at a truly libertarian communist society.
6.1 Technology, Ecology and the Third World
In what specific ways, then, does Marxism stand in the way of the revolutionary praxis necessary to realize libertarian communism? The most obstructive thesis which Marxism puts forward is its most central substantive claim: it is necessary (and according to some interpretations, sufficient) for the attainment of communist society to develop capitalist technology to the full — this technology providing the material base for the new society. Marx was of the opinion that a communist society is not possible unless the means of production are well developed.[126]
But why should this be so? Why could a less technologically developed society (other than primitive communism) not experience communist relations? The professed answer is provided by Engels:
.. all historical antagonisms between exploiting and exploited, ruling and oppressed classes to this very day find their explanation in this same relatively undeveloped productivity of human labour. So long as the effective working population were so much occupied with this necessary labour that they had no time left for looking after the common affairs of society — the direction of labour, affairs of state, legal matters, art, science, etc. — the concomitant existence of a special class freed from actual labour to manage these affairs was always necessary; by this means it never failed to saddle the working masses with a greater and greater burden of labour to its own advantage. Only the immense increase of the productive forces attained by large-scale industry has made it possible to distribute labour among all members of society without exception, and thus to limit the labour-time of each individual member to such an extent that all have enough free time left to take part in the general affairs of society, whether theoretical or practical (1976, p. 233).
Two points need to be made with respect to this argument. First, the development of an extremely complex technology militates against ‘the direction of labour’ and the pursuit of ‘science’ being widespread. A techno-bureaucracy will tend to arise in societies with well-developed technologies — ‘a special class free from actual labour’. Such a class is in a position to generate or stimulate further wants and prevent the emergence of the post-scarcity state necessary, according to Engels’ argument, for communism.
Yet without the certain prospect of a post-scarcity state free from class domination, the development of capitalist technology is not revolutionary per se. It is, however, counter-revolutionary if an alternative technology is required in order for there to be any serious chance of direct workers’ control (see Illich, 1973, pp. 11–12; also Dickson, 1974, p. 93). Marxism, in categorizing such technology as ‘romantic’ because it is not as productive in terms of labour expenditure as capitalist technology, would occupy a counterrevolutionary position.
Second, Engels claims that in pre-communist societies ‘the working population were so much occupied with their necessary labour that they had no time left for looking after the common affairs of society’. An alternative technology, if it were accompanied by an appropriate lifestyle that was less consumer-oriented, would require less ‘necessary labour’. In which case, why should it be presumed that such a high degree of productivity is required to install communism? If the cause of excessive labour-time is political or ideological, ‘will’ could in principle lead to the overcoming of the domination of the ‘special class’ at virtually any historical phase[127] — hence the validity of ‘Utopian Socialist’ approaches. The remaining question would concern the ‘conditions’ necessary for the development of such a ‘will’. We have argued that they are not met by economic crises engendering immiseration, nor by the centralization of political or technological decision-making, whether of the nature of the formation of a revolutionary party, or of ‘national capitalism’.
The formation of a revolutionary ‘will’ which is appropriate to the establishment of a libertarian communism involves the widespread acceptance of the need for the workers to be in control of the revolutionary process themselves. Direct workers’ control is necessary both in the revolutionary process and in the future postcapitalist society if a new elite is to be prevented from emerging.[128]
Clearly, if it is not necessary to develop to the full the technology which is promoted in the capitalist mode of production, and if, moreover, technology developed by capitalism obstructs workers’ control, then that area of the world which is of prime importance for our revolutionary concerns becomes the ‘underdeveloped’ regions. Their potentially prime role would appear to be obscured by Marxist analysis, given its interest in high-technology. The obvious exhortation to the Third World which one would expect to come from Marxism is to develop capitalist technology and capitalist relations to the full as quickly as possible.
But even many of those who, such as André Gunder Frank, warn against such an exhortation with regard to the further development of capitalist relations because of structural underdevelopment nevertheless propose solutions to Third World problems which still involve dangerous Marxist assumptions (see, for example, Frank, 1967, pp. 119–20): that immiseration leads to revolutionary activity; that the ultimate problem is the lack of development of the productive forces (no regard being paid to what type of productive forces need to be developed); and that a Marxist leadership would be interested in establishing a decentralized, libertarian communist society which maximized direct workers’ control, or would be interested in encouraging the development of a technology conducive to it.
A radical alternative to Marxist theory needs to be put forward. One of its features must be a stress on self-help in the Third World.[129] If a libertarian communist society is to be established in such parts of the world, then the people in those areas need to control a technology appropriate to the required society. They also need to control the social relations which such a technology might facilitate — relations similar to those characteristic of workers’ co-operatives or communes.[130]
We do not reject technology as such. Our attitude is not ‘romantic’ or ‘petit-bourgeois’. Instead, we advocate a change (where possible) in relations of production in advance of the development of a technology which requires a techno-bureaucratic elite to run it and develop it further. Once socially libertarian and co-operative relations have been established, a technology appropriate to those relations can be further developed — a technology which is amenable to direct workers’ control and consistent with maintaining the new revolutionary relations. The acceptance of alternative technology is easier in advance of the development of a technology which is appropriate to capitalism and its emerging techno-bureaucracy. By arguing that ‘advanced’ technology must be developed first (in line with Hegel’s Phenomenology, which claims that alienation is prior to and necessary for re-appropriation at a higher level), Marx encourages technology and relations to develop which are strongly obstructive to libertarian change.
The revolution is required, therefore, not after the development of the productive forces by capitalist relations in any society, but in ‘early’ societies with the greatest prospect of accepting and further developing technologies most appropriate to direct workers’ control.[131] And if such technologies can be encouraged in the Third World, and to the extent that they would involve the region which accepted such technologies striving towards self-sufficiency and thus ‘dropping out’ of the international capitalist system, then there would be important ramifications for ‘developed’ countries deprived of their raw materials. They, too, would have to turn more towards alternative technology.
Let us pursue these thoughts a little further. Marx presumed the necessity of the fullest development of capitalist technology prior to the socialist revolution. If the First World proletariat are bought off by the wealth accruing to them as a result of the structural inequality in the world economic system, then Marxism must and does demand the development of capitalism and its technology in the Third World so as to generate the real revolutionary proletariat there. But does this make any sense? According to Barbara Ward and René Dubos, approximately ‘75 per cent of the world’s non-renewable resources’ are diverted ‘to developed societies even though they contain less than 33 per cent of the world’s peoples’ (1972, p. 175). Are we expected to believe that all our problems would be solved as a result of the worldwide expansion of such production and subsequent increase in the consumption of resources? And as the editors of The Ecologist stress: ’Indefinite growth of whatever type cannot be sustained by finite resources’ (1972, p. 17). They see small, self-sufficient communities as the only answer to the environmental problem (see ibid., pp. 52–3).
One thing is clear: any long-term social solution must be ecologically stable. Neither capitalism (with its ravenous consumption of resources and energy, and its correlative emission of pollution), nor Marxian communism (with its need for wealth to flow in abundance) seem to be able to meet this requirement. If communism is to be based on the growth of production measured in terms of the efficiency of labour, then communism too must be highly consumptive of resources — especially energy. But given finite resources, a Marxian communist revolution based on abundance entails poverty for future generations. Today’s possibility of communism based on highly productive technology and high consumption of resources could make it impossible for future generations to live in anything but abject poverty. Clearly, a revolution based on less productive but also less consumptive technology is the precondition for a decent standard of living and, if scarcity is a problem, for an egalitarian way of life for future generations. What is more, a revolution based on less emission of pollution (which is unlikely unless energy consumption is reduced) is a precondition for life itself for future generations. For both political and environmental reasons, the Marxist road to revolution must be resisted.
And when it is, a whole new revolutionary alternative begins to open up — an alternative which is closer to ‘green’ and anarchocommunist political theory than it is to Marxism. In which case, what about the standard objection to anarchist ‘utopian’ visions? — namely, that anarchism might make sense in small communities but these have been left behind by industrialization (see Miller, 1984, pp. 174–5, 181–2). What is needed is something of a Copernican revolution in the treatment of this issue — an issue raised by liberal and Marxist alike in their response to the threat anarchism poses to their ideologies. The objector’s ‘Ptolemaic’ view consists in taking where he or she stands (the industrialized West) as the centre of the universe. If we take a vantage point outside of this bounded view, then anarchism cannot be so easily dismissed. First, only a minority of the world’s population experience the social and industrial way of life of the developed West — the way of life which makes anarchism appear ‘utopian’. Anarchism cannot be dismissed so easily as a solution to the political questions confronting those who inhabit different technological and geographical realms. It cannot be dismissed for those who are in a position to make use of an alternative technology in decentralized communities.
Second, when we take a position outside of the capitalistically and high-technologically developed West, we can begin to ask fundamental questions about the relationship of the developed nations to the rest of the world. Consider energy use. E. E Schumacher calculates that if we ‘define as “rich” all populations in countries with an average fuel consumption — in 1966 — of more than one metric ton of coal equivalent... per head, and as “poor” all those below this level’ then ‘the average fuel consumption per head of the “poor” is only... roughly one-fourteenth of that of the “rich” ‘ (1974, p. 20).[132] And the ‘poor’ constitute seven-tenths of the world’s population! Can the ‘poor’ afford to pay for the lifestyle of the ‘rich’? If the ‘poor’ reject their exploitation by the ‘rich’, then the condition of the ‘rich’ (which supposedly precludes anarcho-communist forms of social organization) is what is to be consigned to the dustbin of history.
The ethnocentric apologists, both liberal and Marxist, witting or otherwise, of the ‘rich’ countries all raise the question of how anarchism can work in a ‘developed’ society. But overriding questions remain unasked: Are we to attempt to expand capitalist production world-wide and precipitate ecological disaster?[133] If not, are we content for the exploitation of the Third World by the ‘advanced’ countries to continue unabated (see Lappe and Collins, 1982)? If not, how can we maintain ‘our’ technology and forms of production when it is dependent upon imports from the Third World (see PP, p. 105)? If we are to do so, how are we to prevent exploitative relations between industrially ‘advanced’ and ‘undeveloped’ countries? How is the Third World to prevent us exploiting it when we are at the top of the industrial ladder? If this involves an international division of labour, how are we to effect universal direct workers’ control and ensure equality? If we maintain our standard of living based on cheap imports from the Third World, how is the Third World to improve its condition (see Dammann, 1979)? If we do not, how is our ‘advanced’ technology to remain in use? When these questions are asked seriously, the standpoint of the developed West must be rejected, and its objection to ‘utopian’ anarcho-communism is thus silenced.
Unfortunately, this being said, one possibility which might arise should Third World countries attempt to ‘drop out’ of the capitalist system is that the ‘developed’ nations, in order to protect ‘their’ economic interests, may seek to interfere militarily in countries developing in a radical manner. This means that an effective revolutionary strategy needs to have two prongs. First, the poor in the underdeveloped countries must be given adequate access to alternative technology, and must be encouraged to form cooperatives which can most effectively utilize such technology. They must also fight for the re-appropriation of their resources, not only against the ‘rich’ countries, but also against the rich in their own countries. Second, radicals remaining in the ‘rich’ countries must inhibit the ability of these countries to disrupt radical self-development in the ‘poor’ countries, and they must discourage the ‘rich’ countries from propping up Third World elitist systems.
This second prong itself requires two thrusts. First, the possibility of direct military intervention can only be reduced if there is a widespread refusal (such as the draft-dodging which became prevalent in the Vietnam War) to participate in military activity, and if opposition to military actions is on so large a scale (such as the public opposition to the use of nuclear weapons against North Vietnam) that for the state to attempt them would be to precipitate a crisis of hegemony. The second thrust involves reducing the need for developed nations to intervene in the Third World. A large-scale switch in demand to home-produced goods and away from goods which require imports of cash crops from the poorer countries would alter the economic pressure on developed nations to maintain international exploitative relations. One example is a reduction in demand for meat, which is an extremely inefficient way of consuming protein.[134] This would lead to a reduced demand for the importation of protein from the underdeveloped nations. And this could then reduce the need for developed states to support elites in the Third World which oppose land reform.
But how can the majority in the First World be persuaded to act in such a way?[135] Partly by showing the connections between their relative affluence and Third World misery (something few wish to feel responsible for), and partly by showing how their lifestyle is ultimately unrewarding and harmful to themselves (see Dammann, 1979). Moreover, the prospect of environmental disaster might just provide adequate motivation for self-change. And it is the technology (both peaceful and militaristic) developed in capitalism which, rather than promising world-wide liberation, threatens world-wide disaster. Yet it is this technological development which Marx considers to be the material base of libertarian communism.
6.2 An Alternative Theoretical Approach
Marx’s theory of history blinds Marxists to the revolutionary potential of alternative technology in the Third World, it blinds them to the problems of political power within revolutionary struggle, and it blinds them to the possibility of a new class arising out of the development of capitalist technology and forming new antagonistic modes of production.[136] Marx’s theory is taken by the radical Left to be the master key to history; unfortunately, it is a key which locks more doors than it opens.
What, then, might an alternative theory look like? First, it would have to give greater priority to the force which political and ideological interests exert on technical development. Thus, it would have to place in a theoretically central position what we have termed the ‘politico-ideological substructure’. It would need to reject Marx’s consummatory approach to history, which led him to overlook the possibility of voluntaristically inspired changes in the direction of history away from the social development induced by the technical change promoted by the dominant economic class in accordance with the confinements of the prevailing politico-ideological substructure.
How, then, is the concept of a politico-ideological substructure to help the radical Left? It will be recalled that in section 2.8 we considered substructural elements to be determinant with regard to which social instance is dominant. In capitalism, economistically inspired perceptions and goals determine that the economy is dominant diachronically, i.e. that the economy has the major dynamic with regard to historical transformation. But the MVM analysis reveals that dynamic to lead not to a decentralized libertarian communism, but to a highly centralized, techno-bureaucratic society. The value of revealing the centrality of the politico-ideological substructure is that if radicals oppose the direction that the dominant instance is taking, then the substructural support of that instance’s dominance can become the major target for attack. To be less abstract, conceptions of legitimate authority and property rights, along with uncritical acceptance of high technology, must be undermined by the Left. In doing so, the dominance of the economy and the direction its dynamic pushes in are attenuated. Remarkably, the economistic ideology of capitalism is so widespread that it infects not only its supporters, but also many of its critics. Marxism is no less economistic than monetarism.[137]
However, there is an objection to Marx’s base/superstructure distinction which appears equally applicable to our own theoretical claim that the politico-ideological substructure is determinant. Peter Singer argues that interpretations of the base/superstructure distinction which accord a degree of influence over the base by the superstructure fall into an error reminiscent of the chicken and egg problem. If the base causally affects the superstructure and the superstructure exerts causal influence over the base, then it makes no sense to say that one or the other is primary (see Singer, 1980, p. 40). This criticism could also be applied to our alternative theory by saying that the politico-ideological substructure cannot be determinant if it influences that which has some influence over the substructure itself. (It will be recalled that we conceded that the social structure in developing can alter the form of the substructure.)
But how is this problem to be conceptualized? Let us consider one way of conceptualizing the problem. At a particular moment in time the substructure determines the character of the base and vice versa (see Figure 6.2a). This seems susceptible to the chicken and egg criticism. Well, let us consider a different conceptualization. At one moment the substructure influences the base, and at the next moment the reverse is the case (see Figure 6.2b). Here, we clearly have a chicken and egg story. However, it will be recalled that we considered the state to be rather like a man with a crutch in so far as being able to stand on less than all of its available supports, the state (like the man) is able to ‘adjust’ the support it does not rest on at that point in time. This approach can be applied to the social formation as a whole. At any particular moment, one or more elements of the substructure enable an instance of the structure to transform any element of the substructure which is currently unnecessary for the perseverence of that part of the social formation. The substructure gives the instance power, and the instance, by means of that power, can transform the rest of the social formation (see Figure 6.2c). In capitalism, the economy might be determined by the substructure to be dominant with respect to transformative power. With different determinations (i.e. enabling and transformative), the chicken and egg problem is avoided. And we can say that the substructure is ultimately determinant when it both allocates and enables transformative power.

It should now be evident why we are so interested in the politico-ideological substructure. Basically, because the social structure ultimately rests on it, it is here that the social formation can be ruptured — hence our stress on enabling support. So, the direction of history can be altered if the substructural support of the dominant social instance is transformed. For example, take the fetishism of technology presently underlying centralist economic development. The growth of interest is alternative technologies (that are suitable for Third World application) in today’s Green movement cannot be explained in terms of technological developments alone. The desire for a decentralist technology and the voluntaristic effort to research into and implement such a technology only make sense in terms of a rejection of both the ideology of consumerism and the politics of centralization. It is part of a cultural shift which must be located substructurally. But with the alternative political and social commitments which such a cultural shift can spawn, new technologies could be fashioned appropriate to those commitments. We are of the opinion that a widespread rejection (which the Green movement could stimulate) of the fetishism of technology would have far-reaching implications for the direction taken by the economy.
So, a new theory for the Left is required if it is to avoid the pitfalls of Marxism, and if it is to be appropriate to the Green alternative to authoritarian socialism. Marx’s theories blinded him to the issues which take the centre of the stage for the Green movement. (On its concerns see, for example, Porritt, 1984.) Marx’s consummatory theory of history prevented him from viewing capitalism as a cul-de-sac. Instead of seeing the revolutionary potential of decentralized rural communities, he deemed them retrograde. Similarly, Marx’s approach to the question of political power prevented him from being aware of the dangers of a centralized party, and his class theory blinded him to the problems of technocracy.
We have examined Marx’s theory of history and found that if a Marxist strategy is adopted, then what the future may well hold is a high-technology society dominated by a techno-bureaucracy. We have examined Marx’s economic theory and found that capitalism cannot be presumed to self-destruct and bring in communism; it can form a stable ‘national capitalism’ administered by a technobureaucracy, and merely following Marxist strategy will encourage such an eventuality. We have examined Marx’s class theory and found that by restricting our attention to its (economically conceived) propertarian groupings we run the risk of overlooking the emergence of a techno-bureaucracy. We have examined Marx’s political theory and have noted that the failure to take the state seriously opens the door to a state-backed, techno-bureaucratically managed society. Marxism is not dangerous on only one point; each aspect of the theory could lead us into the arms of a techno-bureaucratic society. Consequently, we are not impressed by claims that authoritarian socialism arose accidently in Russia. Its rise is intrinsically linked to the inadequacies of Marxist theory. Hence, Marxism must be decisively rejected by the radical Left.
6.3 A General Theory of Revolution
What is now required is to draw together various features of our critique of Marx so as to provide an alternative theory of history. In order to do so, let us return to our discussion of historical materialism. G. A. Cohen, in the most acclaimed recent attempt to defend Marx, sought to build a coherent account of Marx’s theory of history upon two factors:
(1) human rationality; and
(2) a situation of scarcity.
Briefly, Cohen argues that it is rational to develop the forces of production when faced with a situation of scarcity. This underlies the development thesis which states that the forces of production tend to develop through time. Given a limited compatibility between types of forces and relations of production, then it is presumed that the relations of production change as a result of the development of the productive forces. The explanation of the relations of production in terms of the development of the forces of production is referred to as the primacy thesis, and is considered by Cohen to be Marx’s central historical claim (see Cohen, 1978, passim).
More recently, however, Cohen has expressed doubts about the ability of traditional Marxism to account for all interesting social features (we might mention nationalism, ethnicity, gender relations, and so on):
Marxist philosophical anthropology is one-sided. Its conception of human nature and human good overlooks the need for self-definition, than which nothing is more essentially human. And that need is part of the explanation of the peculiar strength of national and other self-identifications, which Marxists tend to undervalue (1984, p. 25).
Perhaps by taking this feature into consideration, Marxists can account for the social feamres which seem resistant to treatment by Marx’s theory? This would provide us with a third important factor:
(3) self-identification in the context of a community.
But it is methodologically suspect to present a model of historical transformation based upon two main factors and then later introduce a third to deal with anomalies. This is because it might not be possible to construct the model if the third factor is present at the beginning.
Consider what we get if we use factors (1) and (2) only. It is unquestionably rational for individuals in such a case to develop the productive forces if it is within their capability to do so. If this necessitates changing the relations of production because different relations of production facilitate the development of the productive forces, then it is rational for them to be changed. If the new relations of production require a legal and political ‘superstructure’ to stabilize them so that they can effectively develop the forces of production, then it is rational for such a ‘superstructure’ to arise. In this story factor (3) plays no role (see Figure 6.3a).
Now consider a situation where all three factors are in play and are taken into consideration at the beginning of the account. Factor (3) leads us to suspect that there are different groups with which individuals identify. In this situation is it always rational to develop one’s productive forces? No, because in doing so one might thereby attract the attention of a neighbouring group which procedes to plunder the extra produce. What is more, it might be rational in a situation of scarcity to oppress another group in order to extract and consume its surplus. This would generate a class society with oppressive relations of production, the specific nature of which possibly being limited by the level of development of the productive forces.

This pair of antagonistic groups could, though, regard themselves as a single (albeit class-divided) group vis-à-vis other (perhaps similarly class-divided) groups. This amalgamated group might then rationally choose to oppress another such group. The three factors together thus generate the possibility of a class-divided imperialist nation.[138] But in order to increase the chances of effectively oppressing another group, it is necessary to develop the forces of coercion. However, this is only possible if there is a surplus produced above immediate subsistence requirements.
Now, an executive of such a national group will be backed by members of the dominant economic class if it ordinarily protects the relations of production they require. Moreover, this executive, which leads the military apparatus, will ordinarily be ‘legitimized’ in the eyes of all its subjects by adopting an imperialist posture. Consequently, it will support relations of production compatible with extracting the maximum politically and ideologically safe surplus from the workers in order to develop the forces of coercion — for example, pay for a standing army, finance for weapons research, etc. Of course, such an executive along with its repressive and ideological institutions (i.e. the state) would then be in a position to regard itself as a distinct group with its own interests. It would desire to consume the surplus of others and retain dominance over them. And this would be facilitated by the forces of coercion.[139]
Today, we might regard this abstract account as being exemplified in the nation-state passing laws and enforcing those relations of production which at the present time are most conducive to the development of the productive forces — such a development generating the surplus which is a requisite for the development of the state’s military capacity. This military capacity contributes to the maintenance of internal order, and allows expansionism to meet scarcity — either by the seizure of land possessing the raw materials necessary for production, or by the conquest of a labour force. (Think of Hitler’s policy of Lebensraum and his wish to turn the Slavs into a slave race.) And even if one’s own country is not intent on expansion, the threat of another country being so is sufficient to drive the process described.
In a word, in order to develop the forces of coercion required to oppress another group so as to meet scarcity, or to resist another group and fend off the imposition of greater scarcity, it is necessary for the state to back relations of production required for the development of the forces of production so that a surplus can be extracted to finance such a development of the forces of coercion (see Figure 6.3b). Here we have the ‘superstructure’ choosing relations to develop the forces of production, and doing so for its own interests. What we have done is, first, show that Cohen’s account is questionable when all three of his factors are taken into consideration at the inception of the historical model and, second, present a model of the political ‘superstructure’ determining the relations of production (and thus transforming the mode of production) — a model which, if instantiated,[140] falsifies historical materialism. And we have done so by arguing from all three of Cohen’s own factors, whereas Cohen only takes into account two of them in the production of his model! This surely makes our abstract model a superior one. It explains the development of the productive forces and the transformation of the relations of production, but it also explains the developments of class, the nation-state, international conflict and the forces of coercion.
However, to make the model more concrete and more consistent with the real world, several other features need to be added. There are times (for example, during a period of profound detente) when the forces of production could develop without a specific military stimulus — in other words, when factor (3) does not generate international conflict. (This possibility is incorporated into Figure 6.3b.) Consequently, Cohen’s model (Figure 6.3a) could be thought of as something of a special case of our more general model. Nevertheless, the relations of production would still be enforced by a state whose own interests were served by the preservation of those relations which facilitated development. The importance of this is that the state cannot be reduced to a mere executive committee of the dominant economic class, since the state might destabilize those economic relations which benefit the dominant economic class should a set of relations which are more productive or more able to develop the forces of production become viable (perhaps as a result of the development of the forces of production, e.g. techno-bureaucratic relations). So, even if the forces of production limit certain relations of production and render others viable, the choice of relations by the state makes what is ‘superstructural’ according to the Marxist account in fact explanatorily primary.
If the state ‘chooses’ relations of production by deciding which ones to stabilize or promote, then it is, clearly, more trans-epochally substantial than Marxists acknowledge, and the claim that it is only transitional in a post-capitalist period becomes exceedingly questionable. (This also explains how a techno-bureaucracy can come to have economic power — the bureaucratic state prefers to ‘choose’ relations of production requiring technocratic control, rather than workers’ control.)[141] This notwithstanding, we are not proposing that the state be thought of as being all-powerful. So far we have merely presented an abstract account of historical transformation. We have omitted from the historical model as it presently stands our earlier claim that the state rests on a politico-ideological substructure. It is such a substructure which ultimately both enables and limits the power of the state.
The rationality of conquest can encourage ideological support for the state and militate against international worker solidarity — many US workers, for example, support the Rapid Deployment Force. But it is only one element upon which the state can rest. The state can also rest on direct military coercion and on the extraction of a surplus which can buy the support of the military. But in resting on substructural elements the state is not free-floating. In general, for its own good, it has to keep its army loyal, its ideological hegemony preserved and the economy functioning well.[142] This means that it ordinarily occupies a position balanced between an ostensibly cohesive role (to maintain hegemony) and one where it must protect the interests of the dominant economic class (to maximize the extraction of surplus available to the state). When it fails to maintain a significant level of substructural support, then the government is liable to be overthrown. However, if the substructure is not radically transformed, there remains the possibility of the state continuing in an altered form and headed by a new government. It is in this sense, then, that we should often think of an ascendent economic class enjoying political power — it benefits from new legal relations, and may even have some of its members in the new government.[143]
This brings us to a crucial difference between our approach and that of Marx and his epigones. We have stressed the importance of the politico-ideological substructure. The political component includes the situational logic of the conscript army example. We can also regard the situation of competing nation-states as an example of situational logic. Clearly, this cannot be avoided unless the diffidence engendered by isolation is overcome. This requires the building of trust and solidarity through community. Such mutual trust among the oppressed and the overcoming of the ideological components of the substructure (namely, beliefs in authority and private property) direct us to a change in consciousness as the major condition for liberatory action. But this appears subject to the criticisms levelled by Marx and Engels against the Young Hegelians. Can these criticisms be withstood?
In The German Ideology, Marx and Engels ridicule those who would change the world by changing ideas:
Once upon a time a valiant fellow had the idea that men were drowned in water only because they were possessed with the idea of gravity. If they were to knock this notion out of their heads, say by stating it to be a superstition, a religious concept, they would be sublimely proof against any danger from water. His whole life long he fought against the illusion of gravity, of whose harmful results all statistic brought him new and manifold evidence. This valiant fellow was the type of the new revolutionary philosophers in Germany (GI, p. 37; cf. Stirner, 1971, p. 49).
The thrust of Marx’s objection is that reality will not ‘collapse’ merely by changing the way one thinks about it. Perhaps God will lose His power over me if I deny His existence (and correlatively His authority), but neither the state nor bourgeois property relations will lose their power over me in the same way.
But is it accurate to regard the state, for example, as analogous to gravity? Most of us would unhesitatingly agree with Marx that gravity is not dependent upon what we think. Is the existence and power of the state similarly independent of what we think, though? If others continue to believe in the state’s legitimacy and so respect its claim to authority that they carry out its commands, then my denial of its legitimacy will be of no avail when I encounter its officers who maintain its institutions and put its intructions into effect. My rejection of the state is irrelevant as long as others think that they ought to abide by its commands, and do so. But what if we all reject the state’s claims to legitimacy? And what if we all overcome our diffidence so that its power cannot rest upon the logic of our isolated situations? Is it still obvious that Marx’s critique of the Young Hegelians is watertight?[144]
The strength of Marx’s position lies in his theory of the coming proletarian revolution. Because he believes that there is an historical dynamic which will establish an egalitarian society, he can afford to reject a stress on the need for a radical change of consciousness, such as is demanded by Stirner. But we have argued that Marx has failed to establish that there is any such dynamic of liberation within the capitalist mode of production. Consequently, an attack on the ideas which underlie the power of the state must be put back on the revolutionary agenda. However, we must also go beyond radicals such as Stirner because we have also acknowledged the importance of situational logic. This requires collective action if its results are to be successfully overcome.
However, this does not mean that until there is collective action, one cannot engage in revolutionary activity. The complement which I face may well be invulnerable to any change in my ideas. It may, by and large, be resistant to changes in my behaviour. But the complement I reside in and which another faces alters in some small degree as a result of any change in my behaviour. My dissidence may, in consequence, have some significant effect upon others. To reject the conceptions which support state power, to reject authority and claims to private property and, as a result, to alter one’s behaviour towards the state and capital, in short, to change oneself is to embark on the road to revolution.
Nor is it essential that capitalist relations be overthrown all of a sudden in a mass revolutionary upsurge. Co-operative relations between autonomous individuals[145] can arise within, outside and in spite of the competitive structure of capitalism. Highly centralized, competitive societies are characterized by uncaring, egoistic behaviour — behaviour which can hardly act as a basis for a cooperative society. Consequently, changing such behaviour by engaging in communal experiments and developing workers’ cooperatives (both inside and outside of the developed world) is subversive for the capitalist substructure. It breaks down the hold of propertarian and authoritarian ideology, and it provides the confidence in others which transcends the situational logic working on isolated, diffident individuals. Hence, constructive attempts to establish workers’ co-operatives and alternative communities in any part of the world should not be dismissed as ‘utopian’ or irrelevant. At the very least, they will allow the participants to change themselves. And changed individuals are the real base of a new society.
6.4 The Ageing of the Marxist Paradigm
It should be noted that the inadequacies in Marx’s theory to which we have drawn attention have been revealed principally because we adopted the standpoint of the radical critic. The major reason why an alternative theory to Marxism is essential for the radical Left and why a radical critique needed to be deployed against Marx is that his problem-laden theory has been more or less uncritically assimilated by the radical Left. This assimilation has been so complete that many alternative strategies are precluded. Radicals cannot progress theoretically or practically until Marxism is abandoned.
Earlier we commented on the possibility of a ‘Copernican revolution’ with regard to viewing the problems of today. This is suggestive of modern developments in the philosophy of science. This is doubly relevant in so far as Marx considered himself to have developed ‘scientific socialism’. What mention of a Copernican revolution suggests is Kuhn’s notion of a paradigm shift (see Kuhn, 1970). Marxism has been the paradigm of the radical Left. But it is a paradigm which has increasingly resorted to ‘degenerating problem shifts’ (see Lakatos, 1974, especially pp. 100–1; also van Parijs, 1980). For example, first Marxism predicted revolution in the most advanced capitalist nations. Yet revolutions have only broken out in relatively undeveloped countries. With regard to the Russian Revolution, this was dealt with by an ad hoc hypothesis which claimed that revolutions could be led by professional revolutionaries. This Leninist thesis, however, was incapable of dealing with the rise of Stalinism. Consequently, another ad hoc hypothesis then arose — the Trotskyist thesis that ‘socialism in one country’ created the difficulties. And so it continues.
This suggests a possible ageing of the Marxist paradigm: the time might be ripe for a ‘paradigm shift’ to a new radical theory. What would such a new paradigm require to pose as an alternative to Marxism? Well, it would have to be able to deal with the problems which Marxism has found intractable. Ironically, there is something of an alternative paradigm which arose contemporaneously with Marxism. Anarcho-communists, such as Bakunin, foresaw the problems of centralized revolutionary praxis.[146] No ad hoc hypotheses are required for anarchist theory to explain the history of ‘actually existing socialism’. Why, then, did the Marxist paradigm gain a widespread hold on the Left? The historical reason for this has to do with Lenin’s accidental political success due in part to his cynical use of the anarchist slogan ‘All power to the soviets’. And with a revolution, the oppressed workers of Europe uncritically turned to the political theory which appeared to have delivered the revolutionary goods — Marxism.
However, when in the 1930s and 1950s the problems in the Soviet Union gradually began to become known, instead of questioning Marxism’s actual ability to produce a genuine proletarian revolution, leftists raised criticisms which required the minimum historical reappraisal. As a result, Stalin was single-handedly blamed for the defects in ‘actually existing socialism’. Not Lenin and his political elitism. And certainly not Marx and his theory. We have attempted to show that the problems encountered in Russia are directly linked through Lenin to Marx. It is the whole Marxist paradigm which needs to be rejected. Nevertheless, the theory inspired by the thought of Karl Marx happens to be the present paradigm of the revolutionary Left. But the internal fragmentation of the Left indicates the need for the imminent overthrow of that paradigm by a new one — a paradigm which returns to the basic concerns of the Left: self-development, community, workers’ control and harmony in the world (both social and natural) — a paradigm which provides the theoretical underpinnings for the development of today’s Green movement, and informs it of its need to consolidate itself in a libertarian communist form. We have attempted to indicate how such a paradigm differs from Marxism, and why Marxism must be consigned to the scrapheap of history.
It remains to indicate why it is that the Marxist paradigm goes wrong in each of the major fields which we have examined. We submit that, ultimately, Marxist ‘science’ qua science (in other words, when it proposes genuinely empirical hypotheses, rather than non-falsifiable a priori claims) inherently incorporates an epistemological weakness — a weakness which explains how it is that the Marxist theories of history, economics, class and the state have come to be seen as inadequate. The weakness is inherent in Marx’s materialism.
Hegel believed that knowledge arises through transcendence of the subject/object dichotomy. His idealist standpoint lends itself, moreover, to a coherence theory of truth. But Marx, as a materialist, could not so easily avail himself of the overcoming of the dichotomy between subject and object.[147] As he wrote:
The totality as it appears in the head, as a totality of thoughts, is a product of a thinking head, which appropriates the world in the only way it can, a way different from the artistic, religious, practical and mental appropriation of the world. The real subject retains its autonomous existence outside the head just as before; namely as long as the head’s conduct is merely speculative, merely theoretical (G, pp. 101–2).
For Marx, the concrete remains concrete. Knowledge only arises when the concrete is appropriated as the concrete-in-thought:
... Hegel fell into the illusion of conceiving the real as the product of thought concentrating itself, probing its own depths, and unfolding itself out of itself, whereas the method of rising from the abstract to the concrete is only the way in which thought appropriates the concrete, reproduces it as the concrete in the mind (G, p. 101).
But in this case a correspondence theory of truth would seem to be required in that one becomes concerned with the relationship between the concrete-in-thought and the concrete. This leads on to a reflection theory of knowledge,[148] and all the old epistemological problems associated with Locke, inherited by Lenin (though already critized by Berkeley)[149] and which Hegel’s subject/object was thought to solve, re-emerge. How is Marx to overcome these difficulties?
Marx’s attempted solution is that it is through labour that knowledge will supposedly arise (this being precisely the lesson of Hegel’s master/slave dialectic in the Phenomenology). Moreover, through labour both humanity and the world are transformed. And one of the ways in which humanity is transformed is from helpless, ignorant beings to ones having knowledge of the world, including knowledge of the way in which they can affect the world and realize their freedom. In other words, it is by interacting with the world through labour, by transforming the world to their benefit and, in the process, by transforming themselves that human beings come to have knowledge of the world. Labour is thus offered as the solution to the epistemological problems associated with the reflection theory. As Engels explains:
The most telling refutation of this [epistemological scepticism], as of all other philosophical crotchets, is practice, namely, experiment and industry. If we are able to prove the correctness of our conception of a natural process by making it ourselves, bringing it into being out of its conditions and making it serve our own purposes into the bargain, then there is an end to the Kantian ungraspable ‘thing-in-itself’. The chemical substances produced in the bodies of plants and animals remained just such things-in-themselves until organic chemistry began to produce them one after another, whereupon the thing-in-itself became a thing for us, as, for instance, alizarin, the colouring matter of the madder, which we no longer trouble to grow in the madder roots in the field, but produce much more cheaply and simply from coal tar. For three hundred years the Copernican solar system was a hypothesis with a hundred, a thousand, or ten thousand chances to one in its favour, but still always a hypothesis. But when Leverrier, by means of the data provided by this system, not only deduced the necessity of the existence of an unknown planet, but also calculated the position in the heavens which this planet must necessarily occupy, and when Galle really found this planet the Copernican system was proved (Engels, 1969a, p. 249–50).
Thus, according to the Marxist theory of knowledge, labour and production (along with successful prediction) are what generate knowledge.
But will this suffice as an adequate epistemology? Because through productive activity we can make what we think is something or other does not tell us either that we have made what we think we have, nor that the theory employed in its production is true. Consider a different example from chemistry to that of alizarin. People made what they took to be de-phlogisticated paper. Scientists are sure today that, prior to Lavoisier, book burning neither produced such a substance nor established that the phlogiston theory was true. Quite simply, labour as productive activity does not solve any of the traditional epistemological problems associated with reflection theories of knowledge.
What this quotation from Engels reveals is the basis of Marxist dogma. If anything occurs in the future which the theory predicts, then its occurrence confirms the theory. If the productive forces develop and there is an historical transformation (for example, a revolution in Russia), then Marx’s theory of history is ‘proved’. What is signally overlooked is the inherently underdetermined nature of scientific theories. Such theories are not restricted to claims about individual occurrences. They are universal claims about what would happen at any time or place, given that the conditions specified by the theory to be relevant obtain. And such universal claims must always extend beyond what has been empirically observed — for example, they extend into the future.[150]
Now, this elementary fact entails the unacceptability of the Marxist confirmation assumption. Consider Russell’s chicken example:
...animals expect food when they see the person who usually feeds them. We know that... these rather crude expectations of uniformity are liable to be misleading. The man who has fed the chicken everyday throughout its life at last wrings its neck instead, showing that more refined views as to the uniformity of nature would have been useful to the chicken (Russell, 1967, p. 35).
The chicken’s problem was not that it had no theory about the farmer’s behaviour. It might have had one. It might have thought that the farmer was a kind person and would therefore continue to provide food. The next day, after such a theory might have been formulated, the farmer arrives with food. The theory is confirmed! It is confirmed many times! Nevertheless, the chicken still, one day, has its neck broken.
What this demonstrates is that it is always in principle possible for the empirical data as observed up to any moment in time to be explained by more than one theory. The data are common to both theories. However, it is also possible that the next observation will contain what is a relevant difference in one theory but not in the other. Consequently, scientific theories are inherently underdetermined. Marxism, qua scientific theory, is no less subject to this problem. Engels clearly reveals an attitude (his ‘rejection’ of the notion of absolute truth notwithstanding) which, as his remarks on alizarin reveal, is not always sufficiently sensitive to this problem; and this attitude can explain why it is that Marxists fail to see that their paradigm is limited.
Consider a scientific example from a different field to chemistry. Newtonian mechanics accurately predicted certain occurrences — it was thus ‘proved’ correct by Engels’ standards. Yet when it comes to objects travelling at certain velocities, or possessing a certain mass (factors which Newtonian mechanics did not consider to be relevant), the paradigm is shown to be inadequate. In that Newtonian mechanics hold true over a certain range, then they can loosely be thought to constitute a special case of the more general theory which overthrew it in a paradigm shift — Einsteinian relativity. We suggest that this provides an analogy by which to appreciate the deficiencies of Marxism in general.
The MVM might hold true, given certain conditions. It is at best a special case of our more general and more inclusive theory which considers the perpetuation of the politico-ideological substructure to be a relevant condition for the MVM to predict historical transformation. Marx’s labour theory of value, it will be recalled, is at best a special case of the complement theory of value. This more general theory reveals that Marx’s labour theory cannot deal with automation or monopolies, both of which lie outside its scope. It will also be obvious that, just like Roemer’s own general theory of exploitation and class, our extension of it (which can identify political groupings by means of political ‘property’) regards Marx’s limited view of exploitation and class as no more than a special case. Moreover, socialist societies are beyond the range of the applicability of Marx’s theory, so it fails to predict the exploitation found in ‘actually existing socialism’, and fails to locate the relevant features by which to recognize emergent classes that can come to the ascendency in post-capitalism. Again, Marx’s theory of the state, in viewing the divisions in civil society engendered by private property as grounding the modern state, is at best a special case of the more general theory which we offered under which the politico-ideological substructure provides further conditions for political power. This shows private property to be no more than one sufficient condition amongst several for the emergence and continuance of the state. Moreover, the Marxist theory about the behaviour of the state with regard to the protection of the interests of the bourgeoisie is at most a special case of the more general theory which reveals the necessity of limiting the range of the special case theory to periods of correspondence between state and dominant economic class interests.
An interesting aspect of mistakenly considering a special case theory to be a general theory is that the parameters over which the special case theory is valid are not revealed from the standpoint of that theory prior to the experience of possibly falsifying phenomena. Only from the standpoint of the more general theory are the limitations of the special case theory obvious. Our more general theoretical viewpoint (opened up by our position as radical critics) to that of Marxist theory is precisely what it is that has shown up the limitations of Marxism.
This becomes apparent when we consider the following Marxist account of historical development. Feudalism required coercion to be applied at the point of production. The serf had to be forced to work for the lord. Technological developments gave rise to capitalist relations, and these relations (involving exchanges on the market) no longer required coercion at the point of production. The state was thus allowed a degree of autonomy from the economy. All that the coercive force in society is now required to do is maintain the structure of property rights.
But exactly the same historical events can be described in a different way. Feudalism required coercion at the point of production. Technology developed, and this allowed market relations. Those who exerted coercive power found it in their interest to back these new relations of production partly because they were more productive and allowed a greater surplus to be extracted, and partly because force was no longer required at the point of production. The state could stand back, present a liberal façade, and, with the state only having to maintain the structure of property rights, the economy was thus allowed a degree of autonomy from the state.
Both accounts explain the same historical data. The interesting question is: How are we to choose between them? The relevant difference between the two theoretical standpoints which generate these two accounts is not at the capitalist stage, but at the point of transition to post-capitalism. The Marxist account suggests that the state is a servant or instrument of the economy. If the economy is sorted out, if (economic) class antagonisms are overcome, the political domain will wither away. The alternative account, in claiming that the state prefers to stand back from the capitalist economy and allow it to produce wealth with minimum interference, suggests that if it were in the interest of those with political power to return to direct interference in production, then they could do so. Consequently, it is in the transition to post-capitalism that these two theories can be distinguished; and in so far as the Bolshevik state, instead of withering away, suppressed the factory committees and brought industry under its direct control, then it is the second theory that seems to be corroborated. It is especially ironic, therefore, that a ‘Marxist’ revolution in Russia should contradict the Marxist account, while supporting the non-Marxist one.
Most interestingly, it is at the moment of transition to a postcapitalist society that the parameters of each of Marx’s theories are revealed to be transcended from the standpoint of our more general theories. It is not surprising to us, therefore, that Marxist predictions about the Russian Revolution proved to be incorrect. We can thus see the limitations of the Marxist paradigm and why it needs to be overthrown. We can also see how it is that Marxism has come to be revealed as inadequate. It is at best a structure of special case theories whose parameters have come to be transcended by historical developments.[151] Furthermore, we can see how Marx’s epistemology, with its scientific pretensions, remains vulnerable in a way which Engels failed to consider. For even if Marxism is not a structure of special case theories, the possibility that it is always remains. It is precisely in being a materialist theory that it presents the perennial possibility of needing to be discarded by a revolutionary paradigm shift.
Active opposition to Marxist theory and strategy is of prime importance. Due to the position of dominance presently enjoyed by Marxism, capitalism’s discontented automatically turn to Marx. In a short time, those who could have aided the oppressed add to their long-term oppression by advocating the further development of capitalist economic relations, or by advocating the further development of capitalist technology, or by forming elitist revolutionary organizations which will at best distract genuine revolt or, more likely, ultimately extend world oppression. Before capitalism’s discontented even begin to turn en masse to a genuinely revolutionary paradigm, the influence of Marxism must be reduced. To this end we hope to have contributed.
Appendix
Marx, in his suitably famous ‘Preface to A Critique of Political Economy’ written in 1859, distinguishes between the ideological superstructure (which consists of political institutions, legal structures, etc.) and the economic base. The latter is usually divided into the relations of production, such as the division of labour and the relations of economic control, and the forces of production, e.g. the technology employed, the labour power of the workers, and so on. (See Figure 2.1a.)
G. A. Cohen, however, argues that the forces of production should not be included in the economic base. The productive forces are ‘the foundation of the economy but they do not belong to the economic foundation’ (Cohen, 1978, p. 30). How can this be? Cohen usefully distinguishes between two senses of the word ‘base’. A base can be that which supports the rest of an object (such as the foundations of a house) or it can be that which supports an object external to it (such as the plinth of a statue). The relations of production compose the economic structure and are the base (in the first sense) of the social formation, but the base (in the second sense) of the superstructure. According to Cohen, the productive forces, on the other hand, are the base (in the second sense) of the economic structure, and being so are not a part of it. But what evidence does Cohen have for his interpretation of Marx? He writes:
The economic structure (or ‘real basis’) is here [in the 1859 Preface] said to be composed of production relations. Nothing else is said to participate in its composition. We conclude ex silentio that production relations alone serve to constitute the economic structure. This means that the productive forces are not part of the economic structure (ibid., p.28).
On Cohen’s reading of the 1859 Preface, then, the superstructure has as its (external) base the relations of production, which in turn have ‘below’ them as their (external) base the forces of production (see Figure 2.1c). The social formation has as its (internal) base the relations of production, but does not include the forces of production. Consequently, when, in the first volume of Capital, Marx claims that the productive forces are ‘the material basis of all social organization’ (quoted in ibid., p.30), Cohen reads this as referring to the external basis of social organization. As he writes: ‘...the productive forces strongly determine the character of the economic structure, while forming no part of it’ (ibid., p. 31).
Clearly, the quotation from Capital does warrant the use of the term ‘base’ for the forces of production. And Cohen is wise to point out that there is more than one use of the term ‘base’. But Marx’s apparent silence in the 1859 Preface, one small text by a prolific writer, hardly constitutes a cut and dried argument. And is Cohen’s decision to choose the sense of ‘base’ which entails the exclusion of the forces of production from the economic base viable? Cohen defends himself by means of two main arguments. First, he claims that, for Marx, ‘productive relations.. .correspond to productive forces’ (ibid., p. 28). Consequently, ‘whatever “correspond” means here, it is difficult to reconcile correspondence of production relations with inclusion of productive forces in the set of production relations’ (ibid., p. 29). This would, of course, be correct were it not for the fact that what Marx actually writes is that the ‘relations of production...correspond to a definite stage of development of their material productive forces’ (59P, p. 389). A ‘stage of development’ and ‘productive forces’ are not the same thing. If someone stated that all knowledge corresponded to a definite stage of development of science, we might be unhappy about the exact formulation of this statement, but we could not, with certainty, conclude from it that its author necessarily excluded science from the realm of knowledge (especially if the author is prone to committing the ‘collectivist fallacy’; see section 3.8).
Second, Cohen takes the base to be the economic structure which he regards as being social in nature. He considers this to be a legitimate assumption to make, because he takes Marx to use the terms ‘economic’ and ‘social’ (more or less) interchangeably. However, Cohen expresses the opinion that, for Marx, ‘material’ is the antonym of ‘social’. Hence, the material productive forces cannot be social, and so cannot be part of the economic (social) structure — i.e. the ‘base’ referred to in the base/superstructure distinction.
Now, Marx writes at one point of a ‘certain degree of development of the material (and therefore also of the mental) productive forces’ (quoted in Cohen, 1978, p. 46). Marx might mean (1) that mental productive forces constitute a subset of material productive forces, or (2) that mental and material productive forces are quite distinct. Cohen prefers (1), apparently so as to be able to include science (usually regarded as consisting of ideas and therefore, in traditional readings of Marx, super-structural) within the forces of production. But (2) seems a more likely reading. On such a reading, the ‘therefore’ would be used to suggest that mental development corresponded (in a non-problematical sense of ‘correspond’) to material development.[152] Moreover, describing the economic structure as ‘social’ could mislead. ‘Social’ suggests that the relevant relationships are only between people. But capitalist relations — ownership relations[153] — are not two-term relations, they are three-term ones. They are not mere relations between capitalists and proletarians; they are principally relations between capitalists and proletarians with regard to the productive forces. One of these economic terms is ‘material’.[154]
Furthermore, for Marx, ‘capital is a relation’ (ibid., p. 90n) and ‘a machine becomes a portion of constant capital’ (ibid., p. 89).[155] Surely this suggests that productive forces are to be located in the economic structure, hence the ‘base’? If a machine becomes a ‘portion of capital’, then it must have taken on the role of an economic category and must have entered the economic base.
Moreover, besides the quotations marshalled by Cohen, Marx also writes that ‘the ideas of the ruling class are in every epoch the ruling ideas: i.e. the class which is the ruling material force of society is at the same time its ruling intellectual force’ (GI, p. 64). Not only is this proof of a material/mental distinction being used by Marx, it is also clearly incompatible with an antinomy between material and social — classes are unquestionably social, yet Marx also considers them to be material forces.
The conclusion to draw concerning the distinction between machinery and the base is, we submit, that the base is a structure of economic categories and machinery per se is not an economic category (capital). ‘It becomes capital,’ as Marx himself writes, ‘only in certain relations. Torn from these relations it is no more capital than gold in itself is money’ (quoted in Cohen, 1978, p. 88). But this is not to say that gold does not act as money in certain contexts, nor machinery capital. Consequently, machinery can occupy a role in the economic structure, and thus, contra Cohen, the productive forces do form part of the base (the internal base of the social formation), but only when they take on economic roles. They do not do so merely because they are productive forces, but they become part of the economic base when they assume roles in economic relations. Cohen is, however, quite correct to point out that the productive forces are not themselves relations (see ibid., p. 90).
Now, Cohen can reply as follows to our claim that the productive forces form part of the base: ‘The structure may be seen not only as a set of relations but also as a set of roles. The point to make in the context of that alternative presentation is that the role-occupants do not belong to the structure’ (ibid., p. 36). This is analogous to another point made by Cohen. A bridge has a structure — a structure which it shares with other bridges of the same type. This structure is given by the relations between its constituent parts. Any part can be replaced by another and the structure remains the same. From this, Cohen concludes that such parts do not belong to the structure. But to conclude from this that parts in general are excluded from a structure is to confuse type with token. Any token can be removed, but the type cannot. Yes, any individual part can be replaced, but the structure only remains the same while some part of the required type is present.
In other words, a structure does not demand that a particular token be present, but it does demand that a particular type be. Consequently, the token may well be irrelevant to the structure, but the type any token happens to be (or at least a range of types that the token falls under) is necessary to the structure. And Cohen has only argued for the exclusion from the structure of what is unnecessary to it. Structures are not indifferent to the type of their tokens even if they are indifferent to the tokens of those types.[156] Analogously, any particular productive force is not necessary to the economic structure, but the same cannot be said of the type of productive force which the productive force in question happens to be. What is more, if we are interested in how changes in the productive forces may affect changes in the social formation, it is not, after all, changes in tokens which concern us, but changes in types.[157] And Cohen’s arguments only apply to tokens, not types (or at least they do not extend to a range of types; in a structure, some types might be interchangeable, but only in so far as they fall under a certain range). Lacking any persuasive reason to do otherwise, we shall, therefore, at the very least include the type of productive force, and/or the role that it occupies, in the economic structure — the base. However, this is not to say that the base might not be two-tiered with the forces, in a sense, below the relations of production. For example, the nature of the forces could be privileged in explaining the nature of the relations even though the forces and relations are both within the base. Consequently, we stand by our claim that Figure 2.1a represents Marx.
Bibliography
With the exception of certain significant writings, the list of works by Marx and Engels is restricted to those cited in the text.
Acton, H. B. (1962), The Illusion of the Epoch, London: Cohen.
Althusser, L. (1977), ‘Ideology and Ideological State Apparatuses’, in Lenin and Philosophy and Other Essays, London: New Left Books.
(1979), For Marx, London: Verso.
Althusser, L. and Balibar, E. (1979), Reading Capital, London: Verso.
Anderson, J. (1962), ‘Marxist Philosophy’, in Studies in Empirical Philosophy, Sydney: Angus.
Anderson, P. (1979), Considerations on Western Marxism, London: Verso.
(1983), In the Tracks of Historical Materialism, London: Verso.
Arato, A. and Breines, P. (1979), The Young Lukacs and the Origins of Western Marxism, New York: Seabury Press.
Arthur, C. J. (1979), ‘Dialectics and Labour’, in J. Mepham and D.-H. Ruben (eds.), Issues in Marxist Philosophy, vol. I, Brighton: Harvester Press.
Avineri, S. (1968), The Social and Political Thought of Karl Marx, Cambridge: Cambridge University Press.
(1972), Hegel’s Theory of the Modem State, Cambridge: Cambridge University Press.
Bahro, R. (1978), The Alternative in Eastern Europe, trans. David Fernbach, London: New Left Books.
(1984), From Red to Green: Interviews with New Left Review, trans. Gus Fagan and Richard Hurst, London: Verso.
Bakunin, M. (1964), The Political Philosophy of Bakunin: Scientific Anarchism, ed. G. P. Maximoff, New York: The Free Press.
(1970), God and the State, New York: Dover.
(1973), Bakunin on Anarchy, ed. Sam Dolgoff, London: George Allen and Unwin.
Banaji, J. (1979), ‘From the Commodity to Capital: Hegel’s Dialectic in Marx’s Capital’, in Diane Elson (ed.), Value: The Representation of Labour in Capitalism, London: CSE Books.
Baran, P. A. and Sweezy, P. M. (1968), Monopoly Capitalism: An Essay on the American Economic and Social Order, Harmondsworth: Penguin Books.
Barclay, H. (1982), People Without Government: An Anthropology of Anarchism, London: Kahn and Avrill.
Benton, T. (1984), The Rise and Fall of Structural Marxism: Althusser and his Influence, London: Macmillan.
Bergman, F. (1977), On Being Free, Indiana: University of Notre Dame Press.
Berkeley, G. (1962), The Principles of Human Knowledge, London: Fontana.
Berki, R. N. (1977), The History of Political Thought, London: Dent.
Berkman, A. (1972), What is Anarchist Communism?, New York: Dover.
Berlin, I. (1969), Four Essays on Liberty, Oxford: Oxford University Press.
(1978), Karl Marx: His Life and Environment, Oxford: Oxford University Press.
Bhaskar, R. (1979), ‘On the Possibility of Social Scientific Knowledge and the Limits of Naturalism’, in J. Mepham and D.-H. Ruben (eds.), Issues in Marxist Philosophy, vol. III, Brighton: Harvester Press.
Blackburn, R. (ed.) (1972), Ideology in Social Science, London: Fontana.
Bober, M. M. (1950), Karl Marx’s Interpretation of History, Massachusetts: Harvard University Press.
Bdhm-Bawerk, E. von (1975), Karl Marx and the Close of his System, ed. P. M. Sweezy, New Jersey: Augustus M. Kelley.
Bookchin, M. (1914’), Post-Scarcity Anarchism, London: Wildwood House.
Bortkiewicz, L. von (1975), ‘On the Correction of Marx’s Fundamental Theoretical Construction in the Third Volume of Capital’, published with Eugen von Bdhm-Bawerk, Karl Marx and the Close of his System, ed. P. M. Sweezy, New Jersey: Augustus M. Kelley.
Bottomore, T. B. (1965), Classes in Modem Society, London: George Allen and Unwin.
(ed.) (1973), Karl Marx, New Jersey: Prentice-Hall.
(1983), ‘Sociology’, in David McLellan (ed.), Marx: The First Hundred Years, London: Fontana.
Boyle, G. and Harper, P. (eds.) (1976), Radical Technology, London. Wildwood House.
Braverman, H. (1974), Labor and Monopoly Capital: The Degradation of Work in the Twentieth Century, New York: Monthly Review Press.
Brenner, R. (1986), ‘The Social Basis of Economic Development’, in John Roemer (ed.), Analytical Marxism, Cambridge: Cambridge University Press.
Brinton,M. (1975), The Bolsheviks and Workers’ Control, 1917tol921: The State and Counter-Revolution, Detroit: Black and Red.
Burke, E. (1973), Reflections on the Revolution in France, published with Thomas Paine, The Rights of Man, New York: Anchor Books.
Burnham, J. (1942), The Managerial Revolution, London: Putnam.
Carr, E. H. (1961), What is History? London: Macmillan.
Carroll, J. (1974), Break-Out from the Crystal Palace, London: Routledge and Kegan Paul.
Carter, A. (1971), The Political Theory of Anarchism, London: Routledge and Kegan Paul.
Carter, A. B. (forthcoming), ‘Outline of an Anarchist Theory of History’, in David Goodway (ed.), For Anarchism, London: Routledge and Kegan Paul.
Carver, T. (1982), Marx’s Social Theory, Oxford: Oxford University Press.
Caudwell, C. (1977), A Study in Bourgeois Illusion: Liberty’, in The Concept of Freedom, London: Lawrence and Wishart.
Chambers, R. (1983), Rural Development: Putting the Last First, London: Longman.
Chomsky, N. (1973), ‘Notes on Anarchism’, in For Reasons of State, New York: Vintage Books.
Clapham, C. (1985), Third World Politics, London: Croom Helm.
Clark, J. P. (1976), Marx Stirner’s Egoism, London: Freedom Press.
(1979), ‘What is Anarchism?’, in Freedom, vol. 40, no. 3.
Cohen, G. A. (1970), ‘Some Criticisms of Historical Materialism’, in Proceedings of the Aristotelian Society, suppl. vol. XLIV.
(1974), ‘Being, Consciousness and Roles: On the Foundations of Historical Materialism’, in C. Abramsky and Beryl J. Williams (eds.), Essays in Honour of E. H. Carr, London: Macmillan.
(1978), Karl Marx’s Theory of History: A Defence, Oxford: Clarendon Press.
(1981), ‘The Labour Theory of Value and the Concept of Exploitation’, in Ian Steedman et al., The Value Controversy, London: Verso.
(1983), ‘More on Exploitation and the Labour Theory of Value’, in Inquiry, 26.
(1984), ‘Restrictive and Inclusive Historical Materialism’, in Irish Philosophical Journal, vol. 1, no. 1.
(1986), ‘Forces and Relations of Production’, in John Roemer (ed.), Analytical Marxism, Cambridge: Cambridge University Press.
Cohn-Bendit, G. and Cohn-Bendit, D. (1969), Obsolete Communism: The Left Wing Alternative, trans. Arnold Pomerans, Harmondsworth: Penguin Books.
Colletti, L. (1973), Marxism and Hegel, London: New Left Books.
Cornforth, M. (1968), The Open Society and the Open Philosophy, London: Lawrence and Wishart.
Corrigan, P, Ramsay, H. and Sayer, D. (1978), Socialist Construction and Marxist Theory, London: Macmillan.
Craib, I. (1977), ‘Lukacs and the Marxist Criticism of Sociology’, in Radical Philosphy, 17.
Cutler, A., Hindess, B., Hirst, P. and Hussain, A. (1977), Marx’s ‘Capital’ and Capitalism Today, vol. I, London: Routledge and Kegan Paul.
Dammann, E. (1979), The Future in Our Hands, Oxford: Pergamon Press.
Davies, J. C. (1962), ‘Towards a Theory of Revolution’, in American Sociological Review, 27.
Dickson, D. (1974), Alternative Technology and the Politics of Technical Change, London: Fontana.
Draper, H. (1977), Karl Marx’s Theory of Revolution, New York: Monthly Review Press.
Dupre, L. (1966), The Philosophical Foundations of Marxism, New York: Harcourt.
Ecologist (eds.) (1972), A Blueprint for Survival, Harmondsworth: Penguin Books.
Edgley, R. (1979), ‘Marx’s Revolutionary Science’, in J. Mepham and D.-H. Ruben (eds.), Issues in Marxist Philosophy, vol. in, Brighton: Harvester Press.
Elgin, D. (1981), Voluntary Simplicity, New York: William Morrow.
Elliott, D. (1978), The Politics of Nuclear Power, London: Pluto Press.
Elliott, D. and Elliott, R. (1976), The Control of Technology, London: Wykeham Publications.
Elson, D. (1979), ‘The Value Theory of Labour’, in Value: The Representation of Labour in Capitalism, London: CSE Books.
Elster, J. (1985), Making Sense of Marx, Cambridge: Cambridge University Press.
Eltzbacher, P. (1960), Anarchism: Exponents of the Anarchist Philosophy, New York: Libertarian Book Club.
Engels, F. (1968), Letter to J. Bloch, in Marx-Engels Selected Works, vol. II, London: Lawrence and Wishart.
(1969a), ‘Ludwig Feuerbach and the End of Classical German Philosophy’, in Karl Marx and Friedrich Engels, Basic Writings on Politics and Philosophy, ed. Lewis S. Feuer, London: Fontana.
(1969b), ‘On Authority’, in Karl Marx and Frederick Engels, Selected Works in Three Volumes, vol. II, Moscow: Progress Publishers.
(1970a), ‘Karl Marx’, in Karl Marx and Frederick Engels, Selected Works in One Volume, London: Lawrence and Wishart.
(1970b), Letter to C. Schmidt, 27 October, 1890, in Karl Marx and Frederick Engels, Selected Works in One Volume, London: Lawrence and Wishart.
(1970c), ‘On the History of the Communist League’, in Karl Marx and Frederick Engels, Selected Works in One Volume, London: Lawrence and Wishart.
(1970d), ‘Socialism: Utopian and Scientific’, in Karl Marx and Frederick Engels, Selected Works in One Volume, London: Lawrence and Wishart.
(1970e), ‘Speech at Marx’s Graveside’, in Karl Marx and Frederick Engels, Selected Works in One Volume, London: Lawrence and Wishart.
(1970f), ‘The Origin of the Family, Private Property and the State’, in Karl Marx and Frederick Engels, Selected Works in One Vblume, London: Lawrence and Wishart.
(1976), Anti-Dühring (Herr Eugen Dühring’s Revolution in Science), Peking: Foreign Languages Press.
Feyerabend, P. (1975), ‘How to Defend Society Against Science’, in Radical Philosophy, 11.
(1978), Against Method: Outline of an Anarchistic Theory of Knowledge, London: Verso.
Fine, B. and Harris, L. (1979), Rereading Capital, London: Macmillan.
Fleischer, H. (1973), Marxism and History, trans. Eric Mosbacher, London: Penguin Books.
Foucault, M. (1979), Discipline and Punish, Harmondsworth: Penguin Books.
Frank, A. G. (1967), Capitalism and Underdevelopment in Latin America: Historical Studies of Chile and Brazil, New York: Monthly Review Press.
Freire, P. (1972), Pedagogy of the Oppressed, Harmondsworth: Penguin Books.
Fromm, E. (1960), The Fear of Freedom, London: Routledge and Kegan Paul.
Galbraith, J. K. (1969), The New Industrial State, Harmondsworth: Penguin Books.
Gamble, A. (1981), An Introduction to Modern Social and Political Thought, London: Macmillan.
Gellner, E. (1973), ‘Explanations in History’, in John O’Neill (ed.), Modes of Individualism and Collectivism, London: Heinemann.
Gershuny, J. (1978), After Industrial Society? The Emerging Self-Service Economy, London: Macmillan.
Giddens, A. (1981), A Contemporary Critique of Historical Materialism, vol. I, London: Macmillan.
Gilbert, A. (1981), Marx’s Politics: Communists and Citizens, Oxford: Martin Robertson.
Godelier, M. (1972), ‘Structure and Contradiction in Capital’, in Robin Blackburn (ed.), Ideology in Social Science, London: Fontana.
(1977), Perspectives in Marxist Anthropology, Cambridge: Cambridge University Press.
Godwin, W. (1976), Enquiry Concerning Political Justice, Harmondsworth: Penguin Books.
Goldman, E. (1969), Anarchism and Other Essays, New York: Dover.
Gorz, A. (1976), ‘Technology, Technicians and Class Struggle’, in The Division of Labour: The Labour Process and Class-Struggle in Modern Capitalism, Brighton: Harvester Press.
(1982), Farewell to the Working Class: An Essay on PostIndustrial Socialism, trans. Michael Sonenscher, London: Pluto Press.
Gramsci, A. (1971), Selections from the Prison Notebooks, trans. Quintin Hoare and Geoffrey Nowell Smith, London: Lawrence and Wishart.
Guerin, D. (1971), Anarchism: From Theory to Practice, New York: Monthly Review Press.
(1981), Anarchism and Marxism, Orkney: Cienfuegos Press.
Habermas, J. (1971), Towards a Rational Society, London: Heinemann.
(1976), Legitimation Crisis, trans. Thomas McCarthy, London: Heinemann.
(1978), Knowledge and Human Interests, trans. J. J. Shapiro, London: Heinemann.
Harding, N. (1977), Lenin’s Political Thought: Theory and Practice in the Democratic Revolution, London; Macmillan.
(1981), Lenin’s Political Thought: Theory and Practice in the Socialist Revolution, London: Macmillan.
Hegel, G. W. E (1956), The Philosophy of History, New York: Dover.
(1967), Philosophy of Right, trans, with notes by T. M. Knox, Oxford: Oxford University Press.
(1975), Hegel’s Logic, being Part I of The Encyclopaedia of the Philosophical Sciences, trans, by W. Wallace, Oxford: Oxford University Press.
(1977), Hegel’s Phenomenology of Spirit, trans, by A. V. Miller, Oxford: Oxford University Press.
Hilferding, R. (1975), Bbhm-Bawerk’s Criticism of Marx, published with Eugen von Bohm-Bawerk, Karl Marx and the Close of his System, ed. P. M. Sweezy, New Jersey: Augustus M. Kelley.
Hindess, B. and Hirst, P. Q. (1975), Pre-Capitalist Modes of Production, London: Routledge and Kegan Paul.
Hobbes, T. (1962), Leviathan, London: Fontana.
Hohfeld, W. N. (1966), Fundamental Legal Conceptions, New Haven: Yale University Press.
Honore, A. M. (1961), ‘Ownership’, in A. G. Guest (ed.), Oxford Essays in Jurisprudence, London: Oxford University Press.
Hook, S. (1962), From Hegel to Marx: Studies in the Intellectual Development of Karl Marx, Ann Arbor: University of Michigan Press.
Horrovitz, I. L. (ed.) (1964), The Anarchists, New York: Dell.
Hume, D. (1962), A Treatise of Human Nature, Book I, London: Fontana.
(1975), Enquiries Concerning Human Understanding and Concerning the Principles of Morals, Oxford: Clarendon Press.
Illich, I. (1973), Tools For Conviviality, London: Fontana.
Itoh, M. (1980), Value and Crisis: Essays on Marxian Economics in Japan, London: Pluto Press.
Iyer, R. (1973), The Moral and Political Thought of Mahatma Qandhi, New York: Oxford University Press.
Joli, J. (1979), The Anarchists, London: Methuen.
Jungk, R. C. (1979), The Nuclear State, London: John Calder.
Kant, I. (1933), Immanuel Kant’s Critique of Pure Reason, trans. Norman Kemp-Smith, London: Macmillan.
(1950), Prolegomena to Any Future Metaphysic, Indianapolis: Bobbs-Merrill.
Kiernan, V. (1983), ‘History’, in David McLellan (ed.), Marx: The First Hundred Years, London: Fontana.
Kitchin, G. (1982), Development and Underdevelopment in Historical Perspective: Populism, Nationalism and Industrialization, London: Methuen.
Kolakowski, L. (1981), Main Currents of Marxism, vol. Ill, Oxford: Oxford University Press.
Konrad, G. and Szelenyi, I. (1979), The Intellectuals on the Road to Class Power, Brighton: Harvester Press.
Kropotkin, P. (1969), The State: Its Historic Role, London: Freedom Press.
(1970), Kropotkin’s Revolutionary Pamphlets, ed. Roger N. Baldwin, New York: Dover.
(1974), Fields, Factories and Workshops Tomorrow, London: George Allen and Unwin.
———— (n.d.), Mutual Aid: A Factor of Evolution, Boston: Extending Horizons Books.
Kuhn. T. S. (1970), The Structure of Scientific Revolutions, Chicago: Chicago University Press.
Kumar. K. (1978), Prophecy’ and Progress: The Sociology Of Industrial and Post-Industrial Society’, Harmondsworth: Penguin Books.
Lakatos, I. (1974), ‘Falsification and the Methodology of Scientific Research Programmes’, in Imre Lakatos and Alan Musgrave (eds.), Criticism and the Growth of Knowledge, Cambridge: Cambridge University Press.
Lamb, D. (1979), Language and Perception in Hegel and Wittgenstein, Avebury.
Landauer, G. (1978), For Socialism, St Louis: Telos Press.
Lappe, F. M. (1971), Diet fora Small Planet, New York: Ballantine.
Lappe, F. M. and Collins, J. (1982), Food First, London: Abacus.
Leach, E. R. (1959), ‘Hydraulic Societies in Ceylon’, in Past and Present, 15.
Lenin, V. I. (1970), The Immediate Tasks of the Soviet Government, Moscow: Progress Publishers.
(1973), The State and Revolution, Peking: Foreign Languages Press.
(1975a), Imperialism, The Highest Stage of Capitalism: A Popular Outline, Peking: Foreign Languages Press.
(KP5bf Left-Wing’Communism, n Infantile Disorder, Peking : Foreign Languages Press.
————— (1975c), What is to be Done?, Peking: Foreign Languages Press.
Lipsey, R. G. (1963), An Introduction to Positive Economics, London: Weidenfeld and Nicolson.
Lock, G. (1981), ‘G. A. Cohen and the Crisis of Marxism’, in4c/ö Politica, 3.
Locke, J. (1924), Two Treatises of Government, London: Dent.
————— (1964), An Essay Concerning Human Understanding, ed. A. D. Woozley, London: Fontana.
Lovins, A. B. (1979), Soft Energy Paths, New York: Harper and Row.
Lukacs, G. (1966), ‘Technology and Social Relations’, in New Left Review, 39.
(1971), History and Class Consciousness: Studies in Marxist Dialectics, London: Merlin Press.
Lukes, S. (1973), Individualism, Oxford: Basil Blackwell.
————— (1974), Power: A Radical View, London: Macmillan.
————— (1983), ‘Can the Base be Distinguished from the Superstructure?’, in D. Miller and L. Siedentop (eds.), The Nature of Political Theory, Oxford: Oxford University Press.
Luxemburg, R. (1961), The Russian Revolution and Leninism or Marxism?, Ann Arbor: University of Michigan Press.
Mabbott, J. D. (1967), The State and Citizen, London: Hutchinson.
Macfarlane. L. J. (1970), Modern Political Theory, London: Thomas Nelson.
Machiavelli, N. (1961), The Prince, trans. George Bull, Harmondsworth: Penguin Books.
Macpherson, C. B. (1964), The Political Theory of Possessive Individualism: Hobbes to Locke, Oxford: Oxford University Press.
(1977), The Life and Times of Liberal Democracy, Oxford: Oxford University Press.
Maier, J. (1966), On Hegel’s Critique of Kant, New York: AMS.
Malatesta, E. (1974), Anarchy, London: Freedom Press.
Mandel, E. (1968), Marxist Economic Theory, London: Merlin Press.
(1973), An Introduction to Marxist Economic Theory, New York: Pathfinder Press.
Mandelbaum, M. (1973), ‘Societal Laws’, in John O’Neill (ed.), Modes of Individualism and Collectivism, London: Heinemann.
Mannheim, K. (1952), ‘On the Interpretation of Weltanschauung’, in Essays on the Sociology of Knowledge, London: Routledge and Kegan Paul.
(1956), ‘The Problem of the Intelligentsia: An Enquiry into its Past and Present Role’, in Essays on the Sociology of Culture, London: Routledge and Kegan Paul.
(1960), Ideology and Utopia, London: Routledge and Kegan Paul.
(1966), ‘Conservative Thought’, in Essays on Sociology and Social Psychology, London: Routledge and Kegan Paul.
Mao Tse-Hing (1977), Five Essays on Philosophy, Peking: Foreign Languages Press.
Marcuse, H. (1955), Reason and Revolution: Hegel and the Rise of Social Theory, London: Routledge and Kegan Paul.
(1972), One-Dimensional Man, London: Sphere.
Marglin, S. A. (1976), ‘What do Bosses Do? The Origins and Functions of Hierarchy in Capitalist Production’, in A. Gorz (ed.), The Division of Labour, Brighton: Harvester Press.
Marx, K. (1958), ‘The Class Struggles in France 1848–1850’, in Karl Marx and Frederick Engels, Selected Works in Two Volumes, vol. I, London: Lawrence and Wishart.
(1962), Theories of Surplus Value, reprinted in part in Robert Freedman (ed.), Marx on Economics, Harmondsworth: Penguin Books.
———— (1969), ‘The Nationalisation of the Land’, in Karl Marx and Frederick Engels, Selected Works in Three Volumes, vol. n, Moscow: Progress Publishers.
(1970a), ‘First Draft of the Reply to V. I. Zasulich’s Letter’, in Karl Marx and Frederick Engels, Selected Works in Three Volumes, vol. Ill, Moscow: Progress Publishers.
(1970b), Letter to J. Weydemeyer, 5 March, 1852, in Karl Marx and Frederick Engels, Selected Works in One Volume, London: Lawrence and Wishart.
(1970c), ‘Theses on Feuerbach’, in Karl Marx and Frederick Engels, Selected Works in One Volume, London: Lawrence and Wishart. (1970d), ‘Wage Labour and Capital’, in Karl Marx and Frederick Engels, Selected Works in One Volume, London: Lawrence and Wishart.
(1970e), ‘Wages, Price and Profit’, in Karl Marx and Frederick Engels, Selected Works in One Volume, London: Lawrence and Wishart.
(1973a), Grundrisse, Harmondsworth: Penguin Books.
(1973b), ‘The British Rule in India’, in Surveys From Exile, Harmondsworth: Penguin Books.
(1973c), ‘The Eighteenth Brumaire of Louis Bonaparte’, in Surveys From Exile, Harmondsworth: Penguin Books.
(1973d), ‘The Future Results of the British Rule in India’, in Surveys From Exile, Harmondsworth: Penguin Books.
(1974a), ‘Critique of the Gotha Programme’, in The First International and After, ed. David Fernbach, Harmondsworth: Penguin Books.
(1974b), ‘Inaugural Address of the International Working Men’s Association’, in The First International and After, ed. David Fernbach, Harmondsworth: Penguin Books.
(1974c), ‘Speech at the Hague Congress’, in The First International and After, ed. David Fernbach, Harmondsworth: Penguin Books.
(1974d), ‘The Civil War in France’, in The First International and After, ed. David Fernbach, Harmondsworth: Penguin Books.
(1974e), ‘The “Provisional Rules” of the International’, in The First International and After, ed. David Fernbach, Harmondsworth: Penguin Books.
(1974f), To Meyer and Vogt, 9 April, 1870, in The First International and After, ed. David Fernbach, Harmondsworth: Penguin Books.
(1975a), ‘Critique of Hegel’s Doctrine of the State’, in Early Writings, intro. Lucio Colletti, trans. Rodney Livingstone and Gregor Benton, Harmondsworth: Penguin Books.
(1975b), ‘Economic and Philosophical Manuscripts’, in Early Writings, intro: Lucio Colletti, trans. Rodney Livingstone and Gregor Benton, Harmondsworth: Penguin Books.
(1975c), ‘On the Jewish Question’, in Early Writings, intro. Lucio Colletti, trans. Rodney Livingstone and Gregor Benton, Harmondsworth: Penguin Books.
(1976a), Capital, vol. I, trans. Ben Fowkes, Harmondsworth: Penguin Books.
(1976b), ‘Marginal notes to A. Wagner’s Textbook on Political Economy (1879–80)’, in Albert Dragsted (ed.), Value: Studies by Karl Marx, London: New Park.
(1976c), ‘Results of the Immediate Process of Production’, appended to Capital, vol. I, trans. Ben Fowkes, Harmondsworth: Penguin Books.
(1976d), ‘The Commodity: Chapter One, Volume One of the first edition of Capital’, in Albert Dragstedt (ed.), Value: Studies by Karl Marx, London: New Park.
(1977a), Critique of Hegel’s Philosophy of Right’, intro. Joseph O’Malley, Cambridge: Cambridge University Press.
(1977b), ‘On Bakunin’s Statism and Anarchy,’ in Karl Marx: Selected Writings, ed. David McLellan, Oxford: Oxford University Press.
(1977c), ‘Preface to A Critique of Political Economy’, in Karl Marx: Selected Wirings, ed. David McLellan, Oxford: Oxford University Press.
(1978a), Capital, vol. II, trans. David Fernbach, Harmondsworth: Penguin Books.
(1978b), The Poverty of Philosophy: Answer to the Philosophy of Poverty’ by M. Proudhon, Peking: Foreign Languages Press.
(1981), Capital, vol. III, trans. David Fernbach, Harmondsworth: Penguin Books.
Marx, K. and Engels, F. (1934), Correspondence 1846—1895, London: Martin Lawrence.
(1953), Selected Correspondence, Moscow: Foreign Languages Publishing House.
(1956a), Selected Correspondence, London: Lawrence and Wishart.
(1956b), The Holy Family or Critique of Critical Critique, London: Lawrence and Wishart.
(1967), The Communist Manifesto, Harmondsworth: Penguin Books.
(1974a), ‘Resolution of the London Conference on Working-Class Political Action’, in Karl Marx, The First International and After, ed. David Fernbach, Harmondsworth: Penguin Books.
(1974b), The German Ideology, ed. C. J. Arthur, London: Lawrence and Wishart.
McLellan, D. (1975), Marx, London: Fontana.
(ed.) (1983), Marx: The First Hundred Years, London: Fontana.
McMurtry, J. (1978), The Structure of Marx’s World-View, New Jersey: Princeton University Press.
Meadows, D. L. et al. (1972), The Limit to Growth: A Report for the Club of Rome’s Project on the Predicament of Mankind, London: Earth Island.
Meek, R. L. (1973), Studies in the Labour Theory of Value, London: Lawrence and Wishart.
Melotti, U. (1977), Marx and the Third World, trans. Pat Ransford, London: Macmillan.
Melville, K. (1979), Communes in the Counter Culture, New York: Morrow Quill.
Mepham, J. and Ruben, D.-H. (eds.) (1979), Issues in Marxist Philosophy, Brighton: Harvester Press.
Merton, R. K. (1968), Social Theory and Social Structure, New York: The Free Press.
Meszáros, I. (1975), Marx’s Theory of Alienation, London: Merlin Press.
Mett, I. (1979), The Kronstadt Uprising, Montreal: Black Rose.
Middleton, J. and Tait, D. (eds.) (1970), Tribes Without Rulers: Studies in African Segmentary Systems, London: Routledge and Kegan Paul.
Miliband, R. (1965), ‘Marx and the State’, in The Socialist Register 1965, London: Merlin Press.
(1970), ‘Lenin’s The State and Revolution’, in The Socialist Register 1970, London: Merlin Press.
(1972), ‘Reply to Nicos Poulantzas’, in Robin Blackburn (ed.), Ideology in Social Science, London: Fontana.
(1973), The State in Capitalist Society, London: Quartet.
(1977), Marxism and Politics, Oxford: Oxford University Press.
Mill, J. S. (1962), Utilitarianism, On Liberty and Essay on Bentham, ed. Mary Warnock, London: Fontana.
Miller, D. (1984), Anarchism, London: Dent.
Miller, R. W. (1984), Analyzing Marx: Morality, Power and History, New Jersey: Princeton University Press.
Montagu, A. (ed.) (1978), Learning Non-Aggression: The Experience of Non-Literute Societies, Oxford: Oxford University Press.
Moore, S. (1980), Marx and the Choice Between Socialism and Communism, Massachusetts: Harvard University Press.
Morishima, M. (1973), Marx’s Economics: A Dual Theory of Value and Growth, Cambridge: Cambridge University Press.
Morris, W. (1970), News from Nowhere, London: Routledge and Kegan Paul.
Myers, N. (ed.) (1986), The Gaia Atlas of Planet Management, London: Pan Books.
Nicolaus, M. (1972), ‘The Unknown Marx’, in Robin Blackburn (ed.), Ideology in Social Science, London, Fontana.
Norman, R. (1976), Hegel’s Phenomenology: A Philosophical Introduction, London: Chatto.
Norman, R. and Sayers, S. (1980), Hegel, Marx and Dialectic: A Debate, Brighton: Harvester Press.
Nozick, R. (1974), Anarchy, State and Utopia, New York: Basic Books.
Oilman, B. (1976), Alienation: Marx’s Conception of Man in Capitalist Society, Cambridge: Cambridge University Press.
O’Neill, J. (ed.) (1973), Modes of Individualism and Collectivism, London: Heinemann.
Oppenheimer, F. (1975), The State, trans. John Gitterman, Montreal: Black Rose.
O’Rourke, J. J. (1974), The Problem of Freedom in Marxist Thought, Dordrecht: D. Reidel.
Orwell, G. (1966), Homage to Catalonia, Harmondsworth: Penguin Books.
Ossowski, S. (1979), ‘The Marxian Synthesis’, in T. B. Bottomore (ed.), Karl Marx, Oxford: Basil Blackwell.
Paine, T. (1973), The Rights of Man, published with Edmund Burke, Reflections on the Revolution in France, New York: Anchor Books.
Parijs, P. Van (1980), ‘The Falling-Rate-of-Profit Theory of Crisis: A Rational Reconstruction by Way of Obituary’, in The Review of Radical Political Economy, vol. 12, no. 1.
Parkin, F. (1981), Marxism and Class Theory: A Bourgeois Critique, London: Tavistock Publications.
Parry, A. (1966), The New Class Divided: Science and Technology Versus Communism, New York: Macmillan.
Pateman, C. (1970), Participation and Democratic Theory, Cambridge: Cambridge University Press.
Pelczynski, Z. A. (1971), ‘The Hegelian Conception of the State’, in Hegel’s Political Philosophy: Problems and Perspectives, Cambridge: Cambridge University Press.
Plamenatz, J. (1963), Man and Society, vol. II, London: Longman.
(1975), Karl Marx’s Philosophy of Man, Oxford: Clarendon Press.
Popper, K. R. (1966), The Open Society and Its Enemies, vol. II, London: Routledge and Kegan Paul.
(1972), Conjectures and Refutations: The Growth of Scientific Knowledge, London: Routledge and Kegan Paul.
Porritt, J. (1984), Seeing Green, Oxford: Basil Blackwell.
Poulantzas, N. (1972), ‘The Problem of the Capitalist State’, in Robin Blackburn (ed.), Ideology in Social Science, London: Fontana.
(1973), Political Power and Social Classes, London: New Left Books.
(1978a), Classes in Contemporary Capitalism, London: Verso.
(1978b), State, Power, Socialism, London: New Left Books.
(1979), Fascism and Dictatorship: The Third International and the Problem of Fascism, London: Verso.
Pratt, B. and Boyden, J. (eds.) (1985), The Field Directors’ Handbook: An Oxfam Manual for Development Workers, Oxford: Oxford University Press.
Proudhon, P.-J. (1970), What is Property? An Enquiry into the Principle of Right and of Government, New York: Dover.
Putnam, H. (1979), ‘The Meaning of Meaning’, in Mind, Language and Reality, Cambridge: Cambridge University Press.
Rader, M. (1979), Marx’s Interpretation of History’, New York: Oxford University Press.
Raphael, D. D. (1970), Problems of Political Philosophy, London: Macmillan.
Rawls, J. (1971), A Theory of Justice, Massachusetts: Harvard University Press.
Read, H. (1974), Anarchy and Order: Essays in Politics, London: Souvenir Press.
Reich, C. A. (1972), The Greening of America, Harmondsworth: Penguin Books.
Ritter, A. (1980), Anarchism: A Theoretical Analysis, Cambridge: Cambridge University Press.
Rocker, R. (1973), Anarchism and Anarcho-Syndicalism, London: Freedom Press.
Roemer, J. E. (1982a), A General Theory of Exploitation and Class, Massachusetts: Harvard University Press.
(1982b), ‘New Directions in the Marxian Theory of Exploitation and Class’, in Politics and Society, vol. 11, no. 3.
(1982c), ‘Reply’, in Politics and Society, vol. 11, no. 3.
(ed.) (1986), Analytical Marxism, Cambridge: Cambridge University Press.
Rose, G. (1981), Hegel Contra Sociology, London: Athlone.
Rousseau, J.-J. (1973), The Social Contract and Discourses, trans. G. D. H.
Cole, London: Dent.
Roxborough, I. (1979), Theories of Development, London: Macmillan.
Ruben, D.-H. (1979), Marxism and Materialism: A Study in Marxist Theory of Knowledge, Brighton: Harvester Press.
Russell, B. (1961), A History of Western Philosophy, London: George Allen and Unwin.
(1967), The Problems of Philosophy, Oxford: Oxford University Press.
(1977), Roads to Freedom, London: George Allen and Unwin.
Ryle, G. (1963), The Concept of Mind, Harmondsworth: Penguin Books.
Sabine, G. H. and Thorson, T. L. (1973), A History of Political Theory, Illinois: Dryden.
Sahlins, M. (1974), Stone Age Economics, London: Tavistock Publications.
Sartre, J.-P. (1968), ‘Materialism and Revolution’, in Literary and Philosophical Essays, London: Hutchinson.
Sayers, S. (1980), ‘Forces of Production and Relations of Production in Socialist Society’, in Radical Philosophy, 24.
Schmidt, A. (1971), The Concept of Nature in Marx, London: New Left Books.
Schmitt, R. (1983), ‘What Classes Are: Bolshevism, Democracy and Class Theory’, in Praxis International, vol. 2, no. 4.
Schumacher, E. F. (1974), Small is Beautiful: A Study of Economics as if People Mattered, London: Abacus.
Schumpeter, J. A. (1976), Capitalism, Socialism and Democracy, London: George Allen and Unwin.
Sennet, R. (1970), The Uses of Disorder: Personal Identity and City Life, New York: Vintage Books.
Sharp, G. (1973), The Politics of Nonviolent Action, Massachusetts: Porter Sargent.
Shatz, M. S. (ed.) (1971), The Essential Works of Anarchism, New York: Bantam Books.
Shaw, W. H. (1978), Marx’s Theory of History, London: Hutchinson.
Simmel, G. (1950), ‘The Metropolis and Mental Life’, in The Sociology of Georg Simmel, trans. Kurt H. Wolff, Illinois: The Free Press.
(1968), ‘How is Society Possible?’, in Essays on Sociology, Philosophy and Aesthetics, New York: Harper.
(1978), The Philosophy of Money, London: Routledge and Kegan Paul.
Singer, P. (1980), Marx, Oxford: Oxford University Press.
Skillen, A. (1977), Ruling Illusions, Brighton: Harvester Press.
Skocpol, T. (1979), States and Social Revolutions: A Comparative Analysis of France, Russia and China, Cambridge: Cambridge University Press.
Smith, S. A. (1983), Red Petrograd: Revolution in the Factories, 1917–1918, Cambridge: Cambridge University Press.
Steedman, I. (1977), Marx after Sruffa, London: New Left Books.
(1981), ‘Ricardo, Marx, Sraffa’, in The Value Controversy, London: Verso.
Stimer, M. (1971), The Ego and His Own, London: Jonathan Cape.
Suchting, W. (1982), ‘ “Productive Forces” or “Relations of Production” in Marx’, in Analyse and Kritik, 4.
Sweezy, P. (1970), The Theory of Capitalist Development: Principles of Marxian Political Economy, New York: Modern Reader Paperback.
— (1981), ‘Marxian Value Theory and Crises’, in Ian Steedman et al., The Value Controversy, London: Verso.
Taylor, C. (1978), Hegel, Cambridge: Cambridge University Press.
Taylor, M. (1976), Anarchy and Cooperation, London: John Wiley.
(1982), Community, Anarchy and Liberty, Cambridge: Cambridge University Press.
Thomas, P. (1980), Karl Marx and the Anarchists, London: Routledge and Kegan Paul.
Thompson, E. P. (1978), The Poverty of Theory, London: Media.
Titmus, R. M. (1970), The Gifi Relationship: From Human Blood to Social Policy, London: George Allen and Unwin.
Todaro, M. P. (1981), Economic Development in the Third World, London: Longman.
Tolstoy, L. (1968), On Civil Disobedience and Non-Violence, New York: Signet.
Tourraine, A. (1974), The Post-Industrial Society, trans. Leonard F. X. Mayhew, London: Wildwood House.
Trotsky, L. (1972), The Revolution Betrayed: What is the Soviet Union and Where is it Going?, New York: Pathfinder.
Tucker, D. F. B. (1980), Marxism and Individualism, Oxford: Basil Blackwell.
Tucker, R. C. (1964), Philosophy and Myth in Karl Marx, Cambridge: Cambridge University Press.
Uno, K. (1980), Principles of Political Economy: Theory of a Purely Capitalist Society, Brighton: Harvester Press.
Walter, N. (1977), About Anarchism, London: Freedom Press.
Ward, B. and Dubos, R. (1972), Only One Earth: The Care and Maintenance of a Small Planet, Harmondsworth: Penguin Books.
Ward, C. (1966), ‘Anarchism as a Theory of Organization’, in Anarchy, 62.
(1982), Anarchy in Action, London: Freedom Press.
Watkins, J. W. N. (1973), ‘Ideal Types and Historical Explanation’, in John O’Neill (ed.), Modes of Individualism and Collectivism, London: Heinemann.
Weber, M. (1970), From Max Weber: Essays in Sociology, trans. H. H. Gerth and C. Wright Mills, London: Routledge and Kegan Paul.
Wilde, O. (n.d.), The Soul of Man Under Socialism, New York: Oriole Chapbooks.
Williams, B. (1962), ‘The Idea of Equality’, in Peter Laslett and W. G. Runciman (eds.), Philosophy, Politics and Society (second series), Oxford: Basil Blackwell.
Williams, R. (1977), Marxism and Literature, Oxford: Oxford University Press.
Winch, P. (1963), The Idea of a Social Science and its Relations to Philosophy, London: Routledge and Kegan Paul.
Wittgenstein, L. (1974), Philosophical Investigations, trans. G. E. M. Anscombe, Oxford: Basil Blackwell.
Wolff, R. P. (1976), In Defence of Anarchism, New York: Harper and Row.
Wolin, S. S. (1966), Politics and Vision: Continuity and Innovation in Western Political Thought, Boston: Little, Brown and Co.
Wood, A. W. (1981), Karl Marx, London: Routledge and Kegan Paul.
Woodcock, G. (1975), Anarchism, Harmondsworth: Penguin Books.
(ed.) (1977), The Anarchist Reader, London: Fontana.
Wright, E. O. (1978), Class, Crisis and the State, London: New Left Books.
(1980), ‘Varieties of Marxist Conceptions of Class Structure’, in Politics and Society, vol. 9, no. 3.
(1982), ‘The Status of the Political in the Concept of Class Structure’, in Politics and Society, vol. 11, no. 3.
(1983), ‘Capitalism’s Futures’, in Socialist Review, 68.
(1986), ‘What is Middle About the Middle Class?’, in John Roemer (ed.), Analytical Marxism. Cambridge: Cambridge University Press.
Zawadzki, B. and Lazarsfield, P. (1935), ‘The Psychological Consequences of Unemployment’, in Journal of Social Psychology, 6.
Zeitling, I. M. (1981), Ideology and the Development of Sociological Theory, New Jersey: Prentice-Hall.
[1] This is Marx’s term. Regarding masculine and feminine pronouns, throughout our argument we adopt the following conventions: the military is viewed as if it were comprised only of men, hence a soldier is referred to as ‘he’; capitalist exploiters are regarded as being mainly (though not exclusively) male, hence a bourgeois is referred to as ‘he (or she)’; the oppressed are viewed as if they consist of virtually equal numbers of both sexes, hence a worker is referred to as ‘he or she’. This does not in any way imply that both sexes are oppressed equally.
[2] Engels uses the term ‘historical materialism’, which he applies to the theory offered by Marx and himself, ‘to designate that view of the course of history which seeks the ultimate cause and the great moving power of all important historic events in the economic development of society, in the changes in the modes of production and exchange, in the consequent division of society into distinct classes, and in the struggles of these classes against one another’ (Engels, 1970d, pp. 382.-3).
[3] It must be doubted that Marx entertained as radical a solution as that which Proudhon opens up. In his most libertarian work, Marx writes of the Paris Commune of 1871: ‘The few but important functions which still would remain for a central government were not to be suppressed, as has intentionally been misstated, but were to be discharged by Communal, and therefore strictly responsible agents’ (CWF, p. 210). This suggests, at best, representative and not direct democracy. It might, however, be objected that Marx’s comments on the Paris Commune are little more than generous praise for a particular nineteenthcentury government and that it should not be assumed that he regarded the ‘Communal constitution’ as a prototype for the ideal society. But Marx believed that human emancipation is completed when administration is restored to the social body and there is no longer a state above society (see JQ, p. 234). And this is precisely what he claims of the ‘Communal constitution’: ‘The Communal constitution would have restored to the social body all the forces hitherto absorbed by the state parasite feeding upon, and clogging the free movement of, society’ (CWF, p. 211).
[4] Though sympathetic to Marxism, G. A. Cohen admits that ‘if the “crisis of resources” is as serious as some say, it is a genuine threat to the realization of forms of communism which depend upon a radically reduced working day, for those forms require astronomically high levels of productive power’ (1978, p. 61). Moreover, the expansion of the realm of natural necessity poses another problem: ‘The possibility that technological advance expands the realm of necessity more than it contracts it — by requiring more labor-time to meet the needs it develops than labor-time it sets free by labor-saving devices — never occurs to Marx. Herein lies an unseen potential contradiction in his theory whose importance cannot easily be overestimated. At stake is his most central claim, that technological growth and human liberation proceed hand in hand’ (McMurtry, 1978, p. 52n).
[5] Figure 2.1 is in part developed from Cohen (1970) pp. 124–5 (but see note 22 below and the Appendix). Umberto Melotti writes: ‘Structure and superstructure taken together form a social-economic formation, a historically delimited structure such as Asiatic, classical, feudal or modern bourgeois society, with an anatomy moulded... by the particular (or rather the dominant) mode of production in that society, so much so that Marx often uses “mode of production” as a metaphor for the social-economic formation’ (1977, p. 4). Perhaps ‘metonym’ would be more appropriate than ‘metaphor’. ‘Mode of production’ in Figure 2.1 should be so construed.
[6] As Martin Nicolaus observes: ‘...it is not technology which compels the capitalist to accumulate, but the necessity to accumulate which compels him to develop the powers of technology’ (1972, p. 324).
[7] What might this look like? Consider the development of underdevelopment: international market relations of dependency introduce technologies which further that dependency (for example, imperialist countries export to dependent countries machinery which requires maintenance by technicians from the imperialist country; loans for the introduction of technology further the relation of dependency; and so on).
[8] As an example, take capitalism, which does not in fact meet scarcity in accordance with rationality (except in an economist’s denuded sense of the term). Building in obsolescence in order to avoid saturating one’s market is a peculiar example of meeting scarcity. And capitalism does at times go so far as to dump into the sea some of its products (wheat) even in the face of acute world shortages, rather than meet such scarcity.
[9] It might be objected that the fact that Nazi Germany lasted for only twelve years deprives it of refutatory interest. However, for this to be the case, one would have to be able to argue cogently that Nazi Germany could only have lasted for a short period of time. Moreover, a more durable example could be used in its place: namely, the effect on the Soviet economy which has resulted from the Soviet Union having to compete militarily with the United States. What is more, it is precisely the fact of military competition which Marxists have frequently cited in their attempts to explain away undesirable features of post-Revolutionary Russia (see, for example, Bahro, 1978, p. 134).
[10] Moreover, as H. B. Acton points out: ‘If the rest of society depends upon technology and science, and if the future of them is not predictable, then the future of society as a whole is not predictable’ (1962, p. 171).
[11] For a similarly unsuitable reading, see Rader (1979), p. 86.
[12] And Marx distinguishes between bees and architects precisely in this manner (see Cl, p. 284).
[13] Thus, ‘although it can be established a priori that material production is a necessary condition for social life, it cannot be established a priori that it is an ultimately determining one’ (Bhaskar, 1979, p. 126).
[14] On some problems in distinguishing between ‘ideological’ and ‘productive’ occupations, see Plamenatz (1975), p. 48. John McMurtry insists that ‘a force of production is anything that can be used to make a material use-value’ (1978, p. 55). But why must one concentrate on ‘material’ use-values? Why not on any usevalue, e.g. security? If a bulldozer carries out necessary demolition work, then it produces a ‘material use-value’. What about a canon? Why should the production of plastic giraffes to be found in breakfest cereals be historically more important than the production of explosions and fear by the military?
[15] What are we to make ofMarx’s claim that, ‘ofall the instruments of production, the greatest productive power is the revolutionary class itself (PP, p. 169)? Cohen’s gloss adds weight to our suspicion that Marx fails to make the required distinction: ‘The reference is to the power of a class to change society, rather than to turn raw material into a product’ (1978, p. 44).
[16] For further problems, see McMurtry (1978), pp. 11–16. Cohen attempts to answer these problems by claiming that, for Marx, the antonym of ‘material’ is not ‘mental’ but ‘social’. For a response to this, see the Appendix.
[17] As Marx writes: ‘...regulation and order are themselves indispensable elements of any mode of production,if itis to assume social stability...’(quoted in ibid., p. 233).
[18] Hobbes describes a somewhat similar foundation of political power (see 1962, passim). However, Hobbes’ story leaves out the belief in authority which is also a sufficient condition for political power.
[19] Why, then, would they invade? It is conceivable that a conqueror might subjugate others in order to impose certain religious practices on them. Consequently, political relations do not necessarily exist because they are needed for production.
[20] Marx may well have abandoned the theory of immiseration sometime after 1848. However, the theory is worth discussing since immiseration could, possibly, lead to revolutionary activity. If tlie other two major theses fail, the theory might still suggest a stimulus for revolution. Marxists might then be tempted to revert to it.
[21] This issue is dealt with theoretically in the next chapter.
[22] The same can be said for workers in Eastern European countries (see Bahro, 1978, p. 264). It should be noted that we prefer to use the terms ‘Third World’, ‘underdeveloped countries’, etc. interchangeably. This is to avoid being bogged down by the implications of choosing one theoretically-laden term, rather than another.
[23] And if one did develop, it would be because it could be better exploited than the westernproletariat. However,’less noted is the effect that...foreign investment, and the possibility of... foreign investment, has on the home country: blocking regulations of, and working-class gains against, capital by providing “better climates for investment” to which “flights of capital” can be made whenever any limits on profit maximization are raised at home’ (McMurtry, 1978, pp. 92-3n). This might lead to a proletariat in the underdeveloped nations (and it might lead to immiseration in the developed world), but the price is competition between the First and Third World proletariats for investment and jobs. Such international class competition hardly leads us to expect the development of an international class consciousness. In other words, a proletariat in the underdeveloped world and a global revolutionary class consciousness is an unlikely combination.
[24] Gunder Frank writes: ‘It is fruitless to expect the underdeveloped countries of today to repeat the stages of economic growth passed through by modern developed societies, whose classical capitalist development arose out of precapitalist and feudal society. The expectation is entirely contrary to fact and beyond all real and realistically theoretical possibility’ (ibid., p. xii). Marx, however, seems to have assumed a quite different scenario: ‘It is a question of these laws.... of these tendencies winning their way through and working themselves out with iron necessity. The country that is more developed industrially only shows, to the less developed, the image of its own future’ (C1, p. 91).
[25] In contrast to the immiseration theory, J. C. Davies has argued that revolutions are most likely to occur after a period of economic growth has suddenly been curtailed. The frustrating of rising expectations is, in his opinion, more likely to enhance rebellious behaviour than ever greater immiseration occurring expectedly and progressively (see 1962, pp. 5–19). We are not saying that immiseration cannot lead to revolutionary activity, only that it should not be taken for granted that it will.
[26] Cohen, however, does not consider the productive forces to be part of the base. In his view they are situated ‘below’ the economic base (see 1986, p. 14).
[27] The sociologist Alain Touraine believes that such a society is already with us (see 1974, especially p. 27).
[28] ‘Every step in the labor process is divorced, so far as possible, from special knowledge and training reduced to simple labor. Meanwhile, the relatively few persons for whom special knowledge and training are reserved are freed so far as possible from the obligations of simple labor. In this way, a structure is given to all labor processes that at its extremes polarizes those whose time is infinitely valuable and those whose time is worth almost nothing. This might even be called the general law of the capitalist division of labor’ (Braverman, 1974, pp. 82–3). It might be objected that this development is limited, and claims that it is not ignore workers’ resistance to de-skilling. However, in order to predict with any certainty that a desirable post-capitalist society will arise, it would have to be shown that workers’ resistance will always be, for the most part, successful.
[29] Moreover, ‘workers in each industry today are far less capable of operating that industry than were the workers of a half-century ago, and even less than those of a hundred years ago’ (ibid, p. 231). And as Marx writes: ‘...the co-operation of wage-labourers is entirely brought about by the capital that employs them. Their unification into a single productive body, and the establishment of a connection between their individual functions, lies outside their competence’ (C1, p. 449).
[30] The following suggests that he might be: ‘It is indeed the characteristic feature of the capitalist mode of production that it separates the various kinds of labour from each other, therefore also mental and manual labour.. and distributes them among different people. This however does not prevent the material product from being the common product of these persons’ (quoted in Gorz, 1976, p. 184). This is consistent with his remarks about the ‘collective worker’ where he insists that ‘it is quite immaterial whether the job of a particular worker, who is merely a limb of the aggregate worker, is at a greater or smaller distance from the actual manual labour’ (RIP, pp. 1039–40). From this it could be concluded that the solution to class antagonisms is for the ‘collective worker’ to re-appropriate its products by overthrowing the bourgeoisie.
[31] As Gorz writes: ‘ “Scientific” work organization is above all the scientific destruction of any possibility of workers’ control’ (1976, p. 171).
[32] For a list of the relevant features of alternative technology, see Robin Clarke’s description of ‘soft’ technology in Dickson (1974), pp. 103–4.
[33] ‘No social order ever perishes before all the productive forces for which there is room in it have developed; and new, higher relations of production never appear before the material conditions of their existence have matured in the womb of the old society itself (59P, p. 390).
[34] If, as we would claim, an alternative technology must be introduced in order for the workers to be in control of production, and if, as appears likely, such a technology requires experts to introduce it, how can one hope for desirable social transformation, given that it is not in the interest of the techno-bureaucracy to introduce such a technology? The answer is that ‘renegades’ from the technobureaucracy could make available a technology which did not require experts to operate or maintain. If the workers took control of such a technology, future equality could be guaranteed. Future equality is not guaranteed by relying on the class of experts using capitalist-developed technology which obstructs control by the workers themselves, and by having to rely on that class continually distributing the fruits of technology to the workers. This is because the experts might easily come to distribute the fruits to themselves at some future time. The workers might be unable to control the techno-bureaucratic class when it is fully ascendent. Fortunately, they might now be in a position to make use of what renegades from that emerging class could make available.
[35] Capitalism has moved people off the land and separated agriculture from industry in much of the world. According to Marx, ‘British steam and science uprooted, over the whole surface of Hindustan, the union between agriculture and manufacturing industry’ (1973b, p. 304). Again, we are not relying on drawing attention to facts which Marx was unaware of. He saw the need for a rural/industrial synthesis but thought capitalism would provide the requisite material base for it, even though he also observed it to divorce agriculture from manufacturing industry.
[36] Cohen: ‘Classes are permanently poised against one another, and that class tends to prevail whose rule would best meet the demands of production.... The class which rules through a period, or emerges triumphant after epochal conflict, is the class best suited, most able and disposed, to preside over the development of the productive forces at the given time’ (1978, pp. 292, 149). And Cohen can cite Marx in his favour: ‘The conditions under which definite productive forces can be applied are the conditions of the rule of a definite class of society’ (quoted in ibid.).
[37] Certainly, managers work under the authority of the bourgeoisie, whereas medieval burghers did not work under the authority of nobles. But, for Marxists, the crucial relationship is exploitation (see Roemer, 1982a, p. 105).
[38] As Jurgen Habermas writes: ‘.. Marx did not reckon with the possible emergence at every level of a discrepancy between scientific control of the material conditions of life and a democratic decision making process. This is the philosophical reason why socialists never anticipated the authoritarian welfare state, where social wealth is relatively guaranteed while political freedom is excluded’ (1971, p. 58).
[39] With regard to a new mode of production being indicated, Marx writes: A large part of the social capital is employed by people who do not own it and who constantly tackle things quite differently than the owner.... This is the abolition of the capitalist mode of production within the capitalist mode of production itself, and hence a self-dissolving contradiction, which primafacie represents a mere phase of transition to a new form of production’ (quoted in Miliband, 1972, p. 257n).
[40] On how such a substructure might be consolidated by technology, see Marcuse (1972), p. 130.
[41] Unilinearity might be disputed with regard to ‘hydraulic societies’ whose technology supposedly gives rise to an Asiatic mode of production’, which might not move onto feudalism (see Melotti, 1977; for a different view of ‘Asiatic’ societies, see Leach, 1959). But why, then, is Marx uncritical towards capitalist development, which also might not move in the right direction?
[42] Where, one might feel inclined to ask, does supply and demand fit into this? Marx writes: ‘Suppose supply and demand to equilibrate, or, as the economists call it, to cover each other. Why, the very moment these opposite forces become equal they paralyze each other, and cease to work in the one or the other direction. At the moment when supply and demand equilibrate each other, and therefore ceases to act, the market price of a commodity coincides with its real value, with the standard price round which its market prices oscillate. In inquiring into the nature of that value, we have, therefore, nothing at all to do with the temporary effects on market prices of supply and demand’ (WPP, p. 198). For Marx, value is that which (directly or indirectly) determines the proportions in which goods are able to exchange when supply and demand are in equilibrium. In order to offer an immanent critique, we shall remain within this problematic by trying to answer the question: At the point where supply and demand are in equilibrium, what determines the proportion in which goods exchange?
[43] However, it has been objected that ‘it is by no means inevitable that exchange be conceived as an equation. Exchange may be conceived as being equivalent, in the juridical sense, that is, that both parties to it agree to the equity of the terms of the exchange and receive what they were promised, but not as an equation (there not being any substantive entity between the things exchanged)’ (Cutler et al., 1917, pp. 13–14). We might also add that such essentialist assumptions as Marx reveals here are quite lacking in cogency to anyone familiar with the later work of Wittgenstein. See especially the discussion of games in Wittgenstein (1974), pp. 31–2.
[44] Interestingly, a recent attempt by John Roemer to develop further Marx’s theory of exploitation concludes that ‘if we wish to preserve the Marxian correspondence between exploitation and class, then we must adopt a definition of labor value...which renders values dependent on prices’ (1982a, p. 18). Yet Marx attempts to render prices dependent on values.
[45] Erik Olin Wright, however, is unconvinced by Marx’s argument. He writes: ‘It is unquestionably true that in physical terms the amount of machines, raw materials, buildings, etc., per worker has vastly increased with capitalist development. But the organic composition of capital is a value concept, and it is far from obvious that the value of constant capital per worker has risen or has a tendency to rise, especially in the later stages of capitalist development.... For the value of constant capital per worker to rise there must be a net excess of labour-saving technological innovations (innovations which substitute machinery for labour-power) over constant capital-saving innovations (innovations which substitute cheap machines — that require relatively little socially necessary labour-time to produce — for expensive machines)’ (1978, pp. 131–2). Clearly, technological advances develop both labour-saving and capital-saving kinds of machinery, as is seen in the case of Fujitsu Fanuc (see Gorz, 1982, p. 128). This suggests that a rising organic composition of capital is at best contingent.
[46] Hilary Putnam (1979, pp. 215–71) employs the device of describing a ‘Twin Earth’. We too shall describe a Twin Earth because it is a convenient method for treating hypotheticals or counterfactuals.
[47] See C3, pt. ii, passim, but especially pp. 254–7. However, Marx’s method has been criticized from within Marxist circles (see Steedman, 1981, p. 14).
[48] To see how this might have happened, assume that what is produced is such that one unit of the commodity will provide the means of subsistence for one worker, and 50 units constitute a luxury good. Formerly, 40 workers were required to make 100 goods, and therefore 40 of those units provided their subsistence. After the technical breakthrough, only one worker was required to produce 100 goods. Now 99 out of every 100 goods produced must be surplus-product. In value terms, one unit must now be equal in value to the value of his or her subsistence requirements.
[49] On special surplus-profit, see Uno (1980), pp. 85–6. It should be noted that those reaping special surplus-profit must, in effect, enjoy a higher rate of exploitation than everyone else even though the real wage and the length of the working day remain the same.
[50] Similarly, with restraints on competition there is no longer the structural problem found in capitalism whereby each employer in wishing to maximize his (or her) profits drives down the wages of his (or her) own workforce while requiring other workers to be able to purchase his (or her) products. The purchasing power of the proletariat as a class is limited by the individual actions of the capitalists when competition obtains. (An argument of this form is to be found in G, pp. 419–20). ‘National’ or monopoly capitalism would be in the position of being able to assess rationally the required wages so as to maximize profits (cf. Itoh, 1980, pp. 134–5).
[51] Cf. Uno (1980), p. 53. This shows us the answer to the following remark by Paul Sweezy: ‘What is the significance of monopoly for the problems of crisis and depression? In so far as the rate of accumulation is increased, the effect obviously is to hasten the falling tendency of the average rate of profit and to strengthen underconsumption’ (1970, p. 277). But with no pressure to invest, the capitalist can consume and increase the demand for luxury goods.
[52] The tendency of the rate of profit to fall has recently been shown to be incoherent in competitive situations as a result of Okishio’s theorem (see Parijs, 1980, p. 10). The theorem assumes perfect competition and profit-maximization. With barriers to certain investments, capitalists may be forced to forgo profit-maximization. So, as monopolies develop, we cannot rely on this argument. The tendency of the rate of profit to fall requires a different critique when monopolization becomes the order of the day.
[53] Marx: ‘The point to remember here is only that capital creates no surplus value as long as it employs no living labour’ (G, p. 670).
[54] Compare with the following: ‘Machinery, like every other component of constant capital, creates no new value...’ (C1, p. 509).
[55] Smith does come close to saying this (see Meek, 1973, p. 67). However, Smith asks us to consider ‘ “that early and rude state of society...’’in which “the whole produce of labour belongs to the labourer.... The quantity of labour commonly employed in acquiring or producing any commodity”, therefore, would then be “the only circumstance which can regulate the quantity of labour which it ought commonly to purchase, command, or exchange for” ‘ (ibid., p. 70). But this does not mean that ‘in ancient times the quantity of embodied labour regulated the quantity of commandable labour (and therefore value)’ (ibid., p. 71n). It only means that embodied labour and commandable labour are, in such a case, equal in quantity. Moreover, our approach to the determination of value sidesteps an objection by Hilferding: ‘In the capitalist society it would be absurd to make “trouble” the measure of value, for speaking generally the owners of the products have taken no trouble at all, whereas the trouble has been taken by those who have produced but do not own them’ (1975, pp. 185–6).
[56] See Arthur (1979), passim. However, the growth of technical expertise suggests that there might be at least two categories of labour: (a) relatively homogenized manual labour; and (b) heterogeneous technical expertise which does not allow for reduction to mere labour-time. With heterogeneous labour, several ‘subjective’ factors may be relevant: It might be more preferable to purchase the object desired than to make it oneself, because of the effort of making it. A long time spent in easy work may be preferable to a short time spent in demanding work. One might be incapable of making the good through lack of knowledge or tools (hence the importance of the control of knowledge and capital). One might prefer not to take the risk of producing the good oneself. For heterogeneous expertise, the value would probably be the meeting-point of the various disultilities of self-production, given no alternative and cheaper supplier.
[57] One contender is proposed in Bortkiewicz (1975).
[58] Marx observes that ‘diamonds are of very rare occurrence on the Earth’s surface, and hence their discovery costs, on an average, a great deal of labourtime. Consequently much labour is represented in a small volume’ (C1, p. 130). But when a single mine is found, much less labour is required to extract diamonds from the earth. Yet the price does not fall correspondingly! What it is, in such a situation, which must determine the price of diamonds is the labourtime for others to find a mine. Marx, however, continues to talk of the socially necessary labour-time of the totality, and that must include those who have already found diamonds. To include these, however, would entail a drop in value as their labour-time to produce diamonds is considerably less than the labour-time of those who do not even know where diamonds are deposited in the Earth’s surface.
[59] For example: ‘Bakunin...does not understand a thing about social revolution, only the political phrases about it, its economic conditions do not exist for him’ (SA, pp. 561–2).
[60] We must stress, at this point, that we are not predicting full automation. We are discussing it because of the conceptual significance it has for a labour theory of value, and for the internal coherence of Marxism. We regard this approach as being justified in that Mandel accepts the validity of the law of the tendency of the rate of profit to fall because s/v can never reach infinity (the worker, if employed, will always spend part of the day producing his or her cost), whereas c/v can because of the possibility of full automation (see Mandel, 1973, pp. 49–50).
[61] Now, the reference to suppliers being tempted to move into a sector might appear problematic as it suggests that it is future, rather than current, economic behaviour which is important. However, Kozo Uno points out with respect to the labour theory of value that ‘a once-and-for-all purchase...does not confirm the value of a commodity; it is confirmed only when, in recurrent transactions at prices fluctuating in response to the forces of demand and supply, a central price emerges at which normal trade takes place’ (Uno, 1980, p. 9). Therefore, the CTV, in considering perceived disutilities of future work, is at no greater a disadvantage than the LTV, as both theories require long-term price projections in order to calculate value.
[62] Marx can only state that a monopoly can demand as much as others are able to pay (see, for example, WLC, p. 76). But demand may fall well below the amount people can pay. The CTV would enable a limit to be set below that amount; i.e. that price above which one would make the good oneself. This would be relevant given significant trends towards an informal or self-service economy. The CTV suggests that monopolies could turn consumers into producers — a point might be reached where there arises a move towards self-help or self-sufficiency. If labour-time were not regarded as being of major consequence, then disutility would need to be measured in terms other than labour-time. It is important to stress this because a singular focus on labour-time would lead to inadequate economic analyses if labour-time should lose its significance. If production mainly takes the form of assembly-line methods, where a worker can easily be shifted from one operation to another and, in consequence, the kind of labour is not qualitatively evaluated, then labour-time will be the major element in determining value. But a self-service economy may focus upon quite different factors; e.g. personal control and lack of subjection to experts, pleasantness or meaningfiilness of the labour involved, etc. Concerning the trends towards a self-service economy, see Gershuny (1978).
[63] Peter Singer writes: ‘Future capitalists will not find their profits drying up as they dismiss the last workers from their newly-automated factories’ (1980, p. 57). But Singer offers no arguments for this claim. We have attempted to show how it is that a fully automated factory can make large profits, and precisely where it is that Marx has gone wrong in assuming the contrary.
[64] Cf. ‘...the total sum of profit being equal to the total sum of surplus-value...’ (C3, p. 274); also: ‘Profit... , not of an individual capital at the expense of another, but rather as the profit of the capitalist class, concretely expressed, can never be greater than the sum of the surplus value’ (G, p. 767).
[65] As Sweezy writes: ‘... the total value produced by the social labour force is in no way increased by the formation of monopolies, and hence, the extra profit of the monopolist is in the nature of a transfer of values from the incomes of other members of society. Out of whose pockets does the extra profit of monopoly come...? Primarily from the pockets of his fellow capitalists’ (1970,pp. 272–3). The justification is from Marx: ‘The monopoly price of certain commodities would merely transfer a portion of the profit of other producers of commodities to the commodities with a monopoly price’ (quoted in ibid., p. 272).
[66] It should be noted that we are not rejecting a value/price distinction. One could easily pay a price larger than the labour-time necessary for oneself or a potential competitor to produce the commodity in question. As this, according to the complement theory, is the value, one would have paid a price higher than the commodity’s value.
[67] It might be objected that ‘national capitalists’ will still have to compete internationally. Hence, genuine monopolization will not have been reached. However, one group of Marxist-influenced economists using the economic model at Cambridge University have argued that what the future holds is a world where international trade will be severely limited as the world economy splits into regional spheres of influence (monopolies) to avoid the problems of competition.
[68] Note that we now choose one specific refinement of the complement theory. Different refinements are possible. Consequently, ‘the complement theory of value’ should be construed as a generic term indicating that value is determined by the complement. What the complement is the complement of could be specified in different ways according to different species of the complement theory: e.g. ‘the complement ofthe individual producer under consideration’, or, as here, ‘the complement of actual production’. If only the second species of the CTV is compatible with elementary price theory (as we would maintain), then as the LTV has been dismissed prior to this particular specification, we have not merely rejected the LTV from the standpoint of elementary price theory. Elementary price theory can be considered to be one species of the CTV. The LTV has been rejected from the standpoint of all complement theories.
[69] Richard Lipsey considers the case of a firm whose average cost curve over a certain range of production falls below the downward-sloping, rather elastic, short-run demand curve it faces over the same range, and notes that supernormal profits are available to it. ‘We may now ask about the long-run equilibrium of the industry. The firm... is earning super-normal profits and, if this firm is typical of the others in the industry, there will be an incentive for new firms to enter the industry’ (Lipsey, 1963, p. 217). The firm will then face less demand for its products, correspondingly the demand curve it faces will shift leftwards, and long-run equilibrium will be where the demand curve faced by the typical firm is tangential to its average total cost curve. But in a footnote he writes: ‘There has been considerable argument — much of it futile scholasticism — about which firm would be in the “tangency position”... if the industry is to be in equilibrium. If all firms are identical, then all firms will be in this position. If not, then the “typical” firm in the industry must be in the tangency position. But typical from which point of view? Typical clearly from the point of view of the expectations of new firms entering the industry. When new entrants judge the prospects as no more than normal, then the expansion will cease’ (ibid., p. 220). Talk of the typical firm in the industry is clearly confusing. It appears that it is the actual producer which is relevant. But when pressed, it turns out that the economists’ typical firm concerns a potential, not an actual, producer in the sector in question. But this is precisely the refined complement theory, and the CTV is overlooked because of a discussion of firms typical in the industry.
[70] For a discussion of the growth of monopolies see Mandel (1968), pp. 393–433. Unfortunately, Mandel mars this discussion by what follows it (pp. 433–7). He chides bourgeois economists for employing the term ‘oligopoly’. Mandel considers monopolies to prevail, and believes that they account for the emergence of super-profits. But he then goes on to state that monopoly capitalism exacerbates capitalist ‘contradictions’. He does so because crises occur due to the members of a ‘monopoly’ falling out and competing with each other! But in such a situation, monopolies would no longer prevail. Mandel cannot have it both ways. Either monopolies prevail, and there is no competition; or there is competition-induced crises, which indicates that monopolies are no longer evident. And the latter option cannot be used to demonstrate that monopoly capitalism is subject to crises. Thus, the difference between ‘monopoly’ and ‘oligopoly’ is far from a semantic quibble. Oligopolies can act as if they were monopolies and realize super-profits, but the members of an oligopoly can compete and undermine their potential advantage over the market. This is the situation which presently persists. But during periods of competition, some members of the oligopoly are thrown out of business or are taken over by another member. This is the tendency towards true monopolization, and monopolies, once achieved, are not subject to the internal divisions attendant upon oligopolies which provide a potential source of crises. We should, therefore, characterize the present stage of capitalist development as ‘oligopoly capitalism’.
[71] The reason why we have ignored Ian Steedman’s post-Sraffian critique of Marx is that it has as an underlying assumption: ‘All produced means of production are owned by the capitalists, whose money capital is mobile between industries. This mobility of money capital constantly tends to produce a uniform rate of profit’ (Steedman, 1977, p. 16). We have concentrated mainly on cases where there has been no such mobility of capital and where this assumption must be dropped.
[72] However, with no tendency towards homogenization, Marx’s labour theory of value encounters insurmountable difficulties because, ‘as soon as the heterogeneity of labour is allowed for, the value theory is seen to conflict with Marx’s law of the equalization of the rate of exploitation through society, unless the different sorts of labour are reduced to the homogeneous abstract human labour in proportion to their wage rates. This is a serious dilemma from the point of view of Marxian economists, because on the one hand different rates of exploitation among different classes of workers obviously are not compatible with Marx’s view of the polarization of society into two classes, capitalists and workers, and on the other, if different sorts of labour are converted into the abstract human labour in proportion to their wages, then the resulted value system depends on relative wages and hence Marx’s intention of obtaining an intrinsic value system completely independent of markets is not fulfilled’ (Morishima, 1973, pp. 180–1).
[73] Not only is the CTV a more general theory than the LTV, it has the added bonus of avoiding the transformation problem. This problem arises for the LTV because of a discrepancy between actual labour-time employed and market price. By regarding actual labour-time as irrelevant, the CTV avoids any such difficulty.
[74] It could, of course, be objected that our arguments are irrelevant as they do not apply to capitalism because capitalism is specified by competition. We do not object if the monopoly situations we have described are regarded as a new mode of production. However, our arguments would most certainly not be irrelevant. If monopolization constitutes a new mode of production but it is an extrapolation from Marx’s premises, what is left of Marx’s claim (noted in the previous chapter) that ‘the bourgeois relations of production are the last antagonistic form of the social process of production’ (59P, p. 390)?
[75] As an example of Marx’s tendencies towards a collectivist viewpoint in Capital: ‘The relationships of the private workers to the totality of social labour objectify themselves over against them and exist, consequently, for them in the forms of objects’ (Marx, 1976d, p. 37). For a modern example: ‘... in the social process of exchange a surface relation, exchange-value, becomes the form of appearance of an inner relation, the relation which connects individual labour to the total social labour’ (Banaji, 1979, p. 32).
[76] We might describe our standpoint as ‘interrelationist’. Interrelationism is thus the methodological position which claims that a whole and its parts can both be understood in terms of the way that a part is so related to its complement that the relevant whole is constituted. This is to be distinguished from methodological collectivism, which often claims that a part can be understood in terms of how it is determined by the whole of which it forms a part, and methodological individualism, which often claims that a whole can be understood in terms of its isolated parts. Both methodological collectivism and methodological individualism could be regarded as committing ‘category mistakes’ (see Ryle, 1963, pp. 17–18).
[77] For a discussion of the various notions of ‘class’ found in the works of Marx and Engels, see Ossowski (1979).
[78] Nicos Poulantzas has labelled such a class in modern capitalism the ‘new petit bourgeoisie’ (see 1978a, passim).
[79] Roemer tests the validity of what he calls the Class Exploitation Correspondence Principle, which states that ‘every producer who must hire labor to optimize is an exploiter, and every producer who must sell labor power to optimize is exploited’ (Roemer, 1982a, p. 15). He finds that this principle does not hold in the case of heterogeneous labour, where it is easily demonstrated that exploitation does not necessarily correspond to wealth. An important case of the development of heterogeneous labour results from the increasing need of capitalism for technical expertise in the development of the productive forces, and this is a factor which, as we saw in Chapter 2, Marx’s theory of history fails to take sufficient account of.
[80] For an indication of the extent of inequality in Eastern Europe, see Konrad and Szelenyi (1979), pp. 171–8.
[81] And the dominance proviso does not prevent us from having to describe A as exploiting B if it is the case that /I dominates B in some other respect.
[82] Roemer does in fact write that someone ‘is only exploited if there is no way he can possibly command, through his purchase of goods, labour value equal to his contributed labour’ (1982b, p. 269). He makes this remark whilst discussing what is evidently capitalist exploitation. But how is this remark compatible with needs exploitation? Distribution according to need differs from distribution according to contributed labour — a point stressed by Roemer in his acceptance of Marx’s distinction between lower and higher phases of communism (in the former, ‘a given amount of labour in one form is exchanged for the same amount in another’; CGP, p. 346; while in the latter, the principle is: ‘From each according to his abilities, to each according to his needs’; CGP, p. 347). Clearly, Roemer must have abandoned the above restriction on ‘exploitation’, because in terms of needs exploitation someone is exploited if he or she receives more value than his or her contributed labour, but also happens to need even more goods than he or she receives. Here it is the person who is, according to Roemer, ‘needs exploited’ who extracts another’s product.
[83] The importance of status in Eastern Europe can be gathered from the following: Tn linking earnings with a hierarchy of statuses based on diplomas, irrespective of the actual amount of work done, socialist wage policy leaves open only one road to advancement: To rise from worker status to that of white-collar employee. This cult of diplomas creates a unique, statussensitive, prestige-conscious ethos of work which filters down from the middle strata to the workers. A secondary-school graduate may refuse to type a letter because typists do not require a degree and so graduates are not supposed to be typists. The driver of a truck delivering chocolates will demand an unskilled helper, arguing that he did not go to all the trouble of learning to drive a truck just to carry boxes of candy from the truck to the store. A lathe operator expects to have a helper too, to bring him the boxes containing the parts he is to work on. Thus in the end every fifth worker is engaged simply in carrying materials from place to place, and so with uncanny consistency the productivity of labor remains low. Yet all this is only natural in a system of rewards where status is the important thing and wages are regulated not by labor supply and the demand for labor but by the possession of school diplomas’ (Konrad and Szelenyi, 1979, pp. 228–9).
[84] ‘By the coercion of property, or dominance in property, I mean the ability of capitalists to maintain capitalist property relations. Although the most proximate locus for maintaining property relations may appear to be ideological, and hence noncoercive, the ultimate locus is police power, usually embodied in the state’ (Roemer, 1982c, p. 376n).
[85] In this analysis, coercion is still necessary to produce Marxian exploitation and class. However, it suffices for the coercion to be at the point of maintaining property relations and not at the point of extracting surplus labor directly from the worker. Although coercion in the work place exists also in capitalism, such coercion is of secondary importance in understanding exploitation and class. It is a mistake to elevate the struggle between worker and capitalist in the process of production to a more privileged position in the theory than the differential ownership of productive assets’ (Roemer, 1982b, p. 266). We would reply that it is far from a mistake to elevate political and ideological struggle between exploiter and exploited to a prominant position in a satisfactory theory of class if ‘class’ denotes interest groups which are in a position either to dominate society or be dominated, and thus to exploit or be exploited.
[86] Konrad and Szelenyi write: ‘...it is permissible to speak of a class position of the intelligentsia only in societies where, in keeping with the principles of rational distribution as a mode of economic integration, intellectual knowledge by itself confers the right of disposition over the surplus product. Socialism then is the first social system in which expert knowledge emerges from society’s subconscious and becomes, by the end of the era of early socialism, more and more the dominant legitimating principle’ (ibid., p. 63).
[87] We might note some observations of Erik Olin Wright: ‘ “Socialist exploitation” in and of itself is... not likely to become the central principle of exploitation in any form of class structure. Status exploitation — or perhaps more appropriately..., “bureaucratic exploitation” — however, is intrinsically linked to a relation of dominance and can therefore be considered a basic principle of class relations. While according to traditional Marxism, socialism is not a new mode of production but rather a transition from a class society (capitalism) to a classless one (communism), the concept of bureaucratic or status exploitation suggests the existence of a form of postcapitalist relations, a new mode of production altogether’ (1982, p. 337n). However. Wright fails to give adequate attention to the role of the ideological, and he restricts domination to the production process — the result being his more recent retraction of his previous position and his acceptance of Roemer’s (see, for example, Wright, 1986, p. 119). We. on the other hand, do not confine to the production process the ideological or political dominance pertaining to our conception of ‘class’.
[88] This passage bears on our discussion of need. First, Roemer clearly acknowledges in the last sentence the Marxian post-scarcity thesis. This renders ‘needs’ in principle satiable, which, as we have seen, makes a nonesense of regarding distribution according to need as a fundamental principle. Second, to praise the increasing control over one’s labour supports our criticism of distribution according to a non-satiable (marginalist) conception of need which relies on a notion of the collective ownership of labour.
[89] Wright insists on democratic revolutionary strategies to avoid statism; yet, paradoxically, he also writes that ‘statism as a mode of production is oriented around accumulation rather than consumption, and given the economic backwardness of [Third World] countries, a growth-centred system of production was probably necessary. In any event, nothing in the present analysis should be taken as implying that a revolutionary break with capitalism in a third-world country that leads to a strengthening of statism is not progressive’ (1983, p. 117n). Consequently, unlike ours, his ‘is not a call for anarchism or for a reliance on “self-help’’ strategies. The state will play an essential role in any conceivable socialist transition...’ (ibid., p. 114n).
[90] Compare Marx’s pattern of diminishing classes discussed in section 2.8.
[91] Roemer writes that the ‘form of exploitation a Marxist would agitate against [is] the one which is next on the historical agenda for elimination’ (ibid., p. 249). He adds: ‘Historical agenda, that is, in terms of the possibilities opened up by the current development of the productive forces’ (ibid., p. 249n). But what concrete development of the productive forces in socialism leads to libertarian communism? Marxists might reply that there will be so much abundance as a result of their development that there will be little or no need for labour, so there will no longer be any reason for exploiting it. But such a scenario is quite unrealistic in a world of finite resources. By failing to tie liberation to any real or realistic development of the productive forces we are shown the fragility of Marxist revolutionary strategy and its inability to lead beyond authoritarian statist socialism.
[92] And so we might delimit the proletariat in the following way: it is that class in capitalism whose members (i) do not possess sufficient means of production to optimize except by hiring out their labour; (ii) do not possess significant supervisory capacity; and (iii) do not possess significantly privileged access to knowledge. ‘Significant’ is used here in the sense of ‘sufficient to facilitate exploitation’.
[93] As he explains: ‘...under the circumstances we are discussing, there would be the possibility and occasion would constantly arise for transferring an agitator or organiser who is at all capable from one end of the country to another. Beginning with short journeys on Party business at the Party’s expense, people would become accustomed to being maintained entirely by the Party, would become professional revolutionaries and would train themselves to be real political leaders’ (emphasis added; ibid., pp. 209–10).
[94] Can we refer to ‘production’ in this way? We might recall G. A. Cohen’s gloss on Marx’s remark (PP, p. 169) about the productive power of the revolutionary class: ‘The reference is to the power of a class to change society..(Cohen, 1978, p. 44).
[95] Cf. ‘... numbers weigh only in the balance, if united by combination and led by knowledge’ (Marx, 1974b, p. 81). But how are they to be led by knowledge?
[96] And there should be no mistake made as to where Lenin acquired this failure — from Marx and Engels. As Hal Draper writes: As late as March 1845 [Engels] referred, in the English Owenite paper, to the prediction by Marx “a year ago” of the union of “the German philosophers” and the German workers, a union now “all but accomplished”. He added: “With the philosophers to think, and the working men to fight for us, will any earthly power be strong enough to resist our progress?” ‘ (1977, p. 148). However, in his Critique of Hegel’s Philosophy of Right: Introduction, Marx writes that philosophy cannot be actualized without the abolition of the proletariat as a class. Draper uses this to claim that Engels is mistaken and that Marx actually means that the proletariat needs to be led by theory, not by philosophers. Because theory, rather than philosophers, would be thought to be actualized, Marx seems to be claiming that the proletariat should be led by theory. This is the basis of Draper’s rejection of Engels’ remark. But Marx also writes that ‘the head of this emancipation is philosophy, its heart is the proletariat’ (quoted in ibid.). Here, the distinction between philosophy and the proletariat as suggested by the body analogy clearly indicates that it is a separate organ — i.e. theorists - which will lead them. Draper is, therefore, unjustified in concluding that Marx’s collaborator and close friend, Engels, misunderstood Marx. (See, also, note 26 below.)
[97] For a discussion of the extent to which the potentially revolutionary sectors of society may be ahead of the ‘vanguard’, see Bookchin (1974), pp. 173–246. Our main caveat with Bookchin’s approach is his post-scarcity thesis. However, in so far as this is the main tenet which he shares with Marx, then that cannot be held against his critique of Marxism/Leninism by Marxists.
[98] As Andrew Arato and Paul Breines write: ‘Lenin soon began to speak of a state capitalism armed with the Taylor system not as the last stage of capitalism, but as the first stage of the dictatorship of the proletariat. His most famous statement on state capitalism and Taylorism came when discussing the opposition of Bukharin and other Left Communists to the re-establishment of the old forms of the capitalist state, an opposition basing itself on State and Revolution: “The need to destroy the old state...was a matter of yesterday.” Two years later in Economics of the Transformation Period Bukharin himself echoed this perspective when he argued that the demand for workers’ control was useful and important to dissolve capitalist discipline but was to be strongly rejected (and replaced with centralized control and planning), given the demands of socialist discipline. The authoritarian, militarized factory provided the second and final Bolshevik model of the primacy of the political dimension’ (1979, p. 153).
[99] Lukacs thus resembles Karl Mannheim in failing to appreciate that the intelligentsia has its own class interests. As Konrad and Szelenyi write: Tn its search for the existential bases of knowledge the sociology of knowledge, whether Marxist or non-Marxist, has usually assumed that intellectuals have been neutral instruments in the hands of different social forces. The question of what effect the interests of intellectuals, as intellectuals, had on the knowledge they cultivated was never asked. It was assumed that they had no effect. We believe that the Eastern European intellectual vanguard abused our epistemological innocence and, while pretending to carry out the “historical mission of the proletariat”, in fact gradually established its own class domination over the working class’ (1979, p. 3).
[100] A binary conception of ‘class’ tends to follow if membership of a class is determined by whether or not a single criterion is met.
[101] In State, Power, Socialism, Poulantzas suggests that ‘statism’ arose in the Soviet Union because Lenin sought a ‘sweeping substitution of rank-and-file democracy for representative democracy’ (1978b, p. 252). That Lenin ever had such intentions is seriously questioned in Brinton (1975). Brinton argues that Lenin wished, instead, to subjugate the soviets to the party. Poulantzas, in an earlier work, admits that the soviets were not originally under Bolshevik control (see 1973, p. 43), but the Bolsheviks sought to consolidate soviet power as a state. In actual fact, the fundamental mistake was for the masses to have expected all power to be given to the soviets from above, i.e. from an intellectual elite which manoeuvred for economic, political and ideological control.
[102] For example, ‘in a letter from 1871 Marx asserts that “Where the working class is not yet far enough advanced in its organization to undertake a decisive campaign against the collective power, i.e. the political power of the ruling classes, it must at any rate be trained for this by continual agitation against this power and by a hostile attitude towards the policies of the ruling class.” Trained by whom? Marx does not say. A few years earlier he had written to Engels about the importance of the International: “In the next revolution, which is perhaps nearer than it appears, we (i.e. you and I [sic]) will have this powerful engine in our hands.” These are not phrases that suggest the workers becoming active, autonomous subjects’ (Elster, 1985, pp. 369–70). Moreover, if the struggle against the bourgeoisie is carefully ‘guided’ by a techno-bureaucratic elite so as to ‘educate’ the proletariat in a specific way (as Lenin seems to demand), then the ‘knowledge’ which the proletariat comes to accept in the course of the struggle may well not be its own. Instead, it may well be techno-bureaucratic ‘knowledge’.
[103] As Perry Anderson writes: ‘Fundamentally, Marx left behind him a coherent and developed economic theory of the capitalist mode of production, set out in Capital, but no comparable political theory of the structures of the bourgeois State, or of the strategy and tactics of revolutionary socialist struggle by a working-class party for its overthrow’ (1979, p. 4).
[104] One might oppose to Marx’s conception of power that of Michel Foucault: ‘We should admit rather that...power and knowledge directly imply one another; that there is no power relation without the correlative constitution of a field of knowledge, nor any knowledge that does not presuppose and constitute at the same time power relations’ (1979, p. 27).
[105] For pacifism, see Sharp (1973), especially Volume I. Some anarchists have extended this approach by stressing the possibility of creating alternative relationships between the oppressed, and hence ‘empowering’ them. This idea can also be found in the writings of André Gorz: ‘Taking power implies taking it away from its holders, not by occupying their posts but by making it permanently impossible for them to keep their machinery of domination running. Revolution is first and foremost the irreversible destruction of this machinery. It implies a form of collective practice capable of bypassing and superseding it through the development of an alternative network of relations’ (1982, p. 64).
[106] See (18B) p. 240. Engels was later to write that ‘Louis Napoleon founded the Empire...on the votes of the peasants and on the bayonets of their sons, the soldiers of the army’ (quoted in Draper, 1977, p. 402). As the peasants came to rebel against Bonaparte, his power would have to rest on the army — ‘their sons’ — rather than on their votes. But if this is what is meant by ‘representing a class’ or ‘resting on’ one, how are we to apply this today? If it is now the case that the sons of the proletariat compose the army, does the state represent the proletariat? Is this what is meant by ‘the dictatorship of the poletariat’?
[107] We might observe the way Engels sanctions this slavery within the production process in his essay ‘On Authority’: ‘If man, by dint of his knowledge and inventive genuis, has subdued the forces of nature, the latter avenge themselves upon him by subjecting him, in so far as he employs them, to a veritable despotism independent of all social organization. Wanting to abolish authority in a large-scale industry is tantamount to wanting to abolish industry itself, to destroy the power loom in order to return to the spinning wheel’ (1969b, p. 377). This, it must be pointed out, does not follow. One may wish to reject heavily centralized industry which is out of the control of the individual workers, and develop a decentralized industry which is not technically primitive. Marx and Engels thus fail to offer a genuine transcendence of the alienation of humanity — even the power of the deified commodity pales before such fetishism of technology.
[108] This is clearly true of any Marxist transition. It is ironic, therefore, that Rosa Luxemburg should write: ‘Generally speaking it is undeniable that a strong tendency towards centralization is inherent in the Social Democratic movement. This tendency springs from the economic make-up of capitalism which is essentially a centralizing factor.... It is by extreme centralization that a young, uneducated proletarian movement can be most completely handed over to intellectual leaders staffing a Central Committee’ (1961, pp. 85, 100–1). Trotsky’s account of the basis of bureaucratic rule is, therefore, inadequate: ‘The basis of bureaucratic rule is the poverty of society in objects of consumption, with the resulting struggle of each against all’ (1972, p. 112).
[109] And Marx can be thought to justify Lenin’s ‘vanguardist’ approach when he writes that ‘the political movement of the working class has...as its ultimate objective (Endzweck) the conquest of political power’ (Marx, Letter to Bolte, 23 November, 1817; quoted in Poulantzas, 1973, p. 43). Marx does not simply write that it is the working class which has the conquest of political power as its ultimate objective, but that it is the ’political movement of the working class’ which has that objective.
[110] Thus Lenin takes into account Marx’s warning that ‘the working class cannot simply lay hold of the ready-made state machinery, and wield it for its own purposes’ (CWF, p. 206).
[111] The oligarchical potential of the centralization of knowledge and expertise is revealed by no less a figure than Marx himself when he writes: ‘No other member of the Council knows enough about Irish affairs and possesses enough authority in the eyes of the English members of the General Council to be able to replace me in this matter’ (1974f, p. 167). This problem has had profound ramifications for ‘actually existing socialism’: ‘By the mere fact that certain sections, groups and strata claim for themselves, as their major occupation, a life-long universal and creative activity in politics, science and art, thus monopolizing that work which inherently leads to the development of the individual’s essential powers — by this fact they condemn other groups and strata to occupational limitation, if not to the stultification of their brains. And naturally enough, they project their decisive influence on the planning of investments, educational institutions and mass communications. Just as the bourgeoisie cannot imagine any future in which its own privileged position is not reproduced, so most of our politicians and functionaries, and our scientists and artists too, cannot imagine any perspective in which they no longer figure as privileged’ (Bahro, 1978, p. 181).
[112] ‘Without the guidance of experts in the various fields of knowledge, technology and experience, the transition to socialism will be impossible, because socialism calls for a conscious mass advance to greater productivity of labour compared with capitalism, and on the basis achieved by capitalism’ (Lenin, 1970, pp. 13–14).
[113] This view is not restricted to Lenin. As Marx writes: ‘...the economical subjection of the man of labour to the monopolizer of the means of labour, that is, the sources of life, lies at the bottom of servitude in all its forms, of all social misery, mental degradation, and political dependence’ (1974e. p. 82).
[114] It might be objected that significant political differences would not crystallize out if standing armies were to be replaced by the armed proletariat, this being a strategy espoused by both Marx and Lenin. However, Lenin stresses that Marx, in The Communist Manifesto, writes that the state machine is to be replaced by ‘the proletariat oiganized as the ruling class’ (quoted in Lenin, 1973, p. 48). How, then, is it to be organized? Lenin insists that it will not be organized federally, but centrally: ‘Marx... purposely emphasized the fact that the charge that the [Paris] Commune wanted to destroy the unity of the nation, to abolish central authority, was a deliberate fake’ (ibid., p. 63). But with ‘central authority’ retained, our conscript army example reveals that arming the proletariat does not guarantee its political emancipation. The Bolsheviks may have preferred the armed proletariat to a standing army loyal to the Tsar. But this would not be genuinely libertarian if the proletarian armed force could be so ‘organized’ that political power remained at the centre of the ‘workers’ state’.
[115] Trotsky writes: ‘Two opposite tendencies are growing up out of the depths of the Soviet regime. To the extent that, in contrast to decaying capitalism, it develops the productive forces, it is preparing the economic basis of socialism. To the extent that, for the benefit of an upper stratum, it carries to more and more extreme expression bourgeois norms of distribution, it is preparing a capitalist restoration. This contrast between forms of property and norms of distribution cannot grow indefinitely’ (1972, p. 244). However, the forms of distribution are not bourgeois, but techno-bureaucratic. Soviet society is not, therefore, a contradiction between capitalism and socialism; it is a new techno-bureaucratic mode of production with norms of distribution appropriate to the skill and status differentials corresponding to developed productive forces. Lacking the concept of a ‘techno-bureaucracy’, Trotsky sees a contradiction where none exists.
[116] And the precedent is again set by Marx: ‘Moreover, the Congress decision empowers the General Council to co-opt members whose cooperation it regards as necessary and useful for the good of the common cause. Let us trust to their good judgement and expect that they will succeed in selecting people who are up to the task and who will know how to hold up the banner of our -Association with a firm hand in Europe’ (1974c. p. 325). And should the General Council co-opt Joseph Stalin...?
[117] The deficiencies of the Marxist theory are evident in Engels when he writes: ‘While the great mass of Social-Democratic workers hold our view that state power is nothing more than the organization with which the ruling classes, landlords and capitalists have provided themselves in order to protect their social prerogatives, Bakunin maintains that it is the state which has created capital, that the capitalist has his capital only by favour of the state. As, therefore, the state is the chief evil, it is above all the state which must be done away with and then capitalism will go to hell of itself. We, on the contrary, say: do away with capital, the appropriation of the whole means of production in the hands of the few, and the state will fall away of itself. The difference is an essential one’ (Marx and Engels. 1934, pp. 319–20).
[118] However, they were by no means unqualified. In a letter to F. Domela-Nieuwenhuis he remarked that ‘the majority of the commune was in no wise socialist, nor could it be’ (Marx and Engels, 1956a, p. 410).
[119] Marx no doubt believed that the elements of the new society would be desirable. Nevertheless, in saying that the proletariat only needs to release the elements of the new society already present in the old one, anything which Lenin does (while at the head of a revolutionary form set free with the collapse of Russian capitalism) is, in effect, tacitly condoned by Marx. Hence, one cannot criticize authoritarian Leninism without similtaneously criticizing Marx.
[120] There is some support for this in the following: ‘The working class, in the course of its development, will substitute for the old civil society an association which will exclude classes and their antagonism, and there will be no more political power properly so-called, since political power is precisely the official expression of antagonism in civil society’ (emphasis added; PP, p. 170).
[121] This is not an uncharacteristic argument; cf. ‘Instead of the unspecific closing phrase of the paragraph, “the removal of all social and political inequality”, it should have been said that with the abolition of class distinctions all forms of social and political inequality will disappear of their own accord’ (CGP, pp. 352–3). Marx’s thesis is here stressed by his objection to a proclamation of opposition to social and political inequality per se. He objects to it because concentrating one’s opposition on social and political inequalities suggests that they might be independent of (economic) class antagonisms.
[122] It should be noted that Hegel considered himself to be describing more than the ethical justification of the state. Our point is, however, that removed from his idealist philosophy, all that Hegel’s observation on the relationship of the state to a fragmented civil society actually boils down to is an ethical justification of the state. And it is precisely the extrication of Hegel’s observation from an idealist setting which Marx attempts.
[123] And as Bahro writes: ‘Just as a worker under capitalism not only improves his own conditions of existence by good and responsible productive activity, as well as the general conditions, within the limits given by the system, but above all expands capital, so under actually existing socialism he increases the potential for the party and state machine’s power of disposal, and thus increases his own impotence in relation to it’ (1978, p. 241).
[124] Can the state serve its own interests? That it can is revealed by a study of African Third World countries ‘where an economically dominant class or group, or a number of such classes or groups, did not exist before the establishment of a “new” state in place of a colonial regime.... The point is... that the element which is absolutely basic in the classical Marxist view of the state, namely an economically dominant class, is not to be found here, in any meaning that makes real economic, social, and political sense. This being so, the question at issue is what the state power in these societies actually “represents”, and what its nature and role may be said to be.’ Miliband’s answer is that ‘in such societies, the state must be taken mainly to “represent” itself, in the sense that those people who occupy the leading positions in the state system will use their power, inter alia, to advance their own economic interests.... In such cases the relation between economic and political power has been inverted: it is not economic power which results in the wielding of political power and influence and which shapes political decision making. It is rather political power (which also means here administrative and military power) which creates the possibilities of enrichment and which provides the basis for the formation of an economically powerful class, which may in due course become an economically dominant one’ (Miliband, 1977, pp. 108–9). This not only describes certain Third World countries, but also the history of Bolshevism.
[125] The dotted line is employed to suggest that a voluntaristic change of historical direction occurs at Rl in Figure 6.1c, rather than history following its ‘natural’ course as in Figure 6.1a.
[126] For example, consider Marx’s criticism of Bakunin: ‘He wants the European social revolution, founded on the economic basis of capitalist production, to take place at the level of the Russian or Slav agricultural and pastoral people. Will, not economic conditions, is the foundation of his social revolution...’ (SA, p. 562).
[127] If developed technology requires expert control, a libertarian communism could only be guaranteed by a revolutionary ‘will’ on the part of the workers, and the rejection of inappropriate technologies. Alternative technology can be mastered quickly by the workers so long as some technologists are willing to make it available. The problem with capitalist-developed technology is that it is able to preserve techno-bureaucratic inequality.
[128] The question can be raised whether Marx was wholeheartedly and unequivocally committed to the need for such direct workers’ control. Consider the following from his most libertarian and decentralist work: In reality, the Communal constitution brought the rural producers under the intellectual lead of the central towns of their districts, and these secured to them, in the working men, the natural trustees of their interests’ (CWF, p. 211). It is not so big a step from this to Leninism.
[129] Gavin Kitchin would denigrate such an approach as ‘populist’ (see 1982, p. 22). He describes Proudhon in such a manner. But he does not offer much in the way of a substantial critique of ‘populism’. His criticisms reduce to denying that China developed on populist lines, and exposing the difficulties which Tanzania experienced when it tried to put populist measures into practice, such as the creation of the Ruvuma Development Association. Kitchin complains: ‘...apparently as a result of the hostility of local state officials to this uncontrolled exercise in “utopian socialism”.... the autonomy of the RDA was effectively ended in 1969’ (ibid., p. 108). But it is either disingenuous to use this as a critique of those such as present-day Proudhonian mutualists, or it reveals a profound ignorance of one’s opponents. A major facet of anarchist thought has always been to point out that the state cannot be trusted to carry out a revolution to a libertarian communist society. It is Marxist revolutionary strategy which presumes that it can. To argue that grassroot change is likely to be obstructed rather than facilitated by state officials, such as happened in Tanzania, does not constitute an objection to the political theory of anarchism, but corroboration. Kitchin, however, is forced to acknowledge the impressive results of grassroot self-organization amongst South-East European peasants in the inter-war years (see ibid., pp. 56–8). This example not only refutes the assertion that a state is necessary to provide such things as ‘collective road building and irrigation construction and repair, rural electrification, food marketing and price regulation..., schools, libraries and adult literacy programmes’ (ibid., pp. 57–8), it stands in stark contrast to the little done for these peasants by their governments.
[130] It is instructive to compare our suggestions with the strategy outlined in Pratt and Boyden (1985). Marx might be thought to sanction some of our suggestions in his reply to Vera Zasulich concerning the Russian Mir (see 1970a, p. 153). However, the qualifications which Marx adds make it quite clear that he does not sanction the proposals we are offering: ‘It...finds itself in an historical environment where the concurrent existence of capitalist production provides it with all the conditions of collective labour. It is able to incorporate the positive achievements of the capitalist system without passing through its Caudine Forks. The physical configuration of the Russian land invites its cultivation with the use of machinery, organized on a large scale and carried on by co-operative labour’ (ibid., pp. 158–9). These remarks, when viewed in conjunction with what he says in his article ‘The Nationalisation of the Land’, clearly refer to the production developed in capitalist society. They also involve the rejection of the small-scale communities which the appropriate technology we should advocate could serve. And if such small-scale communities (which might be combined federally on ‘mutualist’ principles) are rejected, then it is difficult to imagine the kind of social integration which could solve the problem of alienation and satisfy our requirement of direct workers’ control.
[131] Consider Rudolf Bahro who, while being critical of the policy of further growth presently being pursued in ‘actually existing socialism’, writes:’...the policy of growth proves...to be a stabilising agency for the present relations of domination. The communist association, as a social body that will be master of its problems without having to strangle its individual members, can only be a system of quantitatively simple reproduction, or at most very slow and well thought out expanded reproduction, of men, tools and material goods. Only in this way can a relative surplus of the goods that are needed for life come into being on a world scale; given the continued dominance of the old economy with its permanent “revolution of rising expectations”, driven forward by the latest needs for luxury of the time, society must always be too poor for communism. On this basis, it will still be held against communists in a hundred years time that they wanted to make poverty universal’ (1978, p. 265). But this argument could have been stated a hundred years ago. Why, then, does Bahro assume ‘the need of developing countries to catch up’ (ibid.)? In point of fact, Bahro has come to reject this assumption, and with it his Marxism (see Bahro, 1984, p. 145).
[132] For resource consumption in general, see Meadows et al. (1972), p. 108. With regard to socialist countries, ‘economic planning in the GDR, for example, pursues the goal of a four-fold increase in commodity production in the years 1970–90, and with certain reservations almost as much in the consumption of raw materials’ (Bahro, 1978, p. 264).
[133] ‘We might estimate that if the 7 billion people of the year 2000 have a GNP per capita as high as that of present-day Americans, the total pollution load on the environment would be at least ten times its present value. Can the Earth’s natural systems support an intrusion of that magnitude?’ (Meadows et al., 1972. p. 84). The MIT team conclude that ‘if the present growth trends in world population, industrialization, pollution, food production, and resource depletion continue unchanged...the most probable result will be a rather sudden and uncontrollable decline in both population and industrial capacity (ibid., p. 23). If this conclusion is correct, then the Marxist approach is simply not feasible.
[134] Consider beef — approximately 21 units of high protein feed are required to produce 1 unit of high protein food (see Lappé, 1971, p. 6).
[135] For a study of those who have already chosen to change their behaviour in an appropriate manner, see Elgin (1981).
[136] As an example, take Fascism; Marx’s theory, instead of casting light on Fascist society, forces Marxists to regard it as a case of capitalism, albeit an exceptional case (see Poulantzas, 1979). Or take ‘communism’: because Marx predicts that the ideal future society will follow capitalism, Marxists on the whole are hopelessly adrift when it comes to analysing ‘actually existing socialism’. Is it state capitalism? Is it a perverted form of socialism? Marxists are prevented by their theory from seeing it as a new antagonistic mode of production.
[137] ‘...with admirable though misdirected intentions, they very seriously and very sentimentally set themselves to the task of remedying the evils that they see. But their remedies do not cure the disease: they merely prolong it. Indeed, their remedies are part of the disease’ (Wilde, n.d.. p. 2).
[138] To see how some content might be filled into this bare, abstract form, see Oppenheimer (1975), pp. 21–31.
[139] On the drive towards state-building in pre-capitalist societies, see Brenner (1986, pp. 31–2).
[140] The following might be considered candidates for a ‘superstructurally’ determined epochal transition:
(i) From pre-capitalism to capitalism: (a) Third World military dictatorships often encourage capitalist development in societies which are mostly precapitalist; (b) various monarchies in European feudal society backed cities in order to subvert the power of feudal lords.
(ii) From capitalism to post-capitalism: (a) Mussolini’s state created ‘socialized’ corporations; (b) the Bolsheviks replaced capitalists with one-man management in a planned economy.
[141] Those who consider Lenin to have been a libertarian could argue that he did not desire to implement authoritarian work relations but, instead, was forced to do so because of the need to extract the surplus required for resisting external aggression (for some support, see Lenin, 1970, pp. 5–6). But then we should have to prefer Figure 6.3b to Figure 6.3a, and it would be an odd defence of Lenin which required the abandonment of the Marxist model. Moreover, we might still want to ask: Why did Lenin choose techno-bureaucratic relations in order to extract the surplus required? From our discussion in Chapter 4 we could reply that having successfully attained governmental power as a result of a techno-bureaucratic organization of the party, Lenin considered it to be an efficient organizational structure, and therefore favoured its extension into the economy. And a significant proportion of the rest of the state, being bureaucratic, were predisposed to supporting such a strategy.
[142] Our model is thus compatible with Theda Skocpol’s analysis of the French, Chinese and Russian Revolutions which lead her to regard the nation-state as Janus-faced in so far as it looks outward to other competing states and inwards to its own (economic) class structure (see Skocpol, 1979, p. 284). It should be noted that we admit the possibility of governments (and even states) collapsing in a revolution. When this happens the question becomes: Which relations of production is it in the interest of any new (revolutionary or otherwise) government (or even state) to back? The point being that revolutionary governments, as much as the ones they replace, will select relations of production which are in their interests.
[143] How is it that governments fall so often, while states remain intact? We can answer by claiming that the rest of the state supports a change in government at certain conjunctures in order to maintain its hegemony. It even allows competing interests to be directly represented in the government. But this reply enables us to suggest that representative democracy may be more fragile than many pluralists think. We can claim that the state ordinarily has periodic changes in government only while the rest of the state is prepared to tolerate any new government. If, however, a government which the rest of the state is not prepared to accept is elected, and if the state is both militarily strong and not in desperate need of ideological support, then the military wing can easily remove such a democratically elected government the moment it tries to act contrary to the interests of the rest of the state. Chile would be a case in point. What should be noted is that if one misidentifies a part of the state (the government) with the state as a whole, then the fall of the Allende government appears to show that the state is relatively impotent. If. on the other hand, one keeps conceptually distinct ‘government’ and ‘state’, then the same event reveals the tremendous power of the state. Because the Allende government lacked the ability to control the rest of the state it was overthrown by another part of that state. The coup reveals the extent of the power which the military wing of the state possessed vis-à-vis the government and the people who elected it. This demonstrates the state’s vitality, not its weakness, and shows the importance of conceptual clarity when analysing political events. Consequently, we must reject as inadequate and potentially misleading those political theories which defend Marx, such as Richard Miller’s, in which ‘ “the state” [is] used interchangeably with “government” ‘ (1984, p. 108n).
[144] John Carroll writes that ‘Stirner applies his critique of ideology to social structure. He argues that the power of the state is essentially ideological, depending on the successful indoctrination of its subjects. He maintains that this leviathan would become redundant if its citizens realized that it acts in opposition to their individual interests, and that they have the power to organize themselves. Thus, with other anarchist theorists, he holds that the state is both repressive and superfluous.... The way to neutralize the state is to lay bare the illusions legitimating its power’ (1974, pp. 48–9). Is this so obviously ludicrous?
[145] We might describe our social goal as one of ‘co-operative autonomy’. This would be a society comprising autonomous individuals seeking and disposed towards co-operation, rather than competition. The methodological perspective we have termed ‘interrelationism’ could underpin co-operative autonomy. It would lead us to focus, not on the relations between individuals and a community which stood above them (and compared to which they were mere ciphers), nor on isolated individuals residing in their enclosed spheres of bourgeois rights and with no concern for anyone else, but on individuals relating to equally important others.
[146] Bakunin also saw the possibility of revolutions in predominantly peasant countries. Skocpol, because of her comparison of the French, Russian and Chinese Revolutions, rejects Marxist assumptions about the revolutionary nature of the peasantry being matginal. She observes that ‘peasant revolts have been the crucial insurrectionary ingredients in virtually all actual (i.e. successful) social revolutions to date’ (1979, pp. 112–13).
[147] ‘Materialism asserts the essential independence of reality from all thought’ (Ruben, 1979, p. 2).
[148] ‘We comprehended the concepts in our heads once more materialistically — as images [Abbilder] of real things instead of regarding the real things as images of this or that stage of the absolute concept’ (Engels, 1969a, p. 266).
[149] See Locke (1964), especially pp. 89 ff., and Berkeley (1962), especially pp. 65 ff. For the standard objection, see Russell (1961), p. 591.
[150] Popper claims Hume discovered that ‘it is impossible to justify a law by observation or experiment, since it “transcends experience” ‘(Popper, 1972, p. 54).
[151] In explaining the intellectual foundation of analytical Marxism, John Roemer writes that ‘the chequered success of socialism and the dubious failure of capitalism...are unquestionably the serious challenges to Marxism, as it was inherited from the nineteenth century. One response is to retreat to a Talmudic defence of the Word, and to find an interpretation which conforms with history as it has come to pass. Another is to deny what appear to be the historical facts. A third response is to reject Marxism as fundamentally wrong. The fourth response is to recognize that Marxism is nineteenth-century social science. As such, it is bound to be primitive by modern standards, wrong in detail, and perhaps even in some basic claims. Yet its power in explaining certain historical periods and events seems so strong that one feels there must be a valid core, which needs to be clarified and elucidated. One does not throw away a good tool because it fails in certain applications, especially if one lacks a better one. Instead, one asks: Why does this tool work well sometimes and not other times?’ (1986, p. 2). Suffice it to say that we believe the Marxist tool works well sometimes and not others because the third response is in fact the right one. Marxism is, we contend, fundamentally wrong, and when it works as a theoretical tool, it works not because it must have a valid core, but because it comprises a structure of special case theories. If this is so, the structure of general theories we have propounded is the better tool which Marxists lack. And the time has come to throw the Marxist one away.
[152] And (2) does not need to deny that Marx makes a material/social distinction. The technological productive forces are the material content of a social form which are both to be distinguished from the mental. This could constitute a tripartite distinction: material things; the relations in which they stand to one another; and the ideas we have about both. However, the material/social distinction need be no more than what Hume calls a ‘distinction of reason’ (see Hume, 1962, pp. 69–70). And the fact that we can make such a distinction of reason between machines and the relations in which they are situated does not commit us to the view that technology is outside of the economic structure, just as the fact that we can make a distinction between science and knowledge does not exclude the former from the latter.
[153] ‘... in our account of the economic structure ownership relations exhaust its constimtion’ (Cohen, 1978, p. 112).
[154] ‘Ownership’ in its ‘full liberal’ guise is an exceedingly complex conception. A. M. Honore lists eleven incidents of rights, liabilities, etc. (see Honore, 1961, p. 113). For clarification of the claims, duties, etc. which individuals have against each other with regard to a property, see Hohfeld (1966, pp. 96–7). The relations which constimte the economic structure consist basically of rights which the bourgeoisie and proletariat have against each other with regard to the forces of production. The bourgeoisie have rights against the proletariat with regard to the means of production; the proletariat have rights against the bourgeoisie with regard to labour-power. Both these relations are three-termed. But having pointed out that ownership relations are three-termed, we cannot but notice a problem when Cohen writes that ‘the bourgeoisie is a set of men defined as such by their emplacement in the economic structure’ (Cohen, 1978, p. 169). The bourgeoisie is one of these terms. It is ‘emplaced’ in the structure — a structure which is comprised of ownership relations. Why should it be included in the structure when the productive forces, one of the other terms, are excluded? As one of the terms — the bourgeoisie — is within the structure, on pain of inconsistency we must include the other terms as well.
[155] And this contradicts Cohen’s third reason for claiming Marx can exclude the forces of production from the base, which is that ‘a force or power — for productive forces may also be called “productive powers” — is not a relation’ (ibid., p. 28). A productive force may not be a relation, but Marx evidently thinks it is.
[156] We would ordinarily say that while the token was of the required type it formed part of the structure. Cohen could reply that this confuses the structure a bridge has with the structure a bridge is. A bridge’s girder might be part of the structure but, Cohen might retort, it is part of the structure which the bridge happens to be, not necessarily part of the structure which the bridge happens to have — and it is the latter which concerns Cohen. However, when in the 1859 Preface Marx writes that a political superstructure rises on an economic structure, does he mean the economic structure the base has or the economic structure the base is? We submit that the second is more plausible, and it is precisely this sense of ‘structure’ which warrants the claim that a token of a particular type forms part of the structure. How can anything rest on the structure an object has? Cohen, himself, gives as an analogy of the relationship between the base and superstructure a roof resting on supports (see ibid., pp. 231–2). Such a roof cannot rest on the structure its supports happen to have, only on the structure which they happen to be. This being said, when Cohen states that the bourgeoisie are ‘emplaced’ in the economic structure, is it the structure the base is, or has? We suggest that with respect to a particular social formation the bourgeois as an individual would have to be considered to be part of the structure which is its base, just as a girder is part of the structure which is a particular bridge. However, with regard to the structure which different social formations share, only the bourgeois as a type needs to be considered to be part of the structure. Parts-as-tokens are within structures-as-tokens (the structures objects are), whereas parts-as-types are within structures-as-types (the structures objects share).
[157] For historical materialism, what is supposedly relevant is not whether or not I replace a labourer’s spade with a new one, but whether I replace it with a concrete mixer. It is the latter change in type (rather than token) of productive force which constitutes a change in the ‘material’ mode of production.